
RWX73M 2-Way Wireless Magnetic and Door Contact
Installation Guide





GENERAL DESCRIPTION
The RWX73M is a 2-way supervised transmitter that combines Magnetic/Door contact against opening doors and windows with additional universal input.
The RWX73M operates with RISCO Group 2-Way wireless systems
MAIN FEATURES
- Communication: Bi-directional
- Range: up to 300 m (1,000 ft.) range line of sight
- Supervision: Up to 255 minutes
- Selective input termination: NO, NC, DEOL
- Selective input response: 10 / 500ms
- Tamper protection: Back + Cover
Operating Mode
The RWX73M reports events from IN1 and from the magnetic reed switch. In normal operation, a mode alarm is sent when the input or magnet is triggered. When restored, it transmits a restoral message
INSTALLATION
Step 1: Transmitter Receiver Communication Set Up The RWX73M must identify itself to the system’s receiver by writing its coded message into the receiver’s address memory.
This registration is performed either by entering the RWX73M’s 11-digit serial code number or by performing the following RF allocation steps:
- Remove the front cover (Fig 1)
- Set the main unit to Learn Mode.
- Remove the battery from the insulation material and reinsert it into the transmitter, paying attention to the polarity (Fig. 4).
- Send a written message by pressing both tamper switches (back and cover) for at least 3 seconds until panel recognition is displayed.
Step 2: Input Wiring
Use the following diagrams for appropriate input termination wiring. For DEOL termination connect two 10K Ohm resistors (supplied) illustrated as follows:

Step 3: Select The Mounting Location
- Select a location best suited for communication quality and near the intended wired detector. RISCO recommends you place the unit at the highest possible position.
- Temporarily attach the unit to this point using two-sided adhesive tape
- Generate an Alarm signal (by momentarily opening or closing the input terminals) and verify that the receiver has received the signal. If the alarm signal is not detected, reposition the transmitter and try again.
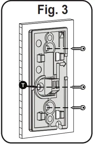
Step 4: Final Mounting (Figures 1,2 and 3)
- Separate the back part of the transmitter and mount all the parts in place (Fig. 2 and 3), including the middle back tamper mounting screw (T).
- Mount the magnet (Fig. 5).
Notes:
- The mark on the magnet’s plastic case should be aligned with the mark on the transmitter’s case (Fig. 6).
- For installations on wood or alloy, the maximum distance for normal operation is 10mm, while for metal ferromagnetic materials (iron) it is 5mm.
Step 5: Parameters
The following parameters can be defined for RWX73M:
| Parameter | Option |
| Supervision | Yes/No |
| LED Enable | Yes/No |
| Magnet | Enable/Disable |
| Alarm Hold | On/Off |
| Termination | IN1: NO/NC/DEOL |
| Response | 10ms/500ms |
LED INDICATION
- Upon successful learning: short flash sequence
- Normal operation: brief light upon transmission
- Low battery: short flash sequence during transmission
TECHNICAL SPECIFICATIONS
ELECTRICAL
| Battery Type: | CR123 3V Lithium Battery |
| Current Consumption: | 11µA standby |
| Frequency: | RWX73M86800A 868.65 MHz RWX73M43300A 433.92 MHz |
| Dead Time (HOLD ON): | 2.5 minutes |
| Supervision Transmission: | 0-255 minutes |
| Modulation Type: | ASK |
| Battery Life: | 3 years typical |
| Contact Size: | 32 x 35 x 72 mm (1.3 x 1.4 x 2.8 in.) |
| Magnet Size: | 16 x 11 x 72 mm (0.6 x 0.44 x 2.8 in.) |
ENVIRONMENTAL
| RF immunity: | According to EN50130-4 |
| Operating temperature: | 0°C to 40°C (32°F to 104°F) |
| Storage temperature: | -20°C to 60°C (-4°F to 140°F) |
Specifications are subject to change without prior notice.
Should any questions arise please contact your supplier?

RTTE Compliance Statement
Hereby, RISCO Group declares that this equipment is in compliance with the essential requirements and other relevant provisions of Directive 1999/5/EC. For the CE
Declaration of Conformity please refer to our website: www.riscogroup.com
EN 50131-2-6 Grade 2 Environmental Class II
RISCO Group Limited Warranty
RISCO Group and its subsidiaries and affiliates (“Seller”) warrant its products to be free from defects in materials and workmanship under normal use for 24 months from the date of production. Because the Seller does not install or connect the product and because the product may be used in conjunction with products not manufactured by the Seller, The seller cannot guarantee the performance of the security system which uses this product. Seller’s obligation and liability under this warranty is expressly limited to repairing and replacing, at Seller’s option, within a reasonable time after the date of delivery, any product not meeting the specifications. Seller makes no other warranty, expressed or implied, and makes no warranty of merchantability or of fitness for any particular purpose. In no case shall the seller be liable for any consequential or incidental damages for breach of this or any other warranty, expressed or implied, or upon any other basis of liability whatsoever.
Seller’s obligation under this warranty shall not include any transportation charges or costs of installation or any liability for direct, indirect, or consequential damages or delay.
Seller does not represent that its product may not be compromised or circumvented; that the product will prevent any personal injury or property loss by burglary, robbery, fire , or otherwise; or that the product will in all cases provide adequate warning or protection. Seller, in no event, shall be liable for any direct or indirect damages or any other losses that occurred due to any type of tampering, whether intentional or unintentional such as masking, painting, or spraying on the lenses, mirrors, or any other part of the detector.
Buyer understands that a properly installed and maintained alarm may only reduce the risk of burglary, robbery, or fire without warning, but is not insurance or a guarantee that such an event will not occur or that there will be no personal injury or property loss as a result thereof.
Consequently, the seller shall have no liability for any personal injury, property damage, or loss based on a claim that the product fails to give a warning. However, if the seller is held liable, whether directly or indirectly, for any loss or damage arising under this limited warranty or otherwise, regardless of cause or origin, the seller’s maximum liability shall not exceed the purchase price of the product, which shall be the complete and exclusive remedy against the seller.
No employee or representative of Seller is authorized to change this warranty in any way or grant any other warranty.
WARNING: This product should be tested at least once a week.
CAUTION: risk of explosion if the battery is replaced by an incorrect type.
Dispose of used batteries according to local regulations.
Tahoma 14, Rishon Lezion, ISRAEL
Contacting RISCO Group
| UK Tel: +44-(0)-161-655-5500 E-mail: [email protected] | U.S.A Tel: +1-631-719-4400 E-mail: [email protected] |
![]()
5IN1943 C
© RISCO Group 04/2013


















