RISCO RWX73F 2-Way Wireless Multi-Function Contact
GENERAL DESCRIPTION
The RWX73F is a 2-way multi-function supervised transmitter with two separate channels that combine Magnetic/Door contact with two additional inputs (one universal and the other universal or shutter). The RWX73F has two reed switches for protection against opening doors and windows, and against any attempt to tamper with the detector using large magnets. The RWX73F operates with RISCO Group 2-Way wireless systems.
OPERATING CHANNELS
The RWX73F supports 2 separate channels with a unique serial number for each channel.
| Channel | Report Events From | Functionality | Restore Message |
| 1 | Magnetic Contact + Input 1 (IN1) | Universal | Follow Event Restore |
| 2 | Input 2 (IN2) | Universal / Shutter | Follow Event Restore / Immediate |
MAIN FEATURES
- Communication: Bi-directional
- Range: Up to 300 m (1,000 ft.) range line of sight
- Supervision: Up to 255 minutes
- Selective Zone termination: NO, NC, DEOL
- Selective Zone response: 10 / 500ms
- Tamper protection: Back + cover
- Anti-sabotage tamper protection
- Two channels recognized as separate zones in the system

INSTALLATION
Step 1: Transmitter Receiver Communication Setup The X73F must identify itself to the system’s receiver by writing its coded message into the receiver’s address memory. The receiver must identify each channel separately, as defined by DIP switch 1. This registration for each channel is performed either by entering the RWX73F’s 11-digit serial code number or by performing the following RF allocation steps:
- Remove the front cover (Fig 1)

- Set the main unit to Learn mode.
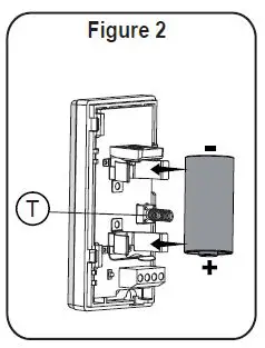
- Remove the battery from the insulation material and reinsert it into the transmitter, paying attention to the polarity (Fig. 2).

- For channel 1 set Dip switch 1 to OFF.
- Send a write message by pressing the front tamper switch (without detaching the back bracket) for at least 3 seconds until panel recognition is displayed (Fig. 2).
- For channel 2, repeat steps 4 and 5 with DIP switch 1 in the ON position.
NOTE: Wait at least 1 minute before closing the front cover.
Step 2: Input Wiring
Use the following diagrams for appropriate input termination wiring. For DEOL termination connect two 10K Ohm resistors (supplied) as per the following illustrations:
Step 3: Selecting the Mounting Location
- Select a location best suited for communication quality and near the intended wired detector. RISCO recommends placing the unit at the highest possible position.
- Temporarily attach the unit to this point using two-sided adhesive tape.
- Generate an alarm signal (by momentarily opening or closing the input terminals) and verify that the receiver has received the signal. If the alarm signal is not detected, reposition the transmitter and try again.
Step 4: Mounting (Fig. 3 — Fig. 6)

- Detach the back of the transmitter from the back bracket (Fig. 3A). At mounting location note the alignment marks for both components (Fig. 3B), and then install accordingly using 2 mounting screws and back tamper screw (Fig 3C).
- Detach magnet casing (Fig. 4A) and install with mounting screws (Fig 4B).
- Optionally, mount spacer(s) for transmitter and/or magnet as required (Fig. 6), positioned between the back bracket and the mounting surface.
Notes:
- It’s best to mount the transmitter on the non-moving part (door/window frame), and the magnet on the moving part.
- Spacers are purchased separately (see table above).
- The mark on the magnet’s case must be aligned with the mark on the transmitter’s case (Fig. 5).
- For installations on wood or alloy, the maximum distance for normal operation is 10 mm (1 cm), while for metal ferromagnetic materials (such as iron) it is 5 mm (Fig. 5).
Step 5: Defining Parameters
The following parameters can be defined for each channel from the control panel:
| Parameter | Channel 1 | Channel 2 |
| Supervision | Yes/No | Yes/No |
| LED Enable | Yes/No | Yes/No |
| Magnet | Enable/Disable | – |
| Alarm Hold | On/Off | On/Off |
| Termination | IN 1: NO/NC/DEOL | IN 2: NO/NC/DEOL/Shutter |
| Response | 10ms / 500ms | 10ms / 500ms |
| Anti sabotage magnet | Enable/Disable | – |
| Shutter Pulse | – | 01-16* |
Channel 2 termination is defined as Shutter
LED INDICATION
- Upon successful learning: short flash sequence
- Normal operation: brief light upon transmission
- Low battery: short flash sequence during transmission
TECHNICAL SPECIFICATIONS
ELECTRICAL
- Battery Type: CR123 3V Lithium Battery
- Current Consumption: 22A standby
- Frequency: RWX73F86800A 868.65 MHz
- RWX73F43300A 433.92 MHz
- Dead Time (HOLD ON): 2.5 minutes
- Supervision Transmission: 0-255 minutes
- Modulation Type: ASK
- Battery Life: 3 years typical
- Contact Size: 32 x 35 x 72 mm (1.3 x 1.4 x 2.8 in.)
- Magnet Size: 16 x 11 x 72 mm (0.6 x 0.44 x 2.8 in.)
ENVIRONMENTAL
- RF immunity: According to EN50130-4
- Operating temperature: 0°C to 40°C (32°F to 104°F)
- Storage temperature: -20°C to 60°C (-4°F to 140°F)
Specifications are subject to change without prior notice. Should any questions arise please contact your supplier. The tolerance of the measurements is +/- 20%
| Wood | Sweet Iron | |||
| Opening | Closing | Opening | Closing | |
| X | 50mm | 44mm | 23mm | 21mm |
| Y | 85mm | 75mm | 55mm | 45mm |
| Z | 27mm | 25mm | 23mm | 18mm |
RTTE Compliance Statement
Hereby, RISCO Group declares that this equipment is in compliance with the essential requirements and other relevant provisions of Directive 1999/5/EC. For the CE Declaration of Conformity please refer to our website: www.riscogroup.com EN 50131-2-6 Grade 2 Environmental Class II
RISCO Group Limited Warranty
RISCO Group and its subsidiaries and affiliates (“Seller”) warrant its products to be free from defects in materials and workmanship under normal use for 24 months from the date of production. Because Seller does not install or connect the product and because the product may be used in conjunction with products not manufactured by the Seller, Seller cannot guarantee the performance of the security system which uses this product. Seller’s obligation and liability under this warranty is expressly limited to repairing and replacing, at Seller’s option, within a reasonable time after the date of delivery, any product not meeting the specifications. Seller makes no other warranty, expressed or implied, and makes no warranty of merchantability or of fitness for any particular purpose. In no case shall the seller be liable for any consequential or incidental damages for breach of this or any other warranty, expressed or implied, or upon any other basis of liability whatsoever. The seller’s obligation under this warranty shall not include any transportation charges or costs of installation or any liability for direct, indirect, or consequential damages or delay. Seller does not represent that its product may not be compromised or circumvented; that the product will prevent any personal injury or property loss by burglary, robbery, fire or otherwise; or that the product will in all cases provide adequate warning or protection. Seller, in no event, shall be liable for any direct or indirect damages or any other losses that occurred due to any type of tampering, whether intentional or unintentional such as masking, painting or spraying on the lenses, mirrors or any other part of the detector. Buyer understands that a properly installed and maintained alarm may only reduce the risk of burglary, robbery or fire without warning, but is not insurance or a guarantee that such event will not occur or that there will be no personal injury or property loss as a result thereof. Consequently, the seller shall have no liability for any personal injury, property damage, or loss based on a claim that the product fails to give a warning. However, if the seller is held liable, whether directly or indirectly, for any loss or damage arising under this limited warranty or otherwise, regardless of cause or origin, the seller’s maximum liability shall not exceed the purchase price of the product, which shall be the complete and exclusive remedy against the seller. No employee or representative of Seller is authorized to change this warranty in any way or grant any other warranty.
WARNING: This product should be tested at least once a week.
CAUTION: Risk of explosion if the battery is replaced by an incorrect type. Dispose of used batteries according to local regulations.
Tahoma 14, Rishon Lezion, ISRAEL
Contacting RISCO Group
- UK Tel: +44-(0)-161-655-5500 E-mail: [email protected]
- ITALY Tel: +39-02-66590054 E-mail: [email protected]
- SPAIN Tel: +34-91-490-2133 E-mail: [email protected]
- FRANCE Tel: +33-164-73-28-50 E-mail: [email protected]
- BELGIUM Tel: +32-2522-7622 E-mail: [email protected]
- AUSTRALIA Tel: +1800-991-542 E-mail: [email protected]
- U.S.A Tel: +1-631-719-4400 E-mail: [email protected]
- BRAZIL Tel: +55-11-3661-8767 E-mail: [email protected]
- CHINA (Hu) Tel: +86-21-52390066 E-mail: [email protected]
- CHINA (SZ) Tel: +86-755-82789285 E-mail: [email protected]
- POLAND Tel: +48-22-500-28-40 E-mail: [email protected]
- ISRAEL Tel: +972-3-963-7777 E-mail: [email protected]

























