LNC A03239 Pict 6-Light Antique White Vintage Chandelier

WARNING (To reduce the risk of fire, electric shock, or injury to persons):
- We suggest installation by a licensed electrician.
- Please read the instruction carefully and save it as you may need it at later time.
- Before you start, NEVER attempt any work without shutting off the electricity until the work is done. A). Go to the main fuse, or circuit breaker, box in your home. Place the main power switch in the “OFF” position. B). Place the wall switch in the “OFF” position.
- Mounting surface should be clean, dry, flat, strong enough and 1/4” larger than the canopy on all side. Any gaps between the mounting surface and canopy exceeding 3/16” should be corrected as required.
- Make sure that the ceiling or wall can stand the weight of the lamp before fixture.
- Make sure the voltage you are using is 120V. The maximum wattage is 40W per bulb.
- Keep the lamp away from acidic and basic objects in case of damaging the surface of the lamp.
- When replacing bulb, you should turn off or unplug the lamp and you must wait until it is cool as bulbs get hot quickly.
- The safety instructions appearing in this manual are not meant to cover all possible conditions that may occur. It must be understood that common sense, caution and care must be used with any electrical products.
TOOLS REQUIRED (NOT INCLUDED)
Before doing assembly and installation please prepare the needed tools as below picture

PART LIST

- PARTS TYPE & QTY INCLUDING:
- (B) Single bar (1)
- (D) Green ground screw (1)
- (E) Hex nut (1)
- (F) Nipple (1)
- (G) Canopy (1)
- (H) Collar ring (1)
- (I) Collar loop (1)
- (J) Quick link (2)
- (K) Chain (1)
- (L) Loop (1)
- (M) Stem (2)
- (N) Upper arm (3)
- (O) Saucer (9)
- (P) Socket (9)
- (Q) Lower arm (3)
- (R) Wire house (1)
- (S) Fixture loop assembly (1)
- (T) Ball nut (1)
- ACCESSORIES & QTY ENCLOSED:
- (A) Plastic wire connector (3)
- (C) Mounting screw (2)
Line art shown may not exactly match the fixture enclosed. However, the installations do apply to this fixture.
ASSEMBLY & INSTALLATION INSTRUCTIONS
- Carefully remove the fixture from the carton and check that all parts and accessories are included as shown in the above illustration.
- Make assembly
If the group of parts are not already assembled:
- Step A1: Thread the nipple(F) into the screw collar loop (I) until it is tightly engaged within the screw collar loop (I).
- Step A2: Thread the single bar(B)onto the top end of the nipple (F). At this point need note that: the side of single bar marked “GND” must face to the down.
- Step A3: Thread the hex nut (E)onto the nipple (F) to secure single bar in place.

- Step B1:Carefully thread stem(M) onto the top of wire house (R) until snug .
- Step B2:Adjust arms (Q) to proper position.
Lock the arms (N) with the fixture loop assembly (S) and tighten it with the ball nut (T).
- Make pre-installation

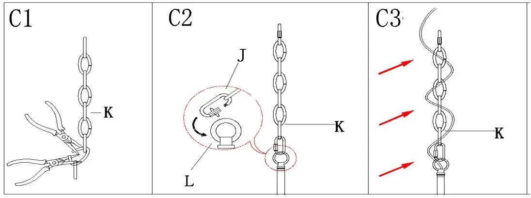
- Step C1: By measuring, determine the correct number of links needed for proper hanging height. Using the chain pliers, disconnect and discard the remaining chain.
- Step C2:Attach a quick link(I) to loop ( L)on the top of fixture and to connect the end of chain(K).
- Step C3: Carefully lace the wires through the chain (K)(every other link)and stop just before you reach the top of chain (K).
- Make installation

- Step D1: .Attach single bar (B) to outlet box with mounting screw (C). The side of single bar marked “GND” must face out. Then unscrew collar ring (H) from collar loop (I)
- Step D2: Pass canopy (G) over the collar loop (I) then secure with threaded ring (H) to test the height .Unscrew threaded ring (H) from collar loop (I) and remove the canopy (G).
Note: The canopy (G) should be snug against the ceiling and the collar loop (I) should be screwed enough threads (no less than 6 threads )over the threaded nipple (F) for more secure hanging .If not, adjust the height of nipple (F) and collar loop (I) until the desired height is reached. Remove the threaded ring (H) and canopy (G) and place to the side. - Step D3: Slip threaded ring(H) over the chain(K)and wires,then do the same with the canopy(G)
- Step D4: Open the quick link (J)then attach to the screw collar loop(H). Close the quick link(J). Pass the wires through screw collar loop(H) to the top of nipple(E)
- Step D5: If needed, cut off the wires length of fixture.At this point, the remaining wire length measured from the top of single bar(B) is at least 6″.
- Step D6: Make wire connections Connect wires as below wires connecting shown. TAKE NOTE OF YOUR COLOR OF FIXTURE ,NEVER CONNECT WIRES TO GROUND WIRES

Twist plastic wire connector until wires are tightly joined together,wrap each connector with approved electrical tape.
Be sure that no wire strands are exposed and carefully tuck all wires into the outlet box . - Step D7: Raise canopy (G) to ceiling and secure canopy (G) in place by tightening threaded ring (H) onto collar loop(I)
- Step D8: Install bulb (Not included. Please do not exceed the maximum capacity recommended on the socket.)
- Check everything is installed properly, then you could turn on the light. Enjoy!
CLEANING
To clean, wipe fixture with a soft cloth. Do not use abrasive materials such as scouring pads or powders, steel wool or abrasive paper.
ORDERING PARTS
Keep this sheet for future reference, and in case you need to order replacement parts. All parts for this fixture can be ordered from place of purchase. Be sure to use exact wording from illustration when ordering parts.



















