
Item Number: A03830
Instruction Manual
A03830 19 Inch 5-Light Dark Brown Drum Wood Round Chandelier Pendant
WARNING (To reduce the risk of fire, electric shock, or personal injury):
- We suggest installation by a licensed electrician.
- Please read the instruction carefully and save it as you may need it at a later time.
- Before you start, NEVER attempt any work without shutting off the electricity until the work is done.
A) Go to the main fuse, or circuit breaker, box in your home. Place the main power switch in the “OFF” position.
B) Place the wall switch in the “OFF” position. - Mounting surface should be clean, dry, flat, strong enough and 1/4″ larger than the canopy on all sides. Any gaps between the mounting surface and canopy exceeding 3/16″ should be corrected as required.
- Make sure that the ceiling or wall can stand the weight of the lamp before installation.
- Make sure the voltage you are using is 120V. The maximum wattage is Type A, Max 60W per bulb.
- Keep the lamp away from acidic and alkaline substances in case of damaging the surface of the lamp.
- When replacing bulbs, you should turn off or unplug the lamp and you must wait until it is cool as bulbs get hot quickly.
- The safety instructions appearing in this manual are not meant to cover all possible conditions that may occur. It must be understood that common sense, caution and care must be used with any electrical products.
IMAGE FOR FINISHED PRODUCT

TOOLS REQUIRED (NOT INCLUDED):
Before starting assembly and installation please prepare the needed tools as below picture

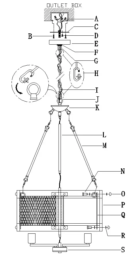
PARTS TYPE & QTY INCLUDING:

| (C) Single bar (1) (D) Green ground screw (1) (E) Canopy (1) (F) Collar ring (1) (G) Collar loop (1) (H) Quick link (8) | (I) Chain (1) (J) Loop (1) (K) Fixture loop assembly (1) (L) Stem (2) (M) Loop rod (3) (N) Screw (12) | (O) Nut (12) (P) Wooden support (3) (Q) Flat iron frame (3) (R) Gasket (12) (S) Arms assembly (1) |
ACCESSORIES & QTY ENCLOSED:
(A) Wire connector (3)
(B) Mounting screw (2)
ASSEMBLY & INSTALLATION INSTRUCTIONS:
- Carefully remove the fixture from the carton and check that all parts and accessories are included as shown in the above illustration.
- Make pre-installation
Step A1: Thread screws (N) through gasket (R), the wooden supports (P) and the flat iron frames (Q), then secure with nuts (O).
Step A2: Thread the fixture wires through stems (L), then screw stems (L) onto the arms assembly (S). Slip fixture loop (K) over fixture wires and then thread it onto the top of stem (L).
Step A3: Open quick links (H) to attach the fixture loop (K) and the flat iron frames (Q) with the loop rods (M). Close the quick links (H).
Step B1: By measuring, determine the correct number of links needed for proper hanging height. Using the chain pliers, disconnect and discard the unwanted part.
Step B2: Attach the quick link (H) to the chain (I) and the loop (J) on the top of fixture loop assembly (K).
Step B3: Carefully weave the wires through the chain (I) in and out of every other link and stop just when you reach the top of chain (I). Gently pull the wires to ensure the wires are not stressed. - Turn off power
Before you start the installation, NEVER attempt any work without shutting off the electricity until the work is done.
A) Go to the main fuse, or circuit breaker, box in your home. Place the main power switch in the “OFF” position.
B) Place the wall switch in the “OFF” position. - Make installation
Step C1: Remove the collar ring (F) from collar loop (G). Attach the single bar (C) to outlet box with mounting screws (B). Note: the side of single bar marked “GND” must face out.
Step C2: Pass canopy (E) over the collar loop (G) then secure with collar ring (F) to measure a proper height.
Unscrew collar ring (F) from collar loop (G) and remove the canopy (E). Note: The canopy (E) should be snug against the ceiling and the collar loop (G) should be screwed enough threads (no less than 6 threads) over the pre-assembled threaded nipple for more secure hanging. If not, adjust the height of threaded nipple and collar loop (G) until the desired height is reached. Remove the collar ring (F) and canopy (E) then set them aside for later installation.
Step C3: Pass the chain (I) through the collar ring (F), then through the canopy (E).
Step C4: Open the quick link (H), attach the quick link (H) to the collar loop (G). Close the quick link (H).
Pass the fixture wires through the collar loop (G) to the top of threaded nipple and gently pull to ensure the wires are not stressed.
Step C5: If needed, shorten the length of fixture wires. At this point, the remaining wire length measured above the single bar (C) is at least 6″.
Step C6: Make wire connections
Connect wires as below wires connection shown. PLEASE NOTE THAT GROUND WIRE IS BARE COPPER WIRE, NEVER CONNECT OTHER WIRES TO GROUND WIRES.
Connect ground wires according to the below chart
Connect wires according to the below chartConnect Black or Red Supply Wire to: Connect White Supply Wire to: Black White *Parallel cord ( round & smooth ) *Parallel cord ( square & ridged ) Clear, Brown, Gold or Black without tracer Clear, Brown, Gold or Black with tracer Insulated wire ( other than green) with copper conductor Insulated wire ( other than green ) with silver conductor *Note: When parallel wires ( SPT I & SPT II ) are used. The neutral wire is square shaped or ridged and the other wire will be round in shape or smooth (see illus.)
Twist wires together with plastic wire connector until tightly joined, and wrap each connector with approved electrical tape. Be sure that no wire strands are exposed and then carefully tuck all wires into the outlet box. Step C7: Raise canopy (E) to ceiling and secure canopy (E) in place by tightening collar ring (F) onto collar loop (G). Step C8: Install the bulbs (not included) (Please do not exceed the maximum wattage recommended on the socket.) - Check everything is already installed properly, then you could turn on the light. Enjoy!
CLEANING.
To clean, wipe the fixture with a soft cloth. Do not use abrasive materials such as scouring pads or powders, steel wool or abrasive paper.
ORDERING PARTS.
Keep this sheet for future reference in case you need to order replacement parts. All parts for this fixture can be ordered from the place of purchase. Be sure to use exact wording from illustration when ordering parts.
+1 850 296 2377 Working hours : Mon – Fri 9:00 a.m. – 16:00 p.m. EST
[email protected]
Step A1: Thread screws (N) through gasket (R), the wooden supports (P) and the flat iron frames (Q), then secure with nuts (O).
Step B1: By measuring, determine the correct number of links needed for proper hanging height. Using the chain pliers, disconnect and discard the unwanted part.
Step C1: Remove the collar ring (F) from collar loop (G). Attach the single bar (C) to outlet box with mounting screws (B). Note: the side of single bar marked “GND” must face out.
Connect wires according to the below chart


















