MICSIU 900016 5-Light Crystal Chandeliers Round D20.25 Oil Rubbed Bronze Farmhouse Pendant

Product Information
The model number of the product is 900016. The product requires a supply circuit of 120V, 60Hz. The wattage of the product is 5*E26*60W Max. The product is compatible with 11W LED A19 bulb (not included). The package includes Arm, Large Ring, Light Cluster with Central Rod and Wires, Bracket with Nipple, Canopy, Chain & Loops, Cap, Crystal. The parts bag includes Junction Box, Leading Wires, Wire Nut, Mounting Bracket with Nipple, Mounting Screw, Canopy Hanging Loop Collar, Chain Locker, Chain Fixture Wire Loop.
Product Usage Instructions
- Open the box from the top and carefully take out all the components, parts bag and manual from the box.
- Check all the components against the parts list to ensure that all parts are present. If any parts are missing or glass is damaged, contact the manufacturer at [email protected] for a replacement.
- Refer to the provided illustration for assembly and follow the steps below:
- Place 5 arms (part P) to the proper position, then put the large ring (part Q) surrounding the arms with the holes facing down. Fix the large ring (part Q) onto the arms (part P) with the nuts (part R).
- Assemble the central rod (part S) onto the light cluster where 5 sockets and light arms located. Place the light arms (part U) to proper position.
- Put the rod (part S) with nipple and fixture wire (part K) through the central hole on the plate between the joints of arms (part P).
- Attach the wire loop (part L) to the rod (part S), then attach the small ring (part M), cap (part N), and hex nut (part O) to the rod (part S).
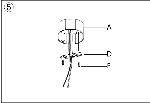
- Attach the canopy (part A) to the rod (part S) with the screws (part D and E).
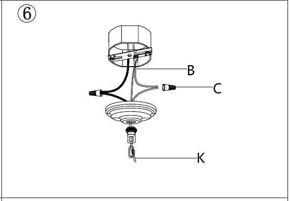
- Attach the chain locker (part B) to the rod (part S) with the screw (part C).
- Attach the fixture wire loop (part H) to the chain (part G and F).
- Attach the crystal (part T) and crystal clip (part X) to the canopy (part A) with the wire (part W). Attach the light bulb (not included) to the sockets on the light cluster (part U).
IMPORTANT SAFETY INSTRUCTIONS
Warning: If any special control devices are used with this fixture, follow the instructions carefully to assure full compliance with N.E.C. requirements. If there are any questions, please contact a qualified electric contractor.
Warning: This product can expose you to chemicals including lead, which is known to the State of California, to cause cancer or birth defects or other reproductive harm. For more information, please go to www.P65Warnings.ca.gov
Caution: Electrician installation is highly recommended. All glass is fragile, use care when handling glass component(s) and or lamp(s). Read instructions carefully and turn electricity off at the main circuit breaker panel before beginning installation.
Important Notice:
This is a generic instruction sheet used for various fixtures. The shape and style of fixture / glass / shade / diffuser may vary.
(Required Supply Circuit: 120V, 60Hz. Watt: 5*E26*60W Max)
Compatible Bulb Type (NOT Included)
The mostly suggested bulb type is 11W LED A19 bulb
COMPONENTS INCLUDED IN THE PACKAGE
Arm / Large Ring / Light Cluster with Central Rod and Wires /Bracket with Nipple // Canopy / Chain & Loops / Cap / Crystal
Parts included in parts bag
ASSEMBLY & INSTALLATION STEPS:
- Open the box from top, take out all the components, parts bag and manual from the box carefully.
- Check all the components against the parts list. Make sure get each parts on list. If any parts missing or glass damage, please contact manufacturer at: [email protected] to get a replacement. Parts are NOT included for which is shown as 0 under QTY.
PARTS LIST Part Name QTY Code Part Name QTY Code Junction Box 0 A Small Ring 1 M Leading Wires 0 B Cap 1 N Wire Nut 3 C Hex Nut 1 O Mounting Bracket with Nipple 1 D Arm 5 P Mounting Screw 3 E Large Ring 1 Q Canopy 1 F Nut 5 R Hanging Loop 1 G Central Rod 1 S Collar 1 H Crystal 65 T Chain Locker 2 I Light Cluster with Socket 5 U Chain 1 J Allen Wrench 1 V Fixture Wire 2 K Light Bulb 0 W Loop 1 L Crystal Clip 65 X - Refer to the illustration while doing assembly and follow the steps as below:
- Place 5 arms(P) to proper position, then put the large ring(Q) surrounding the arms(P) with the holes facing down, fix the large ring(Q) onto the arms(P) with the nuts(R).

- Assemble the central rod(S) onto the light cluster where 5 sockets and light arms located. Place the light arms(U) to proper position.

- Put the rod(S) with nipple and fixture wire(K) through the central hole on the plate between the joints of arms(P), fix it with the hex nut(O). Place the cap(N), small ring(M) and loop(L) on the fixed nipple, wires go through these parts on this step, thread the loop(L) to fasten the whole fixture body into position.

- Adjust the length of the chain to your desired hanging height. Thread to open the chain lockers (I) on the ends of the chain(J). Connect one end with loop(L) and fixture, connect the other end with canopy(F), then close the chain lockers. Wires(K) go through the hanging loop(G), collar(H) and canopy(F) for later wiring.

- Install the mounting bracket with nipple(D) to the junction box(A) by the mounting screws(E).

- Connect wires according to the wiring diagram on the right.

- Thread the hanging loop(G) onto the nipple of mounting bracket(D) to hang the fixture. Thread the collar(H) to fix the canopy(F) onto the junction box(A).

- Insert the crystal clips(X) into the holes on the crystals(T), and clip them to hold the crystals onto the large ring(Q) tightly. Screw on the bulbs(W) to the sockets(U).

- Place 5 arms(P) to proper position, then put the large ring(Q) surrounding the arms(P) with the holes facing down, fix the large ring(Q) onto the arms(P) with the nuts(R).



























