Uolfin 5069546 6-Light Brushed Gold Mid-century Crystal Chandelier
Instructions
WARNING (To reduce the risk of fire, electric shock, or injury to 1. person):
- We suggest installation by a licensed electrician.
- Please read the instruction carefully and save it as you may need it at later time.
- Before you start, NEVER attempt any work without shutting off the electricity until the work is done. A). Go to the main fuse, or circuit breaker, box in your home. Place the main power switch in the “OFF” position. B). Place the wall switch in the “OFF” position.
- The mounting surface should be clean, dry, flat, strong enough and 1/4” larger than the canopy on all side. Any gaps between the mounting surface and canopy exceeding 3/16” should be corrected as required.
- Make sure that the ceiling or wall can stand the weight of the lamp before the fixture.
- Make sure the voltage you are using is 120V. The maximum wattage is 40W per bulb.
- Keep the lamp away from acidic and basic objects in case of damaging the surface of the lamp.
- When replacing bulb, you should turn off or unplug the lamp and you must wait until it is cool as bulbs get hot quickly.
- The safety instructions appearing in this manual are not meant to cover all possible conditions that may occur. It must be understood that common sense, caution and care must be used with any electrical products.
IMAGE FOR FINISHED PRODUCT: 
TOOLS REQUIRED
(NOT INCLUDED)
Before doing assembly and installation please prepare the needed tools as below picture
PARTS TYPE & QTY INCLUDING
- (C) Single bar (1)
- (D) Green ground screw (1)
- (E) Canopy (1)
- (F) Collar ring (1)
- (G) Collar loop (1)
- (H) Quick link (2)
- (I) Chain (1)
- (J) Loop (1)
- (K) Fixture loop assembly (2)
- (L) Tube (1)
- (M) Crystal (6)
- (N) Iron pipe (6)
- (O) Steering joint (6)
- (P) Arm (6)
ACCESSORIES & QTY ENCLOSED: - (A) Wire connector (3)
- (B) Mounting screw (2)
ASSEMBLY & INSTALLATION INSTRUCTIONS
- Carefully remove the fixture from the carton and check that all parts and accessories are included as shown in the above illustration.
- Make pre-installation

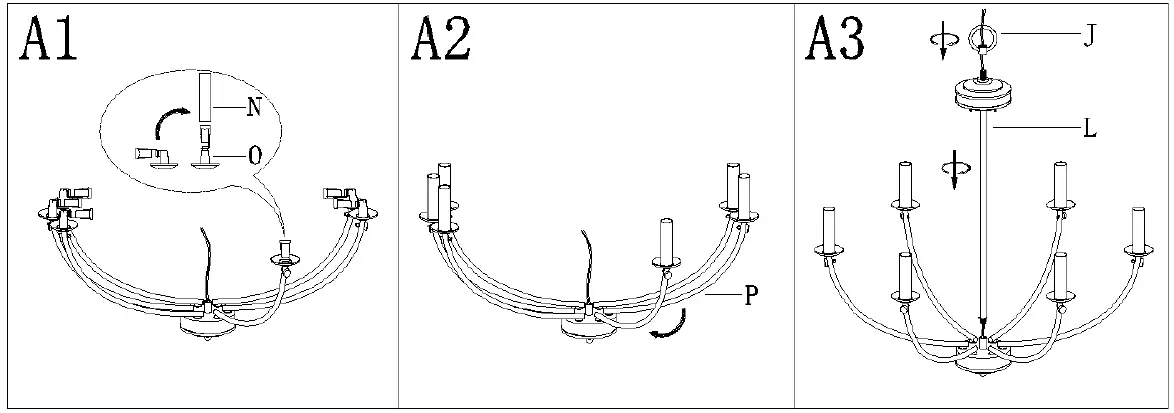
Step A1: Adjust the steering joint (O) to the vertical direction.Then push the iron pipe (N) down to the bottom of the steering joint (O).
Step A2: Adjust the arms (P) to the proper position.
Step A3: The tube(L) and the loop (J) rotate on the fixture loop assembly (K).
Step B1: By measuring, determine the correct number of links needed for proper hanging height. Using the chain pliers, disconnect and discard the remaining chain.
Step B2: Attach the quick link (H) to connect the chain (I) and the loop(J) on the the top of fixture loop assembly (K).
Step B3: Carefully lace the wires through the chain (I)(every other link)and stop just before you reach the top of chain (I).
Gently pull the wires till snug.
Turn off power
Before you start to make an installation, NEVER attempt any work without shutting off the electricity until the work is done. A). Go to the main fuse, or circuit breaker, box in your home. Place the main power switch in the “OFF” position. B). Place the wall switch in the“OFF” position.
Make installation
Step C1: .Attach the single bar (E) to the outlet box with mounting screws (B). The side of single bar marked “GND” must face out
Step C2: Raise the canopy (G) through screw collar loop (I) and screw the collar loop (I) to a proper position by measuring.
Unscrew threaded ring (H) from screw collar loop (I) and remove the canopy (G). In this way, you would know the Proper position on which collar loop it should be located.
Note: The canopy (G) should be snug against the ceiling and the collar loop (I) should be screwed enough threads (no less than 6 threads )over the threaded nipple (C) for more secure hanging .If not, adjust the collar loop (H)on the single bar assembly by screwing the collar loop (I) in or out of the single bar (E) until the length is achieved.
Step C3: Slip the threaded ring(H) over the chain(K),then do the same with the canopy(G)
Step C4: Open the quick link(J),attach the quick link (J) to connect the loop (I). Close the quick link(J).
Pass the wires through screw collar loop(H) to the top of nipple(E) and gently pull till snug.
Step C5: If needed, cut off the wires length of fixture.At this point, the remaining wire length measured from the top of single bar(B) is at least 6″.
Step C6: Make wire connections
Connect wires as below wires connecting shown. TAKE NOTE OF THE COLOR OF FIXTURE , NEVER CONNECT
WIRES TO GROUND WIRES
Connect ground wire according to below chart
Connect wires according to the below chart
Twist the plastic wire connector until wires are tightly joined together, and wrap each connector with approved electrical tape. Be sure that no wire strands are exposed and then carefully tuck all wires into the outlet box .
Step C7: Raise canopy (E) to ceil and secure canopy (E) in place by tightening threaded ring (F) onto collar loop (G).
Step C8: Install the bulb (not included) (Please do not exceed the maximum capacity recommended on the socket.)
Hang the crystal on the arm (P) and the fixture loop assembly (K).
Check everything is already installed properly, then you could turn on the light. Enjoy!
CLEANING.
To clean, wipe fixture with a soft cloth. Do not use abrasive materials such as scouring pads or powders, steel wool or abrasive paper.
ORDERING PARTS.
Keep this sheet for future reference, and in case you need to order replacement parts. All parts for this fixture can be ordered from place of purchase. Be sure to use exact wording from illustration when ordering parts.





















