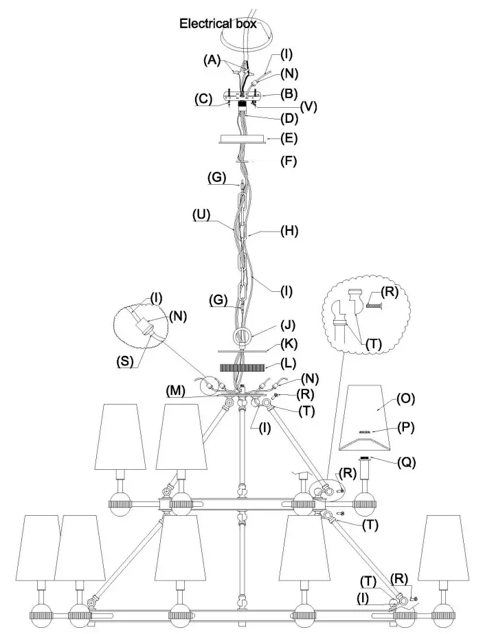
ETHAN ALLEN 093060 Cambridge Chandelier

IMPORTANT SAFETY INSTRUCTIONS
READ THESE INSTRUCTIONS COMPLETELY BEFORE STARTING
We strongly recommend that all direct-wired lighting products be installed by a licensed electrician. Two people may be required for installation. DO NOT EXCEED the rated bulb wattage. Keep flammable materials away from bulb. This light fixture is shipped with all internal wiring intact. Do not open the product or alter the wiring in any manner.
Installation requires an electrical junction box in the ceiling sufficient to support the weight of the light fixture. This fixture weighs 54.3 lbs./24.7 kg.















