Z-Lite 818-12RB 1 Light Chandelier Instruction Manual
FOR YOUR SAFETY WARNING
BE SURE THE ELECTRICITY TO THE WIRES YOU ARE WORKING ON IS SHUT OFF; EITHER THE FUSE IS REMOVED OR THE CIRCUIT BREAKER IS SHUT OFF. GENERAL You don’t need special tools to install this fixture. Be sure to follow the steps in the order given. Under no circumstances should a fixture be hung on house electrical wires, nor should a swag type fixturebe installed on a ceiling which contains a radiant type heating system. Read instructions carefully. If you are unclear as to how to proceed, consult a qualified electrician.
NOTE: Proper wiring is essential for the safe operation of this fixture
GENERAL
You don’t need special tools to install this fixture. Be sure to follow the steps in the order given. Under no circumstances should a fixture be hung on house electrical wires, nor should a swag type fixture be installed on a ceiling, which contains a radiant type heating system. Read instructions carefully. If you are unclear as to how to proceed, consult a qualified electrician.
NOTE: Proper wiring is essential for the safe operation of this fixture
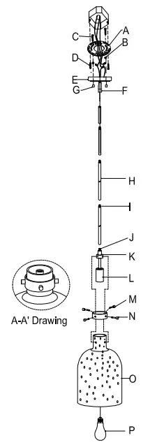
FIXTURE ASSEMBLY
Carefully removed the fixture from the carton and check that all parts are included as shown in figure. Be careful not to misplace any of the screws or parts, which are needed to install this fixture.
INSTALLATION
IMPORTANT: Do not attach fixture directly to outlet box.
STEP 1: The hanging pipe for this fixture includes 1pc X 3″, 1pcs X 6″, 6pcs X 12” of pipes, choose desired installation height. Thread pipe (H) to the nipple (I). Put the fixture wires through each pipe to be used. Thread all the connected pipes to the fixture nipple (J).
STEP 2: Pass fixture wires through swivel (F) in canopy (E) and screw top end of pipe assembly into swivel (F).
STEP 3: Attach two mounting screws (C) to mounting strap (A) and tighten with hex nuts (B). Secure mounting strap (A) to outlet box by threading outlet box screw (D) through the key hole. Carefully follow wiring instructions.
STEP 4: After the wires connected, raise canopy (E) so the two mounting screws (C) protrude through the holes on canopy (E) then tighten with finials (G).
STEP 5: Place check ring (M) onto glass shade (O), raise glass shade (O) into inner ring (K), align the screw holes on the check ring (M) with inner ring (K) and tighten the glass shade with thumb screw (N). (See A-A’ for the glass shade completed drawing)
CLEANING
To clean, wipe fixture with a soft cloth. Clean glass with a mild soap. Do not use abrasive materials such as scouring pads or powders, steel wool or abrasive paper.
Line art shown may not exactly match the fixture enclosed. However, the installations do apply to this fixture.















