HINKLEY
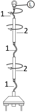
Drawing 1 – Fixture Assembly

Drawing 2 – Stem Assembly

- wire
- stem
Assembly Instructions
Item No: 38255
Start Here
- Find a clear area in which you can work.
- Unpack fixture and glass from carton.
- Carefully review instructions prior to assembly.
- First it is necessary to assemble the fixture before installing. Two of the fixture arms need to be attached to the ring to complete the fixture.
- First slip hook (1) of arm (2) into loop on ring (4). Attach the other arms to the ring in the same manner – see Drawing 1.
- Now hook loop (3) of the arms (2) onto the loops located on the sub canopy (5).
NOTE: one arm has the fixture wires laced through it. Do Not pull on this arm during installation and make sure hook (1) and hook (3) of the arm are engaged prior to lifting the fixture up for installation.
- Before installing, it is necessary to determine the desired length of your fixture.
- Your fixture is supplied with assorted stem sizes. Determine what combinations of stems are needed to achieve desired length – see Drawing 2.
**If additional stems are required visit Hinkleylighting.com for information on how to order. - Slip stems over wire and thread first stem into top of fixture body, longest length stem first. Repeat this process until all required stems are threaded together.
- Slip wire through center hole of fixture loop (L) and thread loop onto the top of the last stem and tighten.
- To mount your fixture to the ceiling, follow instruction sheet (IS 19-SCLL) provided.
- To finish assembly, thread tail (6) into bottom of ring (4) – see Drawing 1.
SAFETY WARNING: READ WIRING AND GROUNDING INSTRUCTIONS (IS 18) AND ANY ADDITIONAL DIRECTIONS. TURN POWER SUPPLY OFF DURING INSTALLATION. IF NEW WIRING IS REQUIRED, CONSULT A QUALIFIED ELECTRICIAN OR LOCAL AUTHORITIES FOR CODE REQUIREMENTS.
DRAWING 1 – GLASS INSTALLATION

Glass Installation
Item no. 38255 / 38258
start here
- Find a clear area in which you can work.
- Unpack fixture and glass from carton.
- Carefully review instructions prior to assembly.
Glass installation:
1. to install glass (1) slip glass over the lamp and socket and make sure it rest properly on top of the glass fitter (2) – see Drawing 1.
DRAWING 1 – MOUNTING

- stem from fixture body

- THREADED PORTION 1/4” INSIDE CANOPY
- ADJUST LOOP UP OR DOWN

- STEMS
Mounting Instructions IS19-SCLL
start here
- To begin installation, first attach mounting strap (A) to junction box using two 8-32 screws (B) NOT PROVIDED. Make sure the head of the ground screw is facing down – see DRAWING 1.
- Next take threaded tube (C) and thread one hex nut (D) onto end. Now thread end of tube (C) into hanging loop (E) approximately 1/2″. Then tighten hex nut (D) against back of hanging loop to lock thread tube in place.
- Now thread second hex nut (D) onto threaded tube (C). Now thread tube (C) into center of mounting strap (A) approximately 1/2″.
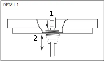
- Next it is necessary to adjust the position of hanging loop (E). This is accomplished by slipping the hanging loop (E) through the center hole in the ceiling canopy (F). Now thread hanging loop up or down until the top threaded portion of the loop is approximately 1/4″ inside the canopy – see DETAIL 1.
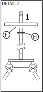
- Now take ring (H) and slide onto the fixture wire and over the stems that were attached to the fixture body earlier, followed by the canopy (F) -see DETAIL 2.
- Now lift fixture body and stems up to hanging loop (E). Using the single chain link supplied, hook the last loop on the fixture stem to the hanging loop (E), and close chain link.
- Slip fixture wire through center hole of hanging loop (E) and through threaded tube (C) until it exits above the mounting strap (A).
- Make all wiring connection following wiring instructions (IS18) provided.
- After wire connections are completed slide canopy (F) along stems and up to ceiling followed by ring (H). While holding the canopy against ceiling, thread ring (H) onto hanging loop (E), to secure canopy to in place.
- Glass can now be installed. See Assembly instructions.
SAFETY WARNING: READ WIRING AND GROUNDING INSTRUC-TIONS (1.5. 18) AND ANY ADDITIONAL DIRECTIONS. TURN POWER SUPPLY OFF DURING INSTALLATION. IF NEW WIRING IS REQUIRED, CONSULT A QUALIFIED ELECTRICIAN OR LOCAL AUTHORITIES FOR CODE REQUIREMENTS.
Note : some chain may need to be temporarily used at install to allow clearance between the canopy and ceiling to wire. extra chain can be removed after canopy is secure. Excess wire can also be pushed into the canopy after canopy is secure
Drawing 1 – Flush Mount

Drawing 2 – Chain Hung

Drawing 3 – Post-Mount
- supply wire
- twist-on connectors
- fixture leads
I.S. 18 wiring grounding instructions
SAFETY WARNING: READ WIRING AND GROUNDING INSTRUCTIONS (IS 18) AND ANY ADDITIONAL DIRECTIONS. TURN POWER SUPPLY OFF DURING INSTALLATION. IF NEW WIRING IS REQUIRED, CONSULT A QUALIFIED ELECTRICIAN OR LOCAL AUTHORITIES FOR CODE REQUIREMENTS
wiring instructions
Indoor Fixtures
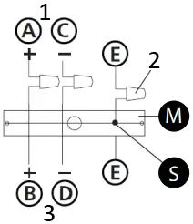
- Connect positive supply wire (A ) (typically black or the smooth, unmarked side of the two-conductor cord) to positive fixture lead (B ) with appropriately sized twist on connector – see Drawings 1 or 2.
- Connect negative supply wire (C) (typically white or the ribbed, marked side of the two-conductor cord) to negative fixture lead (D).
- Please refer to the grounding instructions below to complete all electrical connections
Outdoor Fixtures
- Connect positive supply wire (A) (typically black or the smooth unmarked side of the two-conductor cord) to positive fixture lead (B) with appropriately sized twist on connector – see Drawings 2 or 3.
- Connect negative supply wire (C) (typically white or the ribbed, marked side of the two-conductor cord) to negative fixture lead (D).
- Cover open end of connectors with silicone sealant to form a watertight seal.
If installing a wall mount fixture, use caulk to seal gaps between the fixture mounting p late (back plate) and the wall. This will help prevent water from entering the outlet box. If the wall surface is lap siding, use caulk and a fixture mounting platform specially. - Please refer to the grounding Instructions below to complete all electrical connections.
grounding instructions
Flush Mount Fixtures
For positive grounding in a 3-wire electrical system, fasten the fixture ground wire (E) (typically copper or green plastic coated) to the fixture mounting strap (M ) with the ground screw (S) – see Draw in g 1. Note: On straps for screw supported fixtures, first install the two mounting screws in strap. Any remaining tapped hole may be used for the ground screw.
Chain Hung Fixtures
Loop fixture ground wire (E) (typically copper or green plasticcoated ) under the head of the ground screw (S) on fixture mounting strap (M) and connect to the loose end of the fixture ground wire directly to the ground wire of the building system with appropriately sized twist-on connectors – see Drawing 2.
Post-Mount Fixtures
Connect fixture ground wire (E) (typically copper or green plastic coated) to power supply ground with appropriately sized twist-on connector inside post. Cover open end of connector with silicone sealant to form a watertight seal – see Drawing 3.
HINKLEY 33000 Pin Oak Parkway, Avon Lake, OH 44012 800.446.5539 / 440.653.5500 hinkley.com
















