32508 Chandelier Ceiling Light
Instruction Manual
32508 Chandelier Ceiling Light
A Division of Hinkley Lighting, Inc.
33000 PIN OAK PARKWAY I AVON LAKE, OHIO
44012 toll free 800.446.5539
phone 440.653.5500
Assembly Instructions
Item No: 32506 / 32508
- Find a clear area in which you can work.
- Unpack fixture and glass from carton.
- Carefully review instructions prior to assembly.
Safety Warning: read wiring and grounding instructions (I.S. 18) and any additional directions, Turn power supply off during installation. If new wiring is required, consult a qualified electrician or local authorities for code requirements.
- After the required stem lengths, needed to hang your fixture are determined. Start assembling the stems by slipping the fixtures black and red wires through the center of the first stem and thread it onto threaded tube (A). Continue adding stems in this manner until all the required stems are threaded together.
- When last stem is assembled then slip screw collar ring (1) along black and red wire a over the stems. This is followed by canopy (2).
- Next take the black and red wires and slip them though the swivel that is attached to the mounting bracket. Make sure to slip wires out one side of the mounting bracket
- Now thread swivel into the top of the last ste
- Fixture is ready for installation.

- To mount your fixture to the ceiling. Lift top assemby of fixture up to junction box, and using two screws (S) NOT PROVIDED. Attach mounting plate to junction box – see Drawing 2.
- Next make all wiring connections following wiring diagram and instructions provided.
NOTE: ADDITIONAL MOUNTING AND PLASTIC ANCHORS (X) ARE SUPPLIED AND CAN BE USED FOR ADDITIONAL SUPPORT OF THE FIXTURE. HOWEVER THESE SCREWS MAY NOT WORK WITH YOU PERTICULAR APPLICATION. APPROPRIATE HARDWARE SHOULD BE PURCHASED FOR YOUR APPLICATION.
NOTE: DURING THE WIRING PROCESS DO NOT CONNECT THE BLACK OR RED WIRE FROM YOUR FIXTURE TO THE SUPPLY WIRES COMING FROM THE JUNCTION BOX AND TURN ON THE POWER. IT WILL DAMAGE THE LEDS CHIPS AND THE FIXTURE WILL HAVE TO BE REPLACED AT CUSTOMERS EXPENSE. - To complete installation slip canopy (2) along stems and up to ceilling, followed by screw collar (1).
NOTE: THE CANOPY CAN BE WIRED TO A SEPERATE SWITCH IF DESIRED. FOLLOW WIRING INSTRUCTION PROVIDED. - After wiring hold canopy up to ceiling and thread on screw collar (1) to secure canopy in place.
FOLIO
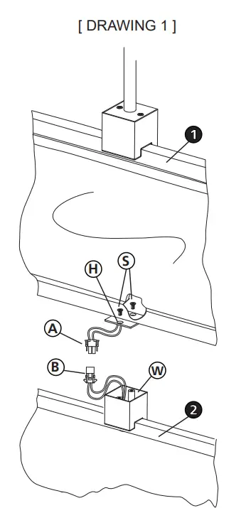
- Your fixture is supplied with one or two additional panels that attach to the bottom of the top panel (1)A. It is recommended the additional panels be attached after hanging the top panel from the ceiling. See mounting instructions.
- To attach the next panel (2), first connect the wires together by inserting the male plug (A) into the female plug (B). Plug is designed to assembly one way. Do not force plugs together, they should slide together easily – see Drawing 1.

- Next tuck wires and plugs into wire body (W) on top of panel (2)
- Now align holes (H) in plate attached to bottom of top panel with threaded holes in wire body (W), and thread in flat head screws (S) to secure second panel (2).
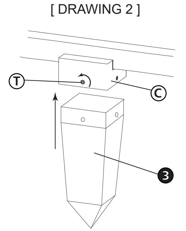
PLEASE NOTE: ITEM NO. 32508 IS SUPPLIED WITH A THIRD SMALLER PANEL THAT ATTACHES TO THE BOTTOM OF PANEL (2), AS DESCRIBED ABOVE. - To complete assembly, attach the crystal (3) to the bottom of the last panel, by threading the set screws (T) on the sides of the bottom inverted cup (C) until you can slip the square top of the crystal (3) into the cup (C). Then tighten the set screws to secure crystal – see Drawing 2.

Folio wiring option 1
Item No. 32506 / 32508
There are two wiring options available on this fixture. The following text outlines wiring option 1. When fixture is wire accordingly the fixture and the canopy will light together.
NOTE: DO NOT ATTACH THE BLACK OR RED WIRES FROM YOUR FIXTURE DRIVERS TO THE SUPPLY WIRES COMING FROM THE JUNCTION BOX. IT WILL DAMAGE THE LEDS AND FIXTURE WILL HAVE TO BE REPLACED AT CUSTOMERS EXPENSE.
STEP 1 connect the red wire exiting the fixture stem, to the red wire on the driver located in the mounting bracket -see DRAWING 1.
STEP 2 next to the red wire on the driver, there is a black wire. Connect this wire to the black wire exiting from the fixture stem.
STEP 3 on the driver there is a black and white wire next to each other – see DRAWING 2. Connect the white wire from the driver to the white coming from the junction box.
STEP 4 to complete the wiring connect the black wire from the junction box to the black wire from the driver.
STEP 5 slip canopy (2) along stems and up to ceiling, inside the canopy there is a red and black wire the is connected to the band of LEDs mounted on the outside surface of the canopy. Take the red wire and connect it to the red wire coming from the smaller driver – see DRAWING 2.
STEP 6 now take the black wire from the LED band and connect it to the black wire, next to the red wire coming from the smaller driver.
STEP 7 now connect the white wire coming from the smaller driver to the white wire coming from the junction box.
STEP 8 now connect the black wire, that is next to the white wire on the small driver to the black wire coming from the junction box.
Wiring is complete.
GROUNDING INSTRUCTIONS
CEILING hung fixtures:
Loop driver ground wire (GND) (typically copper or green plastic coated) under the head of the green ground screw on the fixture mounting strap and connect to the loose end of the fixture ground wire (GND) directly to the ground wire of the building system with the appropriate size twist-on wire connector.
Folio wiring option 2
Item No. 32506 / 32508
There are two wiring options available on this fixture. The following text outlines wiring option 1. When fixture is wire accordingly the fixture or the canopy can be illuminated separately.
NOTE: DO NOT ATTACH THE BLACK OR RED WIRES FROM YOUR FIXTURE DRIVERS TO THE SUPPLY WIRES COMING FROM THE JUNCTION BOX. IT WILL DAMAGE THE LEDS AND FIXTURE WILL HAVE TO BE REPLACED AT CUSTOMERS EXPENSE.
STEP 1 connect the red wire exiting the fixture stem, to the red wire on the driver located in the mounting bracket -see DRAWING 1.
STEP 2 next to the red wire on the driver, there is a black wire. Connect this wire to the black wire exiting from the fixture stem.
STEP 3 on the driver there is a black and white wire next to each other – see DRAWING 2. Connect the white wire from the driver to the white coming from the junction box.
STEP 4 to complete the wiring connect the black wire from the from the driver to the black wire from fixture switch in wall.
STEP 5 slip canopy (2) along stems and up to ceiling, inside the canopy there is a red and black wire the is connected to the band of LEDs mounted on the outside surface of the canopy. Take the red wire and connect it to the red wire coming from the smaller driver – see DRAWING 2.
STEP 6 now take the black wire from the LED band and connect it to the black wire, next to the red wire coming from the smaller driver.
STEP 7 now connect the white wire coming from the smaller driver to the white wire coming from the junction box.
STEP 8 now connect the black wire, that is next to the white wire on the small driver to the black wire coming from the canopy switch in wall.
Wiring is complete.
GROUNDING INSTRUCTIONS
CEILING hung fixtures:
Loop driver ground wire (GND) (typically copper or green plastic coated) under the head of the green ground screw on the fixture mounting strap and connect to the loose end of the fixture ground wire (GND) directly to the ground wire of the building system with the appropriate size twist-on wire connector.
















