32703 Reverie LED 20 Inch Champagne
Gold Indoor Chandelier Ceiling Light
Instruction Manual
32703 Reverie LED 20 Inch Champagne Gold Indoor Chandelier Ceiling Light

- Find a clear area in which you can work.
- Unpack fixture and glass from carton.
- Carefully review instructions prior to assembly.
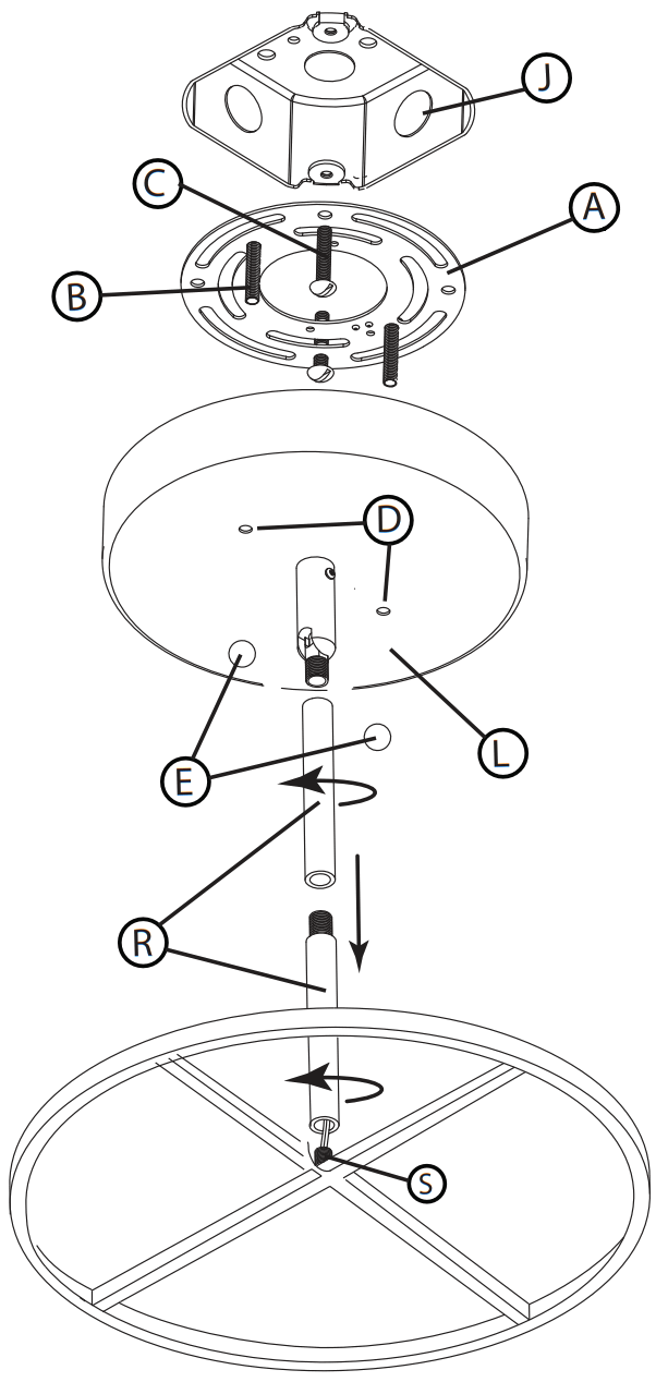
STEM HUNG FIXTURE.
- To begin assembly of the fixture it will first be necessary to determine the number of stems that will be required of hanging your fixture at the correct height. The fixture is supplied with 2-12” stems and 1-6” stem. Additional stems can be purchased it needed.
- Take a stem (R) and feed the fixture wires through the center hole. Now slide stem along wire and thread it onto the socket / fitter (S) – see DRAWING 1. Continue adding stems and threading them together until all required stems are together.
- Now take the canopy (L) with the swivel and slip fixture wires through the center hole of the swivel. Slide canopy along wire and thread into the top of the last stem.
- Fixture is ready for installation.
SAFETY WARNING: READ WIRING AND GROUNDING INSTRUC- TIONS (I.S. 18) AND ANY ADDITIONAL DIRECTIONS. TURN POWER SUPPLY OFF DURING INSTALLATION. IF NEW WIRING IS REQUIRED, CONSULT A QUALIFIED ELECTRICIAN OR LOCAL AUTHORITIES FOR CODE REQUIREMENTS. STEP 2
- To begin installation of your fixture. Prepare mounting strap (A) by threading the two long mounting screws (B) into the back of the mounting strap. The side of the mounting strap that the head of the ground screw is on, is the front – see Drawing 1.
Be sure the holes into which the screws are threaded match the spacing of holes (D) in the back plate (E). - Attach mounting strap (A) to junction box (J) using two screws (C) NOT PROVIDED.
- Now take assembled fixture body and make all necessary wiring connections following instruction sheet IS-18 provided.
- After all wiring connection are made. To mount the fixture to ceiling, slip the two mounting screws (B) through the two mounting holes (D) in the backplate (E) – see Drawing 1.
- While holding fixture in place, thread the two ball knobs (F) on to the end of the mounting screws (B), and tighten.
REVERIE
CRYSTAL PANEL LOCATION AND INSTALLATION:
Your fixture is supplied with 2 size crystal panels.
small panel – 4” long and 1.5” wide large panel – 7.25” long and 1.5” wide.
There are two rings that attach to the fixture , and upper and lower ring.
The 32 small crystal panels attach to the top ring.
The 26 large panels attach to the lower ring.
After crystal panels are attached the xture can be lamped and the shade attached.
[ DR AWI NG 1]
Assembly Instructions
- Find a clear area in which you can work.
- Unpack fixture and glass from carton.
- Carefully review instructions prior to assembly.
MOUNTING CLOSE TO CEILING
Shut off electrical current befoer starting. If the fixture you are replacing is turned on and off by a wall switch, simply turn the switch off. If not, remove the appropriate fuse (or open the circuit breakers) until the fixture is dead. DO NOT restore current – either by fuse, breaker, or switch – until the new fixture is completely wired and in place.
STEP 1
- To begin assembly of your fixture first slip 3-1/16” stem (1) along wire and thread onto threaded tube (A) and tighten – see DRAWING 1.
- Next take canopy with swivel (2) and slip wire through swivel and thread onto top of stem (1).
- Prepare mounting plate (B) for mounting by installing screws (A) into mounting plate (B) – see Drawing 1.
* Be sure the holes into which the screws are threaded match the spacing of holes (C) in the canopy (1). - Attach mounting plate (B) to junction box (J), using screws (G) not provided and slip supply wires through large center hole.
SAFETY WARNING: READ WIRING AND GROUNDING INSTRUCTIONS (1S. 18) AND ANY ADDITIONAL DIRECTIONS. TURN POWER SUPPLY OFF DURING INSTALLATION. IF NEW WIRING IS REQUIRED, CONSULT A QUALIFIED ELECTRICIAN OR LOCAL AUTHORITIES FOR CODE REQUIREMENTS.
Make electrical connections from supply wire to fixture lead wires.
Refer to instruction sheet (1.8.18) and follow all instructions to make all necessary wiring connections. Then refer back to this sheet to complete installation of this fixture. - Hang the fixture by slipping canopy (D) over screws (A) and holding in position – see Drawings 1.
- Thread ball knobs (E) onto end of screws (A) and tighten to secure fixture to ceiling.

WIRING AND GROUNDING INSTRUCTIONS
Safety Warning:
Read wiring and grounding instructions [FRIS 18] and any additional directions. Turn power supply off during installation. If new wiring is required, consult a qualified electricianor local authorities for code requirements.
STEP 1 WIRING INSTRUCTIONS
Indoor Fixtures
- Connect positive supply wire (A) (typically black or the smooth, unmarked side of the two-conductor cord) to positive fixture lead (B) with appropriately sized twist on connector – See Drawing 1 or 2.
- Connect negative supply wire (C) (typically white or the ribbed, marked side of the two-conductor cord) to negative fixture lead (D)
- Please refer to the grounding instructions below to complete all electrical connections.

Outdoor Fixtures
- Connect positive supply wire (A) (typically black or the smooth, unmarked side of the two-conductor cord) to positive fixture lead (B) with appropriately sized twist on connector – See Drawing 1 or 2.
- Connect negative supply wire (C) (typically white or the ribbed, marked side of the two-conductor cord) to negative fixture lead (D)
- Cover open end of connectors with silicone sealant to form a watertight seal.
• If installing a wall mount fixture, use caulk to seal gaps between the fixture mounting plate (backplate) and the wall. This will help prevent water from entering the outlet box. If the wall surface is lap siding, use caulk and a fixture mounting platform specially. - Please refer to the grounding instructions below to complete all electrical connections.

GROUNDING INSTRUCTIONS
Flush Mount Fixtures
For positive grounding in a 3-wire electrical system, fasten the fixture ground wire (E) (typically copper or green plastic coated) to the fixture mounting strap (1) with the ground screw (2) – See Drawing 1.
Note: On straps for screw supported fixtures, first install the two mounting screws in strap.
Any remaining tapped hole may be used for the ground screw.
Chain Hung Fixtures
Loop fixture ground wire (E) (typically copper or green plastic coated) under the head of the ground screw (2) on fixture mounting strap (1) and connect to the loose end of the fixture ground wire directly to the ground wire of the building system with appropriately sized twist-on connectors – See Drawing 2.
Post-Mount Fixtures
Connect fixture ground wire (E) (typically copper or green plastic coated) to power supply ground with appropriately sized twist-on connector inside post. Cover open end of connector with silicone sealant to form a watertight seal See Drawing 3. 
A Division of Hinkley Lighting, Inc.
33000 PIN OAK PARKWAY | AVON LAKE, OHIO 44012
toll free 800.446.5539 | phone 440.653.5500
















