LARK 83573 Auggie 31 Inch 3 Light LED Chandelier Instruction Manual
Mounting Instructions
- Find a clear area in which you can work.
- Unpack fixture from carton
- Carefully review instructions prior to assembly.
Stem Install
- Determine the desired height at which the pendent will be installed
- The fixture is supplied with assorted stem sizes. Determine what combination of stems are needed to achieve desired length.
- SIip stems over wire and thread first stem onto top of pendent, longest stem first. Repeat process until all required stems are thread together.
- After last stem is threaded on take the canopy with the swivel and lace wire through center hole in swivel and slip along wire and thread swivel into top of last stem.
Fixture Mounting
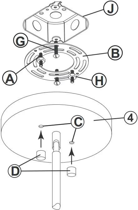
- Prepare mounting strap (B) for mounting by installing screws (A) in mounting plate (B) – see Drawing 2.
• Be sure the holes into which the screws are threaded match spacing of holes (C) in the canopy (4). - Attach mounting plate (B) to junction box (J), using screws (G) NOT provided and slip supply wires through large center hole in mounting plate (B).
- Now adjust screws (A) so the screw will extend 3/16″ past the face of the canopy, when canopy is flush against ceiling. after screws are adjusted tighten hex nut (H) to lock screws in place.
- Make electrical connections from supply wire to fixture lead wires. Refer to instruction sheet (IS 18) and follow all instructions to make all necessary wiring connections.
- Hold fixture towards ceiling and slip mounting holes (C) in canopy (4) over screws (A).
- Secure canopy by threading barrel knobs (D) onto screws (A).
SAFETY WARNING:
READ WIRING AND GROUNDING INSTRUCTIONS (IS-18) AND ANY ADDITIONAL DIRECTIONS. TURN OFF POWER SUPPLY DURING INSTALLATION. IF NEW WIRING IS REQUIRED, CONSULT A QUALIFIED ELECTRICIAN OR LOCAL AUTHORITIES FOR CODE REQUIREMENTS.

- Lamp fixture using appropriate candle base bulb
- Place glass (1) over socket and into glass holder (2)
- Use coupler (3) to secure glass
- Repeat process for the over glass pieces
- Fixture can now be powered on
Note arms are able to be rotated 180 degrees as shown in drawing 4
wiring grounding instructions
SAFETY WARNING: READ WIRING AND GROUNDING INSTRUCTIONS (IS 18) AND ANY ADDITIONAL DIRECTIONS. TURN POWER SUPPLY OFF DURING INSTALLATION. IF NEW WIRING IS REQUIRED, CONSULT A QUALIFIED ELECTRICIAN OR LOCAL AUTHORITIES FOR CODE REQUIREMENTS
wiring instructions
Indoor Fixtures
- Connect positive supply wire (A) (typically black or the smooth, unmarked side of the two-conductor cord) to positive fixture lead (B) with appropriately sized twist on connector – see Drawings 1 or 2.
- Connect negative supply wire (C) (typically white or the ribbed, marked side of the two-conductor cord) to negative fixture lead (D).
- Please refer to the grounding instructions below to complete all electrical connections
Outdoor Fixtures
- Connect positive supply wire (A) (typically black or the smooth unmarked side of the two-conductor cord) to positive fixture lead (B) with appropriately sized twist on connector — see Drawings 2 or 3.
- Connect negative supply wire (C) (typically white or the ribbed, marked side of the two-conductor cord) to negative fixture lead (D).
- Cover open end of connectors with silicone sealant to form a watertight seal. If installing a wall mount fixture, use caulk to seal gaps between the fixture mounting plate (backplate) and the wall. This will help prevent water from entering the outlet box. If the wall surface is lap siding, use caulk and a fixture mounting platform specially.
- Please refer to the grounding instructions below to complete all electrical connections.
grounding instructions
Flush Mount Fixtures
For positive grounding in a 3-wire electrical system, fasten the fixture ground wire (E) (typically copper or green plastic coated) to the fixture mounting strap (M) with the ground screw (S) – see Drawing 1.
Note: On straps for screw supported fixtures, first install the two mounting screws in strap. Any remaining tapped hole may be used for the ground screw.
Chain Hung Fixtures
Loop fixture ground wire (E) (typically copper or green plastic coated) under the head of the ground screw (S) on fixture mounting strap (M) and connect to the loose end of the fixture ground wire directly to the ground wire of the building system with appropriately sized twist-on connectors – see Drawing 2.
Post-Mount Fixtures
Connect fixture ground wire (E) (typically copper or green plastic coated) to power supply ground with appropriately sized twist-on connector inside post. Cover open end of connector with silicone sealant to form a watertight seal – see Drawing 3.














