LNC A05048 Astrideer 6 Light Polished Gold Modern Contemporary LED Dry Rated Chandelier

Product Information
Item Number: A05048
Contact Information: +1 850 296 2377 (Working hours: Mon – Fri 9:00 – 16:00 EST)
Email: [email protected]
Product Warnings:
- We suggest installation by a licensed electrician.
- Please read the instruction carefully and save it as you may need it at a later time.
- Before you start, NEVER attempt any work without shutting off the electricity until the work is done.
Product Usage Instructions
- Mounting surface should be clean, dry, flat, strong enough, and 1/4 larger than the canopy on all sides. Any gaps between the mounting surface and canopy exceeding 3/16 should be corrected as required.
- Make sure that the ceiling or wall can stand the weight of the lamp before installation.
- Make sure the voltage you are using is 120V. The maximum wattage is Type B, Max 40W per bulb.
- Keep the lamp away from acidic and alkaline substances to avoid damaging the surface of the lamp.
- When replacing bulbs, turn off or unplug the lamp and wait until it is cool as bulbs get hot quickly.
- Follow the safety instructions in the manual and use common sense, caution, and care with any electrical products.
Tools Required:
- Ladder
- Philips Head or Flat Blade Screwdriver
- Electrical Tape
- Pliers
- Wire Cutter/Stripper
Parts Included:
| Part Type & Quantity |
|---|
| (C) Mounting plate (1) |
| (D) Green ground screw (1) |
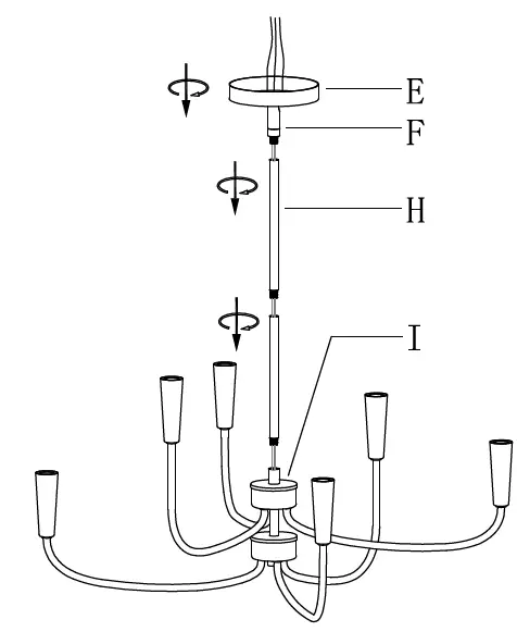
| (E) Canopy (1) |
| (F) Swivel joint (1) |
| (G) Knob nut (2) |
| (H) Tube |
| (I) Arms assembly (1) |
| (J) Arm-A (2) |
| (K) Arm-B (2) |
| (L) Arm-C (2) |
Accessories Included:
| Accessory & Quantity |
|---|
| (A) Plastic wire connector (3) |
| (B) Mounting screw (2) |
Assembly & Installation Instructions
- Carefully remove the fixture from the carton and check that all parts and accessories are included as shown in the provided illustration.
- Turn off power before starting the installation. NEVER attempt any work without shutting off the electricity until the work is done.
- Remove the mounting plate (C).
- Choose the desired tubes (H) and pass the fixture wires through them, the swivel joint (F), and the canopy (E).
- Screw the chosen tubes (H) into the swivel joint (F) and the top of the arms assembly (I) and then hand tighten until snug.
- Connect wires as shown in the provided wires connection chart. Note that the ground wire is a bare copper wire, never connect other wires to ground wires.
- Connect ground wires according to the provided ground wire connection chart.
- Connect black or red supply wire to the outlet box ground using the green ground screw.
- Connect white supply wire to the fixture ground using dimples.
- For parallel cords, connect black or white supply wire to clear, brown, gold, or black without tracer insulated wire with a copper conductor.
Item Number: A05048
WARNING (To reduce the risk of fire, electric shock, or personal injury):
- We suggest installation by a licensed electrician.
- Please read the instruction carefully and save it as you may need it at a later time.
- Before you start, NEVER attempt any work without shutting off the electricity until the work is done.
» Go to the main fuse, or circuit breaker, box in your home.
Place the main power switch in the “OFF” position.
» Place the wall switch in the “OFF” position. - Mounting surface should be clean, dry, flat, strong enough and 1/4” larger than the canopy on all sides. Any gaps between the mounting surface and canopy exceeding 3/16” should be corrected as required.
- Make sure that the ceiling or wall can stand the weight of the lamp before installation.
- Make sure the voltage you are using is 120V. The maximum wattage is Type B, Max 40W per bulb.
- Keep the lamp away from acidic and alkaline substances in case of damaging the surface of the lamp.
- When replacing bulbs, you should turn off or unplug the lamp and you must wait until it is cool as bulbs get hot quickly.
- The safety instructions appearing in this manual are not meant to cover all possible conditions that may occur. It must be understood that common sense, caution and care must be used with any electrical products.
IMAGE FOR FINISHED PRODUCT:

TOOLS REQUIRED (NOT INCLUDED):
Before starting assembly and installation please prepare the needed tools as below picture

PARTS TYPE & QTY INCLUDING:
- (C) Mounting plate (1)
- (D) Green ground screw (1)
- (E) Canopy (1)
- (F) Swivel joint (1)
- (G) Knob nut (2)
- (H) Tube
- (I) Arms assembly (1)
- (J) Arm-A (2)
- (K) Arm-B (2)
- (L) Arm-C (2)

ACCESSORIES & QTY ENCLOSED:
- (A) Plastic wire connector (3)
- (B) Mounting screw (2)
ASSEMBLY & INSTALLATION INSTRUCTIONS:
- Carefully remove the fixture from the carton and check that all parts and accessories are included as shown in the above illustration.
- Turn off power
Before you start the installation, NEVER attempt any work without shutting off the electricity until the work is done.
» Go to the main fuse, or circuit breaker, box in your home.
Place the main power switch in the “OFF” position.
» Place the wall switch in the “OFF” position. - Unscrew knob nuts (G) from canopy (E) and then gently remove mounting plate (C).
Adjust each arm (L), (K), (J) to an angle of 60° between the two as shown in the illustration. 
- According to your desired hanging height to choose and use tubes (H).
- Then pass the fixture wires through the chosen tubes (H), swivel joint (F) and canopy (E).
- Screw the chosen tubes (H) into swivel joint (F) and the top of arms assembly (I) and then hand tighten till snug.

- Attach mounting plate (C) to the outlet box with mounting screws (B).

- Make wire connections
Connect wires as below wires connection shown. PLEASE NOTE THAT GROUND WIRE IS BARE COPPER WIRE, NEVER CONNECT OTHER WIRES TO GROUND WIRES.
Connect ground wires according to the below chart
Connect wires according to the below chart
* Note: When parallel wires (SPT I& SPT ll) are used. The neutral wire is square shaped or ridged and the other wire will be round in shape or smooth (see illus.) 
- Twist wires together with plastic wire connectors (A) until tightly joined.
- Wrap each connector with approved electrical tape.
- Be sure that no wire strands are exposed and then carefully tuck all wires into the outlet box.
- Raise canopy (E) to the ceiling and secure canopy (E) in place by tightening knob nuts (G) onto the pre-assembled screws in mounting plate (C).
Note: canopy (E) should be snug against the ceiling and knob nuts (G).
If not, adjust the threaded length on mounting plate (C):- Unscrew the pre-assembled hex nuts.
- Screw the pre-assembled screws in or out of mounting plate (C).
- When the secure length is achieved, tighten the hex nuts and back to step
- Install bulbs (not included) (Please do not exceed the maximum wattage recommended on the socket.)

- Check everything is already installed properly, then you could turn on the light. Enjoy!
ORDERING PARTS
Keep this sheet for future reference in case you need to order replacement parts. All parts for this fixture can be ordered from the place of purchase. Be sure to use exact wording from illustration when ordering parts.
CLEANING
To clean, wipe the fixture with a soft cloth. Clean glass with a mild cleaner (such as mild and non-abrasive soap). Do not use abrasive materials such as scouring pads or powders, steel wool or abrasive paper.

Adjust each arm (L), (K), (J) to an angle of 60° between the two as shown in the illustration. 


Connect wires according to the below chart
* Note: When parallel wires (SPT I& SPT ll) are used. The neutral wire is square shaped or ridged and the other wire will be round in shape or smooth (see illus.) 
Note: canopy (E) should be snug against the ceiling and knob nuts (G).















