Item Number: A04419
A04419 3-Light Black/White Gold Modern/Contemporary LED Chandelier
WARNING (To reduce the risk of fire, electric shock, or personal injury):
- We suggest installation by a licensed electrician.
- Please read the instruction carefully and save it as you may need it at a later time.
- Before you start, NEVER attempt any work without shutting off the electricity until the work is done.
» Go to the main fuse, or circuit breaker, box in your home.
Place the main power switch in the “OFF” position.
» Place the wall switch in the “OFF” position. - Mounting surface should be clean, dry, flat, strong enough and 1/4” larger than the canopy on all sides.
Any gaps between the mounting surface and canopy exceeding 3/16” should be corrected as required. - Make sure that the ceiling or wall can stand the weight of the lamp before installation.
- Make sure the voltage you are using is 120V. The maximum wattage is 17W.
- Keep the lamp away from acidic and alkaline substances in case of damaging the surface of the lamp.
- When replacing bulbs, you should turn off or unplug the lamp and you must wait until it is cool as bulbs get hot quickly.
- The safety instructions appearing in this manual are not meant to cover all possible conditions that may occur. It must be understood that common sense, caution and care must be used with any electrical products.
IMAGE FOR FINISHED PRODUCT:

ORDERING PARTS
Keep this sheet for future reference in case you need to order replacement parts. All parts for this fixture can be ordered from the place of purchase. Be sure to use exact wording from illustration when ordering parts.
CLEANING
To clean, wipe the fixture with a soft cloth. Clean glass with a mild cleaner (such as mild and nonabrasive soap). Do not use abrasive materials such as scouring pads or powders, steel wool or abrasive paper.
TOOLS REQUIRED (NOT INCLUDED):
Before starting assembly and installation please prepare the needed tools as below picture

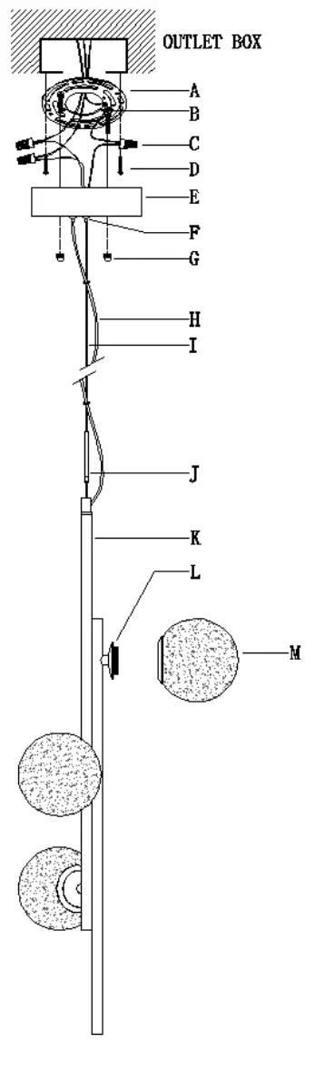
PARTS TYPE & QTY INCLUDING:
(A) Mounting plate (1)
(B) Green ground screw (1)
(E) Canopy (1)
(F) Lock nut (2)
(G) Knob nut (2)
(H) Cable (1)
(I) Steel wire (1)
(J) Tube (I)
(K) Fixture body (1)
(L) Socket (3)
(M) Glass shade (3)

ACCESSORIES & QTY ENCLOSED:
(C) Wire connector (3)
(D) Mounting screw (2)
ASSEMBLY & INSTALLATION INSTRUCTIONS:
- Carefully remove the fixture from the carton and check that all parts and accessories are included as shown in the above illustration.
- Turn off power
Before you start the installation, NEVER attempt any work without shutting off the electricity until the work is done.
» Go to the main fuse, or circuit breaker, box in your home.
Place the main power switch in the “OFF” position.
» Place the wall switch in the “OFF” position. - Make installation

Step A1 » Unscrew knob nuts (G) from canopy (E) then remove mounting plate (A).
Step A2 » Attach mounting plate (A) to the outlet box with mounting screws (D).
Step A3 » Make wire connections
Connect wires as below wires connection shown. PLEASE NOTE THAT GROUND WIRE IS BARE COPPER WIRE, NEVER CONNECT OTHER WIRES TO GROUND WIRES.
Connect ground wires according to the below chart

Connect wires according to the below chart
| Connect Black or Red Supply Wire to: | Connect White Supply Wire to: |
| Black | White |
| *Parallel cord ( round & smooth ) | *Parallel cord ( square & ridged ) |
| Clear,Brown,Gold or Black without tracer | Clear,Brown,Gold or Black with tracer |
| Insulated wire ( other than green ) with copper conductor | Insulated wire ( other than green ) with silver conductor |

*Note: When parallel wires ( SPT I & SPT II ) are used. The neutral wire is square shaped or ridged and the other wire will be round in shape or smooth ( see illus. )
Twist wires together with plastic wire connectors until tightly joined, and wrap each connector with approved electrical tape. Be sure that no wire strands are exposed and then carefully tuck all wires into the outlet box.
Step A4 » Raise canopy (E) to the ceiling and secure canopy (E) in place by tightening knob nuts (G) onto thepreassembled screws in mounting plate (A).
NOTE: canopy (E) should be snug against the ceiling with knob nuts (G). If not, decrease or increase the threaded length of preassembled screws, then tighten the pre assembled hex nuts and back to Step A4.
Step A5 » Screw tube (J) onto the top of fixture body (K), and screw glass shades (M) onto sockets (L).
To adjust the hanging height of the fixture:
• press down and hold lock nuts (F) by hand;
• pull or push cable (H) and steel wire (I) in and out of canopy (E) to increase or decrease the hanging height.
4. Check everything is already installed properly, then you could turn on the light. Enjoy!
+1 850 296 2377 Working hours : Mon Fri 9:00 a.m. 16:00 p.m. EST
[email protected]
www.ihomeangel.com



















