Contents hide
ZEVNI A04427 Daron 6-Light Black-Gold Modern-Contemporary LED Chandelier

INSTRUCTION
WARNING (To reduce the risk of fire, electric shock, or personal injury):
- We suggest installation by a licensed electrician.
- Please read the instruction carefully and save them as you may need them at a later time.
- Before you start, NEVER attempt any work without shutting off the electricity until the work is done.
- Go to the main fuse, or circuit breaker, box in your home.
Place the main power switch in the “OFF” position. - Place the wall switch in the “OFF” position.
- Go to the main fuse, or circuit breaker, box in your home.
- Mounting surface should be clean, dry, flat, strong enough, and 1/4” larger than the canopy on all sides. Any gaps between the mounting surface and canopy exceeding 3/16” should be corrected as required.
- Make sure that the ceiling or wall can stand the weight of the lamp before installation.
- Make sure the voltage you are using is 120V. The maximum wattage is 36W.
- Keep the lamp away from acidic and alkaline substances in case of damaging the surface of the lamp.
- When replacing bulbs, you should turn off or unplug the lamp and you must wait until it is cool as bulbs get hot quickly.
- The safety instructions appearing in this manual are not meant to cover all possible conditions that may occur. It must be understood that common sense, caution and care must be used with any electrical products.
IMAGE FOR FINISHED PRODUCT

TOOLS REQUIRED NOT INCLUDED
Before starting assembly and installation please prepare the needed tools as below picture
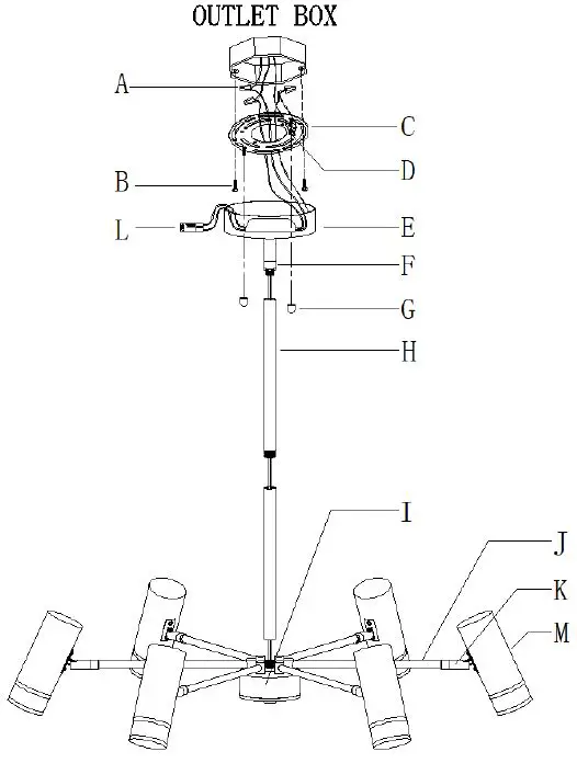
PARTS TYPE & QTY INCLUDING
- (C) Mounting plate (1)
- (D) Green ground screw (1)
- (E) Canopy (1)
- (F) Swivel joint (1)
- (G) Knob nut (2)
- (H) Tube
- (I) Arms assembly (1)
- (J) Arm (6)
- (K) Movable joint (6)
- (L) Quick wire connector (1)
- (M) Socket (6)
ACCESSORIES & QTY ENCLOSED
- (A) Plastic wire connector (3)
- (B) Mounting screw (2)

ASSEMBLY & INSTALLATION INSTRUCTIONS
- Carefully remove the fixture from the carton and check that all parts and accessories are included as shown in the above illustration.
- Turn off power
Before you start the installation, NEVER attempt any work without shutting off the electricity until the work is done.- Go to the main fuse, or circuit breaker, box in your home.
Place the main power switch in the “OFF” position. - Place the wall switch in the “OFF” position.
- Go to the main fuse, or circuit breaker, box in your home.
- Unscrew knob nuts (G) from the canopy (E) then remove the mounting plate (C).

- Adjust arms (J) to the proper position.

- According to your desired hanging height choose and use tubes (H). Then pass the fixture wires through the chosen tubes (H), swivel joint (F), and canopy (E).
- Be sure that all the threaded pipes are tightened, then screw the chosen tubes (H) onto the swivel joint (F) and the top of the arms assembly (I). Hand tightens till snug.

- To make the first wire connections:
NOTE: According to the labels on the fixture wires, insert the fixture wires into the positive terminal (marked + ) and the negative terminal (marked – ) of the quick wire connector (L) as the illustration shows.
- Attach mounting plate (C) to the outlet box with mounting screws (B).

- Make the second wire connections
Connect wires as below wires connection shown. PLEASE NOTE THAT GROUND WIRE IS BARE COPPER WIRE, NEVER CONNECT OTHER WIRES TO GROUND WIRES.
Connect ground wires according to the below chart
Connect wires according to the below chart 
Twist wires together with plastic wire connectors until tightly joined, and wrap each connector with approved electrical tape. Be sure that no wire strands are exposed and then carefully tuck all wires into the outlet box. - Raise canopy (E) to the ceiling and secure canopy (E) in place by tightening knob nuts (G) onto the preassembled screws in mounting plate (C).
Note: canopy (E) should be snug against the ceiling and knob nuts (G). If not, adjust the threaded length on the mounting plate assembly (C):- first, unscrew the preassembled hex nuts;
- then, screw the preassembled screws in or out of the mounting plate (C);
- when the secure length is achieved, tighten the hex nuts and back to step 9.
- Sockets (M) are adjustable:
- Rotate sockets (M) and movable joints (K) within 350 degrees.
- Move sockets (M) up and down within 90 degrees.

- Check everything is already installed properly, then you could turn on the light. Enjoy!
Contact Information
+1 850 296 2377 Working hours: Mon – Fri 9:00 a.m. – 16:00 p.m. EST
Email: [email protected].
Website: www.ihomeangel.com.







Connect wires according to the below chart 




















