ZEVNI A04637 Frey 4-Light Gold Modern-Contemporary Chandelier Installation Guide
WARNING
(To reduce the risk of fire, electric shock, or personal injury):
- We suggest installation by a licensed electrician.
- Please read the instruction carefully and save it as you may need it at a later time.
- Before you start, NEVER attempt any work without shutting off the electricity until the work is done.
- Go to the main fuse, or circuit breaker, box in your home.
Place the main power switch in the “OFF” position. - Place the wall switch in the “OFF” position.
- Go to the main fuse, or circuit breaker, box in your home.
- Mounting surface should be clean, dry, flat, strong enough and 1/4” larger than the canopy on all sides. Any gaps between the mounting surface and canopy exceeding 3/16” should be corrected as required.
- Make sure that the ceiling or wall can stand the weight of the lamp before installation.
- Make sure the voltage you are using is 120V. The maximum wattage is 18W.
- Keep the lamp away from acidic and alkaline substances in case of damaging the surface of the lamp.
- When replacing bulbs, you should turn off or unplug the lamp and you must wait until it is cool as bulbs get hot quickly.
- The safety instructions appearing in this manual are not meant to cover all possible conditions that may occur. It must be understood that common sense, caution and care must be used with any electrical products.
IMAGE FOR FINISHED PRODUCT:

ORDERING PARTS
Keep this sheet for future reference in case you need to order replacement parts. All parts for this fixture can be ordered from the place of purchase. Be sure to use exact wording from illustration when ordering parts
CLEANING
To clean, wipe the fixture with a soft cloth. Do not useabrasive materials such as scouring pads or powders, steel wool or abrasive paper.
TOOLS REQUIRED (NOT INCLUDED):
Before starting assembly and installation please prepare the needed tools as below picture
- Ladder

- Phillips head flat blade screwdriver

- Electrical tape

- Pliers

- Wire cutter/Stripper

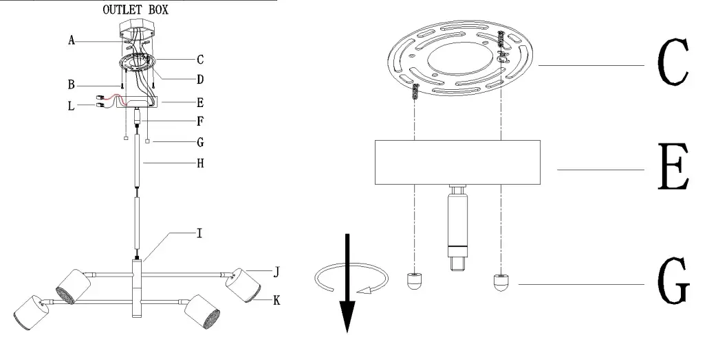
PARTS TYPE & QTY INCLUDING:
- (C) Mounting plate (1)
- (D) Green ground screw (1)
- (E) Canopy (1)
- (F) Swivel joint (1)
- (G) Knob nut (2)
- (H) Tube
- (I) Fixture body (1)
- (J) Socket (4)
- (K) Lampshade (4)
- (L) Quick wire connector (2)

ACCESSORIES & QTY ENCLOSED:
- (A) Plastic wire connector (3)
- (B) Mounting screw (2)
ASSEMBLY & INSTALLATION INSTRUCTIONS:
- Carefully remove the fixture from the carton and check that all parts and accessories are included as shown in the above illustration.
- Turn off power Before you start the installation, NEVER attempt any work without shutting off the electricity until the work is done
- Go to the main fuse, or circuit breaker, box in your home. Place the main power switch in the “OFF” position.
- Place the wall switch in the “OFF” position.
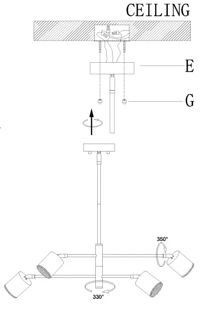
- Unscrew knob nuts (G) from canopy (E) then remove mounting plate (C).
- According to your desired hanging height to choose and use tubes (H). Then pass the fixture wires through the chosen tubes (H), swivel joint (F) and canopy (E).
- Be sure that all the threaded pipes are tightened, then screw the chosen tubes (H) onto swivel joint (F) and the top of fixture body (I).Hand tighten till snug
- To make the first wire connections:
- Choose the empty slot of quick wire connectors (L), and open the handles of quick wire connectors (L) to the vertical position.
- Insert the fixture wire into the corresponding slot.
NOTE: The colors of both the existed wires on quick wire connectors (L) and the fixture wires should match. - Press down and close the handle of the quick wire connectors (L), then the wires can be connected.
- Attach mounting plate (C) to the outlet box with mounting
screws (B).
- Make the second wire connections
Connect wires as below wires connection shown. PLEASE NOTE THAT GROUND WIRE IS BARE COPPER WIRE, NEVER CONNECT OTHER WIRES TO GROUND WIRES.
Connect ground wires according to the below chart.

Connect black or red supply wire to: Connect white supply wire to: Black white Parallel cord (round &smooth) Parallel cord(square & rigid) Clear brown ,gold or black without tracer Clear brown ,gold or black with tracer Insulated wire (other than green) with copper conductor Insulated wire (other than green with silver conductor Note:When parallel wire (SPT I &SPT II) are used.the neutral wire is square shaped or ridged and other wire will be round in shape or smooth (see illus)

Twist wires together with plastic wire connectors until tightly joined, and wrap each connector with approved electrical tape. Be sure that no wire strands are exposed and then carefully tuck all wires into the outlet box. - Raise canopy (E) to the ceiling and secure canopy (E) in place by tightening knob nuts (G) onto the preassembled screws in mounting plate (C)

Note: canopy (E) should be snug against the ceiling and knob nuts (G). If not, adjust the threaded length on mounting plate assembly (C):
• first, unscrew the preassembled hex nuts;
• then, screw the preassembled screws in or out of mounting plate (C);
• when the secure length is achieved, tighten the hex nuts and back to step 8. - To adjust the position of lampshades (K):
● Rotate fixture body (I) within 330 degrees. To adjust the angle of lampshades (K):
● Rotate the swivel joints of sockets (J) within 350 degrees.
● Press sockets (J) up and down within 180 degrees.
10. Check everything is already installed properly, then you could turn on the light. Enjoy!





























