Rex 3-Light Gold Modern-Contemporary Chandelier
Installation Guide
A04431 Rex 3-Light Gold Modern-Contemporary Chandelier
Item Number: A04431
WARNING (To reduce the risk of fire, electric shock, or personal injury):
- We suggest installation by a licensed electrician.
- Please read the instruction carefully and save it as you may need it at a later time.
- Before you start, NEVER attempt any work without shutting off the electricity until the work is done.
» Go to the main fuse, or circuit breaker, box in your home.
Place the main power switch in the “OFF” position.
» Place the wall switch in the “OFF” position. - Mounting surface should be clean, dry, flat, strong enough and 1/4” larger than the canopy on all sides.
Any gaps between the mounting surface and canopy exceeding 3/16” should be corrected as required. - Make sure that the ceiling or wall can stand the weight of the lamp before installation.
- Make sure the voltage you are using is 120V. The maximum wattage is 46W.
- Keep the lamp away from acidic and alkaline substances in case of damaging the surface of the lamp.
- When replacing bulbs, you should turn off or unplug the lamp and you must wait until it is cool as bulbs get hot quickly.
- The safety instructions appearing in this manual are not meant to cover all possible conditions that may occur. It must be understood that common sense, caution and care must be used with any electrical products.
IMAGE FOR FINISHED PRODUCT:

TOOLS REQUIRED (NOT INCLUDED):
Before starting assembly and installation please prepare the needed tools as below picture
![]() | ![]() | ![]() | ![]() | ![]() |
| Ladder | Phillips head.flat blade screwdriver | Electrical tape | Pliers | Wire cutter/Stripper |
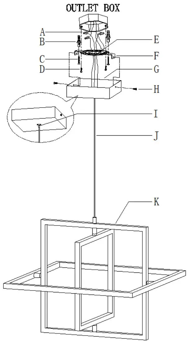
PARTS TYPE & QTY INCLUDING:
(E) Green ground screw (1)
(F) Mounting plate (1)
(G) Canopy (1)
(H) Stud (2)
(I) Lock nut (1)
(J) Cable (1)
(K) Fixture body (3)
ACCESSORIES & QTY ENCLOSED:
(A) Plastic wire connector (3)
(B) Anchor (2)
(C) Wood screw (2)
(D) Mounting screw (2)
ASSEMBLY & INSTALLATION INSTRUCTIONS:
- Carefully remove the fixture from the carton and check that all parts and accessories are included as shown in the above illustration.
- Turn off power
Before you start the installation, NEVER attempt any work without shutting off the electricity until the work is done.
» Go to the main fuse, or circuit breaker, box in your home.
Place the main power switch in the “OFF” position.
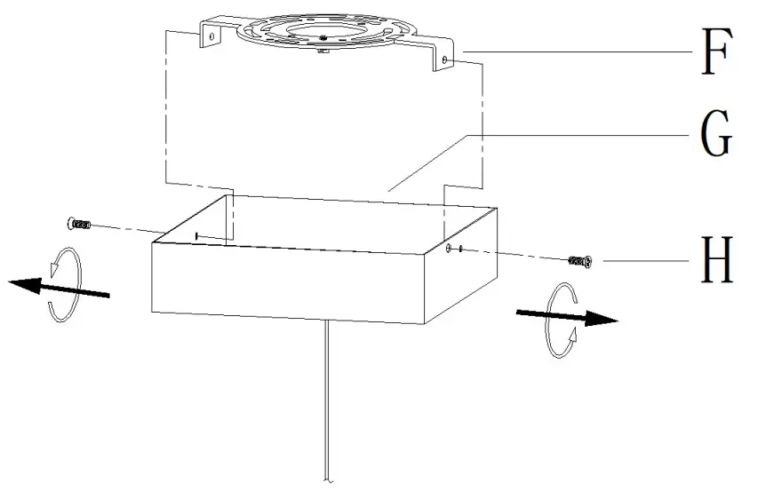
» Place the wall switch in the “OFF” position. - Unscrew studs (H) from canopy (G) then remove mounting plate (F).

- Attach mounting plate (F) to the outlet box with mounting screws (D).
Secure mounting plate (F) to the ceiling with anchors (B) and wood screws (C).
NOTE: To drill the holes on the wall for anchors (B):
• Attach mounting plate (F) to the outlet box with mounting screws (D) and mark the holes.
• Unscrew mounting screws (D) and remove mounting plate (F).
• Drill holes and gently knock anchors (B) into the holes until anchors (B) are level with the ceiling.
- Make wire connections
Connect wires as below wires connection shown. PLEASE NOTE THAT GROUND WIRE IS BARE COPPER WIRE, NEVER CONNECT OTHER WIRES TO GROUND WIRES.
Connect ground wires according to the below chart
Connect wires according to the below chartConnect Black or Red Supply Wire to: Connect White Supply Wire to: Black White *Parallel cord ( round & smooth) *Parallel cord ( square & ridged ) Clear,Brown,Gold or Black without tracer Clear,Brown,Gold or Black with tracer Insulated wire ( other than green) with copper conductor Insulated wire ( other than green ) with silver conductor
*Note: When parallel wires ( SPT I & SPT II ) are used. The neutral wire is square shaped or ridged and the other wire will be round in shape or smooth (see illus.) Twist wires together with plastic wire connectors until tightly joined, and wrap each connector with approved electrical tape. Be sure that no wire strands are exposed and then carefully tuck all wires into the outlet box. - Raise canopy (G) to the ceiling and secure canopy (G) in place by threading studs (H) into mounting plate (F) and canopy (G).

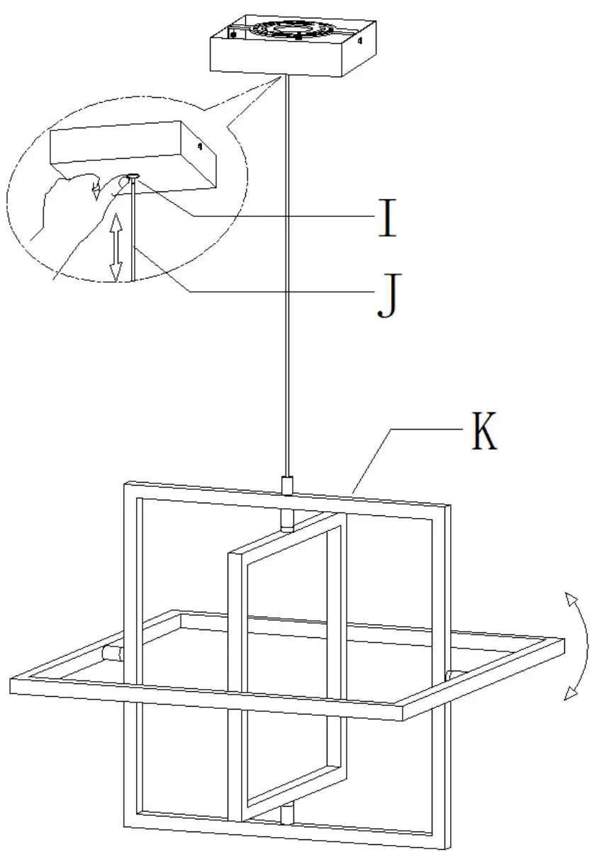
- 1) To adjust the hanging height of the fixture:
● press down and hold lock nut (I) by hand;
● pull or push cable (J) in and out of canopy (G) to increase or decrease the hanging height.
2) Adjust the angle of fixture body (K) to the proper position.
- Check everything is already installed properly, then you could turn on the light. Enjoy!
ORDERING PARTS
Keep this sheet for future reference in case you need to order replacement parts. All parts for this fixture can be ordered from the place of purchase. Be sure to use exact wording from illustration when ordering parts.
CLEANING
To clean, wipe the fixture with a soft cloth. Do not use abrasive materials such as scouring pads or powders, steel wool or abrasive paper.
+1 850 296 2377
Working hours : Mon Fri 9:00 16:00 EST
[email protected]
www.ihomeangel.com







Connect wires according to the below chart
*Note: When parallel wires ( SPT I & SPT II ) are used. The neutral wire is square shaped or ridged and the other wire will be round in shape or smooth (see illus.) Twist wires together with plastic wire connectors until tightly joined, and wrap each connector with approved electrical tape. Be sure that no wire strands are exposed and then carefully tuck all wires into the outlet box.




















