ZEVNI A04903 6-Light Gold Modern-Contemporary Chandelier

WARNING
(To reduce the risk of fire, electric shock, or personal injury):
- We suggest installation by a licensed electrician.
- Please read the instruction carefully and save it as you may need it at a later time.
- Before you start, NEVER attempt any work without shutting off the electricity until the work is done.
- Go to the main fuse, or circuit breaker, box in your home. Place the main power switch in the “OFF” position.
- Place the wall switch in the “OFF” position.
- Mounting surface should be clean, dry, flat, strong enough and 1/4” larger than the canopy on all sides. Any gaps between the mounting surface and canopy exceeding 3/16” should be corrected as required.
- Make sure that the ceiling or wall can stand the weight of the lamp before installation.
- Make sure the voltage you are using is 120V. The maximum wattage is Type B, Max. 40W per bulb.
- Keep the lamp away from acidic and alkaline substances in case of damaging the surface of the lamp.
- When replacing bulbs, you should turn off or unplug the lamp and you must wait until it is cool as bulbs get hot quickly.
- The safety instructions appearing in this manual are not meant to cover all possible conditions that may occur. It must be understood that common sense, caution and care must be used with any electrical products.
IMAGE FOR FINISHED PRODUCT

TOOLS REQUIRED (NOT INCLUDED):
Before starting assembly and installation please prepare the needed tools as below picture

PARTS TYPE & QTY INCLUDING

- (C) Single bar (1)
- (D) Green ground screw (1)
- (E) Canopy (1)
- (F) Collar ring (1)
- (G) Collar loop (1)
- (H) Quick link (5)
- (I) Chain (1)
- (J) Loop (1)
- (K) Fixture loop assembly (1)
- (L) Loop rod (3)
- (M) Stem (1)
- (N) Sockets assembly (1)
- (O) Iron ring (1)
- (P) Smaller glass (6)
- (Q) Connector-B (12)
- (R) Bigger glass (6)
- (S) Screw (12)
- (T) Connector-A (12)
ACCESSORIES & QTY ENCLOSED:
- (A) Wire connector (3)
- (B) Mounting screw (2)
ASSEMBLY & INSTALLATION INSTRUCTIONS:
- Carefully remove the fixture from the carton and check that all parts and accessories are included as shown in the above illustration.
- Make pre-installation

- Step A1 » Thread connector-A (T) into iron ring (O) as shown in the illustration.
- Step A2 »
- Thread connector-B (Q) into smaller glasses (P) and connector-A (T) as shown in the illustration.
- Thread screws (S) into bigger glasses (R) and connector-B (Q).
- Step A3 » Screw fixture loop assembly (K) and stem (M) together onto the top of sockets assembly (N).
- Step A4 »
- Hang loop rods (L) on fixture loop assembly (K).
- Attach quick links (H) to loop rods (L) and iron ring (O).

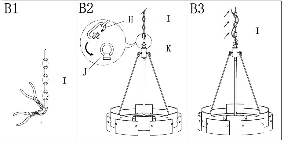
- Step B1 » By measuring, determine the correct number of links needed for proper hanging height. Using the chain pliers, disconnect and discard the unwanted part.
- Step B2 » Attach quick link (H) to chain (I) and loop (J) on the top of fixture loop assembly (K).
- Step B3 » Carefully weave the fixture wires through chain (I) in and out of every other link and stop just when you reach the top of chain (I). Gently pull the wires to ensure the wires are not stressed.
- Turn off power
Before you start the installation, NEVER attempt any work without shutting off the electricity until the work is done.- Go to the main fuse, or circuit breaker, box in your home. Place the main power switch in the “OFF” position.
- Place the wall switch in the “OFF” position.
- Make installation

- Step C1 » Remove collar ring (F) from collar loop (G). Attach single bar (C) to the outlet box with mounting screws (B).
NOTE: the side of single bar (C) marked “GND” must face out. - Step C2 » Raise canopy (E) over collar loop (G) and screw collar ring (F) to measure a proper position. Unscrew collar ring (F) from collar loop (G) and remove canopy (E). Refer to the following note, you would know the proper position where collar loop (G) should be located.
- Step C3 » Pass chain (I) through collar ring (F) and then through canopy (E).
- Step C4 » Open quick link (H), attach quick link (H) to collar loop (G). Close quick link (H). Pass the fixture wires through collar loop (G) to the top of the pre-assembled threaded nipple and gently pull to ensure the wires are not stressed.
- Step C5 » If needed, shorten the length of fixture wires. At this point, the remaining wire length measured above single bar (C) is at least 6″.
- Twist wires together with plastic wire connectors until tightly joined.
- Wrap each connector with approved electrical tape.
- Be sure that no wire strands are exposed and then carefully tuck all wires into the outlet box.
- Step C6 » Make wire connections
Connect wires as below wires connection shown. PLEASE NOTE THAT GROUND WIRE IS BARE COPPER WIRE, NEVER CONNECT OTHER WIRES TO GROUND WIRES.
- Step C7 » Raise canopy (E) to the ceiling and secure canopy (E) in place by tightening collar ring (F) onto collar loop (G).
- Step C8 » Install bulbs (not included) (Please do not exceed the maximum wattage recommended on the socket.)
- Step C1 » Remove collar ring (F) from collar loop (G). Attach single bar (C) to the outlet box with mounting screws (B).
- Check everything is already installed properly, then you could turn on the light. Enjoy!
ORDERING PARTS
Keep this sheet for future reference in case you need to order replacement parts. All parts for this fixture can be ordered from the place of purchase. Be sure to use exact wording from illustration when ordering parts.
CLEANING
To clean, wipe the fixture with a soft cloth. Clean glass with a mild cleaner (such as mild and non-abrasive soap). Do not use abrasive materials such as scouring pads or powders, steel wool or abrasive paper.
+1 850 296 2377
Working hours: Mon – Fri 9:00 – 16:00 EST
[email protected]























