
Installation sanleitung
BrackIT® XL HD | Art.-Nr.: 1987

Installation manual
1987 BrackIT XL HD
Caution!
Technical devices are of considerable value. You should therefore handle the components carefully during installation and protect them if necessary.
If necessary, the installation area should also be secured. Falling parts can cause injuries and material damage.
The materials included in the scope of delivery may not be suitable for the special conditions at the installation site. Please check this in advance and replace it with suitable materials if necessary.
If you are unsure about the installation of the product or have any questions, please contact us or other trained specialists.

Scope of delivery


Installation to a wood stud wall

2b Installation to a concrete wall

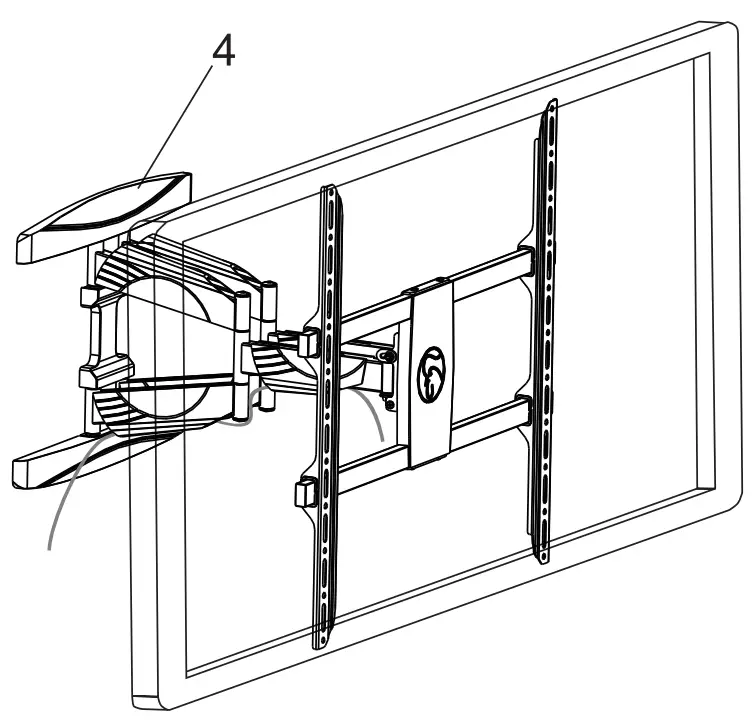
Installation of the VESA mount (flat back)

3b Installation of the VESA mount (irregular back)

Hanging the screen

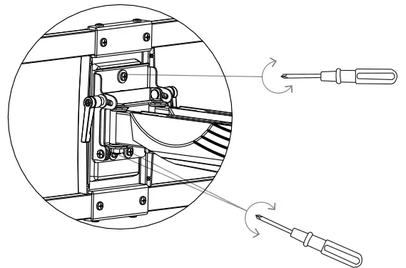
Tilt adjustment

Attention! By default the stiffness of the tilt function is deliberately set high. If a lighter setting is desired, loose the screws by using an allen key at the marked position.
Cable management
![]() | ![]() |
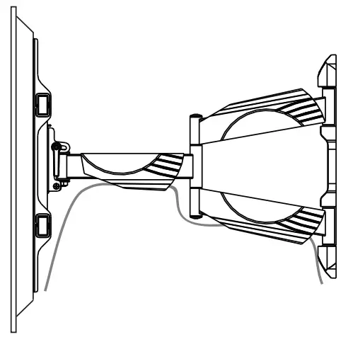
Adjustments
![]() | ![]() | ![]() |
Dimensions


HAGOR Products GmbH
Oberbecksener Straße 97
D-32547 Bad Oeynhausen
Telefon: +49(0)57 31-7 55 07-0
Mail: [email protected]























