HAGOR 8210 HP Twin Stand HD Instruction Manual
Caution!
Technical devices are of considerable value. You should therefore handle the components carefully during installation and protect them if necessary. If necessary, the installation area should also be secured. Falling parts can cause injuries and material damage. The materials included in the scope of delivery may not be suitable for the special conditions at the installation site. Please check this in advance and replace it with suitable materials if necessary. If you are unsure about the installation of the product or have any questions, please contact us or other trained specialists.
Please note!
Tightening Direction
Loosening Direction
Screwdriver
Metre Rule
Adjustment
by Hand
HexWrench
Scope of delivery


HARDWARE

INSTALLATION

WHEEL ADJUSTING

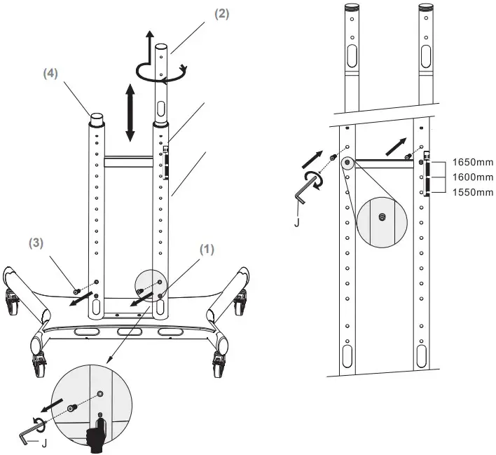
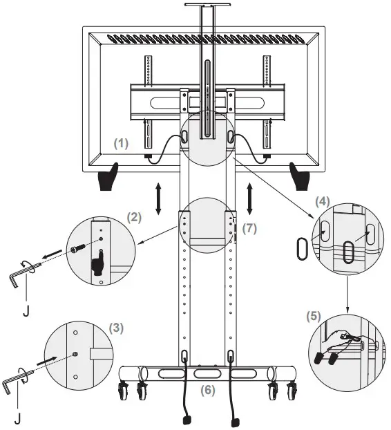
Make sure cabels management windows are facing the rear of base.


Use thumb or finger to depress the right upper pole spring plunger ball (1). Locted at the cable window, twist and pull upper pole upward until your desired height. As shown in the Picture on the left twist upper pole toward the plunger holes direction and engage the spring ball into the plunger hole (2). Repeat this for other pole (3 | 4). Tighten the locking screws on both sides as shown in the Picture on the right side.
optional


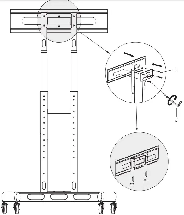
PLAT INSTALLATION

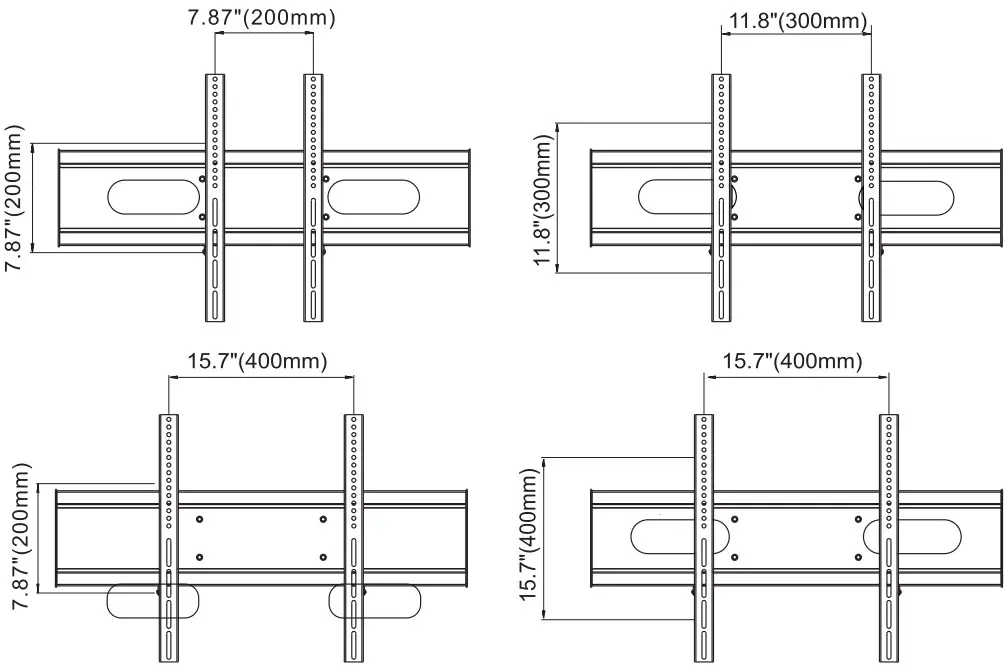
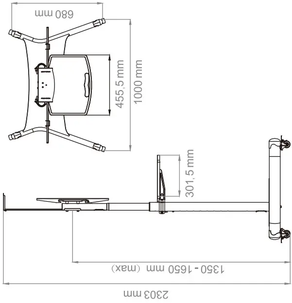
PRODUCT DIMENSION


INSTALLATION



Please note:
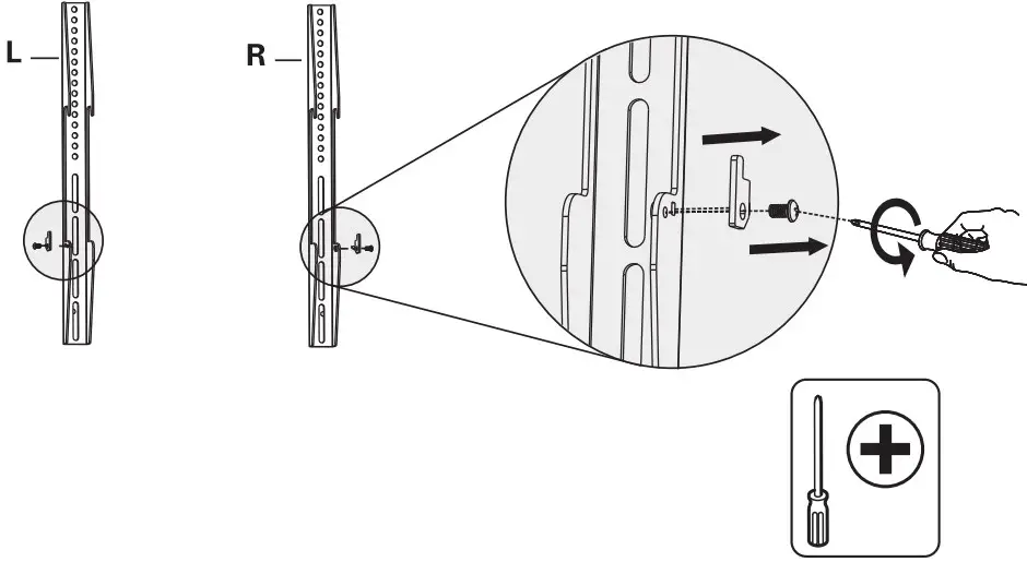
To avoid damage plastic spacer must be used when depth of mounting holes is minimal.
INSTALLATION THE SCREEN

Move TV to center.

optional


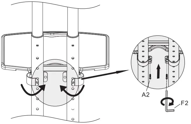
Two people are required to adjust the TV height. Person “A” holds the TV with 2 hands as shown in (1). Person „B“ loosens the safety screws from the left and right bar with J (6 mm Allen key) from the accessories (2). Put the screws aside. Now the 2 spring balls can be unlocked with the thumb so that person “A” can push the television up or down. Once the desired viewing height has been reached, secure with the safety screws as shown in (3). Use the height indicator on the bar as a reference (7). Now pull the cabling through the cable outlet as shown at (4), (5), and (6).

Please note: Be caution when routing wires to avoid damage.
Dimensions




















