HAGOR 8209 HP Twin Stand

Caution!
Technical devices are of considerable value. You should therefore handle the components carefully during installation and protect them if necessary.
If necessary, the installation area should also be secured. Falling parts can cause injuries and material damage.
The materials included in the scope of delivery may not be suitable for the special conditions at the installation site. Please check this in advance and replace it with suitable materials if necessary.
If you are unsure about the installation of the product or have any questions, please contact us or other trained specialists.
Please note!
Tightening Direction
Loosening Direction
Screwdriver
Metre Rule
Adjustment
by Hand
HexWrench
Scope of delivery

ASSEMBLY


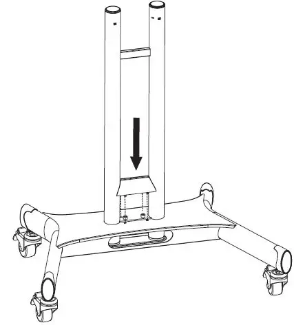
Make sure cabels management windows are facing the rear of base.


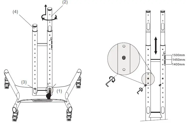
Use thumb or finger to depress the right upper pole spring plunger ball (1). Locted at the cable window, twist and pull upper pole upward until your desired height. As shown in the Picture on the left twist upper pole toward the plunger holes direction and engage the spring ball into the plunger hole (2). Repeat this for other pole (3 | 4). Tighten the locking screws on both sides as shown in the Picture on the right side.
Optional




Please note:
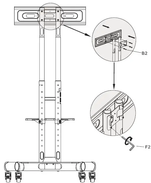
To avoid damage plastic spacer must be used when depth of mounting holes is minimal.



Please note: Be caution when routing wires to avoid damage.
Dimensions

HAGOR Products GmbH | Oberbecksener Straße 97 | D-32547 Bad Oeynhausen | Telefon: +49(0)57 31-7 55 07-0 | Mail: [email protected]
















