HIKVISION UD30692B Stand Pole

Appearance
Dimension
Wiring
- The cables can be connected to the exit button interface of turnstiles or another access controller.
- The exit button remains open by default.
- The 24AWG/0.75mm² cable length is 2.3 m in total including a reserved length of 1 m.
Stand Pole with QR Code Scanner
Appearance
Dimension
Wiring
- The cables can be connected to the RS-485 interface of turnstiles or another access controller according to the definition.
- The 24AWG/0.75mm² cable length is 4.5 m in total including a reserved length of 3 m.
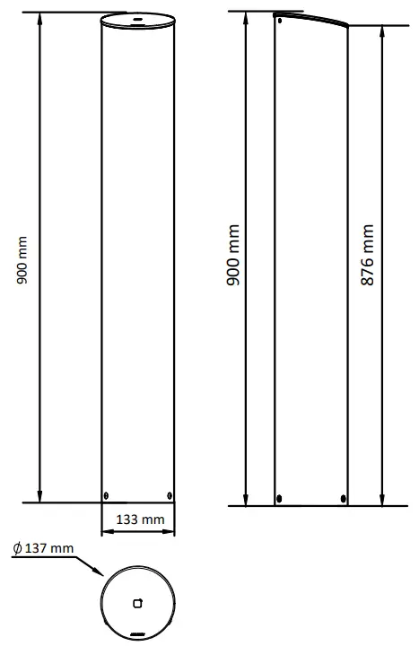
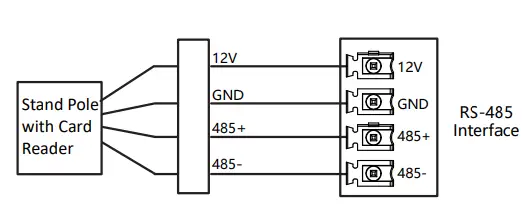
Stand Pole with Card Reader
Appearance
Dimension
Wiring
- The cables can be connected to the RS-485 interface of turnstiles or another access controller according to the definition.
- The 24AWG/0.75mm² cable length is 4.5 m in total including a reserved length of 3 m.
Installation
- Choose flat ground for installation. A cement foundation is recommended for outdoor scenarios.
- The suggested inner diameter of the low-voltage conduit is larger than 25 mm.
- The installation steps of stand poles with exit buttons, card readers, and QR code scanners are the same.
- The cable length of the stand pole with the exit button is 2.3 m in total including a reserved length of 1 m.
- The cable length of the stand pole with the card reader, QR code scanner, and card receiver is 4.5 m in total including a reserved length of 3 m.
- The dimension of the cable hole is 35 mm × 30 mm.
Stand Pole with Peripherals
- Drill Holes
Attatch the installation sticker to the ground as the arrow indicates. Drill 3 holes at the position of black points and place 3 expansion bolts of M8×80.
- Bury Low Voltage Conduit
Bury low voltage conduit between the stand pole and terminal devices. The suggested inner diameter of the low-voltage conduit is larger than 25 mm.
- Fix Base
a. Loosen and remove the 3 screws of M6 at the bottom to disassemble the stand pole.
b. Loosen the 3 screws of M3 on the metal sheet to remove the base.
c. Place the base on the ground according to the holes on the base and expansion bolts. Fix the base with 3 screws.
d. Put cables through the cable hole of the base and buried conduit. Fix the metal sheet back to the base with the 3 removed screws of M3 in step b.
- Fix Stand Pole
Fix the stand pole to the base with the 3 removed screws of M6 in step 3a.
Maintenance and Configuration
Stand Pole with Peripherals
- Remove the top screw, turn the cap clockwise and lift the cap. Lift the cap slowly in order not to cause damage to cables or other device parts.
Card Reader Configuration
- The DIP switch is set to the ON side (ON)
- The DIP switch is set to the OFF side (OFF)
- The default DIP switch set of card readers on the stand pole with card reader and card receiver is shown as follows.
- You can change the DIP switch set to your actual needs before installation.
Card Reader DIP Switch (Entrance)
Card Reader DIP Switch (Exit)
Card Reader DIP Switch (Stand Pole with Card Receiver)
Safety Instructions
Warning
- In the use of the product, you must be in strict compliance with the electrical safety regulations of the nation and region.
- Do not connect several devices to one power adapter as adapter overload may cause over-heat or fire hazards.
- If smoke, odors, or noise rises from the device, turn off the power at once and unplug the power cable, and then please contact the service center.
- The socket outlet shall be installed near the equipment and shall be easily accessible.
- Do not ingest the battery. Chemical burn hazard!
- This product contains a coin/button cell battery. If the coin/button cell battery is swallowed, it can cause severe internal burns in just 2 hours and can lead to death.
- Keep new and used batteries away from children.
- If the battery compartment does not close securely,
- stop using the product and keep it away from children. 5. If you think batteries might have been swallowed or placed inside any part of the body, seek immediate medical attention.
- CAUTION: Risk of explosion if the battery is replaced by an incorrect type.
- Improper replacement of the battery with an incorrect type may defeat a safeguard (for example, in the case of some lithium battery types).
- Do not dispose of the battery in a fire or a hot oven, or mechanically crush or cut the battery, which may result in an explosion.
- Do not leave the battery in an extremely high temperature surrounding environment, which may result in an explosion or the leakage of flammable liquid or gas.
- Do not subject the battery to extremely low air pressure, which may result in an explosion or the leakage of flammable liquid or gas.
- Dispose of used batteries according to the instructions
Caution
- Do not drop the device or subject it to physical shock, and do not expose it to high electromagnetism radiation. Avoid the equipment installation on vibrations surfaces or places subject to shock (ignorance can cause equipment damage).
- Do not place the device in extremely hot (refer to the specification of the device for the detailed operating temperature), cold, dusty, or damp locations, and do not expose it to high electromagnetic radiation.
- Exposing the equipment to direct sunlight, low ventilation, or a heat source such as a heater or radiator is forbidden (ignorance can cause fire danger).
- The device cover for indoor use shall be kept from rain and moisture. Exposing the equipment to direct sunlight, low ventilation, or heat sources such as a heater or radiator is forbidden
(ignorance can cause fire danger). - Please use a soft and dry cloth when cleaning the inside and outside surfaces of the device cover, do not use alkaline detergents.
Biometric recognition products are not 100% applicable to anti-spoofing environments. If you require a higher security level, use multiple authentication modes. - The serial port of the equipment is used for debugging only.
- Wall Mounting: Install the equipment according to the instructions in this manual. To prevent injury, this equipment must be securely attached to the floor/wall in accordance with the installation instructions.
- Improper use or replacement of the battery may result in the hazard of explosion. Replace with the same or equivalent type only. Dispose of used batteries according to the instructions provided by the battery manufacturer.
- This bracket is intended for use only with equipped devices. Use with other equipment may result in instability causing injury.
- This equipment is for use only with equipped brackets. Use with other (carts, stands, or carriers) may result in instability causing injury.
Regulatory Information
FCC Information
Please take attention that changes or modifications not expressly approved by the party responsible for compliance could void the user’s authority to operate the equipment. FCC compliance: This equipment has been tested and found to comply with the limits for a Class B digital device, pursuant to part 15 of the FCC Rules. These limits are designed to provide reasonable protection against harmful interference in a residential installation. This equipment generates, uses, and can radiate radio frequency energy and, if not installed and used in accordance with the instructions, may cause harmful interference to radio communications. However, there is no guarantee that interference will not occur in a particular installation. If this equipment does cause harmful interference to radio or television reception, which can be determined by turning the equipment off and on, the user is encouraged to try to correct the interference by one or more of the following measures:
- Reorient or relocate the receiving antenna.
- Increase the separation between the equipment and the receiver.
- Connect the equipment to an outlet on a circuit different from that to which the receiver is connected.
- Consult the dealer or an experienced radio/TV technician for help.
- This equipment should be installed and operated with a minimum distance of 20cm between the radiator and your body.
- FCC Conditions
- This device complies with part 15 of the FCC Rules. Operation is subject to the following two conditions:
- This device may not cause harmful interference.
- This device must accept any interference received, including interference that may cause undesired operation.
This product and – if applicable – the supplied accessories too are marked with “CE” and comply therefore with the applicable harmonized European standards listed under the RE Directive 2014/53/EU, the EMC Directive 2014/30/EU, the RoHS Directive 2011/65/EU.
2006/66/EC (battery directive): This product contains a battery that cannot be disposed of as unsorted municipal waste in the European Union. See the product documentation for specific battery information. The battery is marked with this symbol, which may include lettering to indicate cadmium (Cd), lead (Pb), or mercury (Hg). For proper recycling, return the battery to your supplier or to a designated collection point. For more information see: www.recyclethis.info
2012/19/EU (WEEE directive): Products marked with this symbol cannot be disposed of as unsorted municipal waste in the European Union. For proper recycling, return this product to your local supplier upon the purchase of equivalent new equipment, or dispose of it at designated collection points. For more information see: www.recyclethis.info
Scan the QR code to watch the installation and wiring guide video.
©2022 Hangzhou Hikvision Digital Technology Co., Ltd. All rights reserved.
About this Manual
The Manual includes instructions for using and managing the Product. Pictures, charts, images, and all other information hereinafter are for description and explanation only. The information contained in the Manual is subject to change, without notice, due to firmware updates or other reasons. Please find the latest version of this Manual on the Hikvision website (https://www.hikvision.com/).
Please use this Manual with the guidance and assistance of professionals trained in supporting the Product.
Trademarks
and other Hikvision trademarks and logos are the properties of Hikvision in various jurisdictions. Other trademarks and logos mentioned are the properties of their respective owners. Disclaimer
TO THE MAXIMUM EXTENT PERMITTED BY APPLICABLE LAW, THIS MANUAL AND THE PRODUCT DESCRIBED, WITH ITS HARDWARE, SOFTWARE, AND FIRMWARE, ARE PROVIDED “AS IS” AND “WITH ALL FAULTS AND ERRORS”. HIKVISION MAKES NO WARRANTIES, EXPRESS OR IMPLIED, INCLUDING WITHOUT LIMITATION, MERCHANTABILITY, SATISFACTORY QUALITY, OR FITNESS FOR A PARTICULAR PURPOSE. THE USE OF THE PRODUCT BY YOU IS AT YOUR OWN RISK. IN NO EVENT WILL HIKVISION BE LIABLE TO YOU FOR ANY SPECIAL, CONSEQUENTIAL, INCIDENTAL, OR INDIRECT DAMAGES, INCLUDING, AMONG OTHERS, DAMAGES FOR LOSS OF BUSINESS PROFITS, BUSINESS INTERRUPTION, OR LOSS OF DATA, CORRUPTION OF SYSTEMS, OR LOSS OF DOCUMENTATION, WHETHER BASED ON BREACH OF CONTRACT, TORT (INCLUDING NEGLIGENCE), PRODUCT LIABILITY, OR OTHERWISE, IN CONNECTION WITH THE USE OF THE PRODUCT, EVEN IF HIKVISION HAS BEEN ADVISED OF THE POSSIBILITY OF SUCH DAMAGES OR LOSS. YOU ACKNOWLEDGE THAT THE NATURE OF THE INTERNET PROVIDES FOR INHERENT SECURITY RISKS, AND HIKVISION SHALL NOT TAKE ANY RESPONSIBILITY FOR ABNORMAL OPERATION, PRIVACY LEAKAGE, OR OTHER DAMAGES RESULTING FROM CYBER-ATTACKS, HACKER ATTACKS, VIRUS INFECTIONS, OR OTHER INTERNET SECURITY RISKS; HOWEVER, HIKVISION WILL PROVIDE TIMELY TECHNICAL SUPPORT IF REQUIRED. YOU AGREE TO USE THIS PRODUCT IN COMPLIANCE WITH ALL APPLICABLE LAWS, AND YOU ARE SOLELY RESPONSIBLE FOR ENSURING THAT YOUR USE CONFORMS TO THE APPLICABLE LAW. ESPECIALLY, YOU ARE RESPONSIBLE, FOR USING THIS PRODUCT IN A MANNER THAT DOES NOT INFRINGE ON THE RIGHTS OF THIRD PARTIES, INCLUDING WITHOUT LIMITATION, RIGHTS OF PUBLICITY, INTELLECTUAL PROPERTY RIGHTS, DATA PROTECTION, AND OTHER PRIVACY RIGHTS. YOU SHALL NOT USE THIS PRODUCT FOR ANY PROHIBITED END-USES, INCLUDING THE DEVELOPMENT OR PRODUCTION OF WEAPONS OF MASS DESTRUCTION, THE DEVELOPMENT OR PRODUCTION OF CHEMICAL OR BIOLOGICAL WEAPONS, ANY ACTIVITIES IN THE CONTEXT RELATED TO ANY NUCLEAR EXPLOSIVE OR UNSAFE NUCLEAR FUEL CYCLE, OR IN SUPPORT OF HUMAN RIGHTS ABUSES. IN THE EVENT OF ANY CONFLICTS BETWEEN THIS MANUAL AND THE APPLICABLE LAW, THE LATTER PREVAILS.
Data Protection
During the use of the device, personal data will be collected, stored, and processed. To protect data, the development of Hikvision devices incorporates privacy by design principles. For example, for devices with facial recognition features, biometrics data is stored in your device with an encryption method; for fingerprint devices, only the fingerprint template will be saved, which is impossible to reconstruct a fingerprint image. As a data controller, you are advised to collect, store, process, and transfer data in accordance with the applicable data protection laws and regulations, including without limitation, conducting security controls to safeguard personal data, such as, implementing reasonable administrative and physical security controls, conduct periodic reviews and assessments of the effectiveness of your security controls.
















