STANDER 1100 Security Pole with Curve Grab Bar 
Information
ATTENTION
There is a potential risk of serious injury or death associated with virtually every product regardless of its type or intended use. Stander, Inc., has worked tirelessly to minimize all risks associated with its mobility aids, yet given the types of products, users, and a myriad of things outside of our control, we cannot eliminate every conceivable risk. Accordingly, a consumer must use common sense when utilizing our products, and take into account the user’s overall physical and mental health.
Read all of the materials that accompany this product before it is installed or used.
LIMITED WARRANTY
Stander, Inc. warrants to the original purchaser that this product will be free from defects in material and/or workmanship for 1 year from the date of purchase. During the warranty period we will correct any defects in material or workmanship at no charge. All shipping cost must be paid by the original purchaser. Any replacement parts will be new and are warranted for the remainder of the original warranty or thirty (30) days from the date of shipment, whichever is longer. The original purchaser must notify Stander, Inc. during the warranty period in writing of the defect in workmanship or material. This warranty is not transferable and covers only normal use. Stander will not refund or pay for any shipping charges. The warranty does NOT cover: (1) Damage during shipment other than original shipment to retailer; (2) Damage caused by unauthorized attachments, alterations, or modifications; (3) Damage caused by the use of the product for purposes other than those for which the product was designed or intended; and (4) Damage caused by any other abuse, misuse, mishandling or misapplication.
Under no circumstances shall Stander, Inc. be liable for any special, incidental, or consequential damages based upon breach of this limited warranty, breach of contract, or strict liability.
THERE ARE NO WARRANTIES WHICH EXTEND BEYOND THOSE INDICATED HEREIN. ALL OTHER WARRANTIES, EXPRESS OR IMPLIED (INCLUDING ALL IMPLIED WARRANTIES OF MERCHANTABILITY OR FITNESS FOR A PARTICULAR PURPOSE), ARE HEREBY DISCLAIMED.
Some states do not allow limitations on how long an implied warranty lasts, so the above limitation may not apply to you. This warranty gives you specific legal right, and you may also have other rights which vary from state to state. To obtain service under this warranty, you can reach Stander, Inc. at (800) 506-9901 or (435) 755-0453.
INSTALLATION
WARNINGS
- Do not use or install this product unless you read and understand these warnings and assembly instructions to ensure the product is properly installed and used. If installer/user(s) are installing this product in a nursing home, assisted living center, or a similar facility, follow these and the facilities installation policies. If you have any questions regarding the installation, use, associated risks, or anything at all regarding this product call Stander Inc. at (800) 506-9901 or (435) 755-0453.
- Improper installation of this product significantly increases the risk of falls. This pole product secures between the floor and ceiling. Since there are many different types of floor and ceiling conditions, it is up to the installer and/or user of this product to determine if the product can be safely installed.
- IMPORTANT: The pole can become loose (not properly secured between floor and ceil) as a result of the myriad of conditions. It is the installer and/or users responsibility to periodically check and secure the pole between the floor and ceiling with the included wrench. Do NOT discard included wrench.
- Do NOT install product on angled ceilings, suspended ceilings, or any other type of ceiling that would not allow the product to be properly secured between a floor and ceiling. The pole must be installed perpendicular to the floor and ceiling. All protective rubber pads should engage the ceiling and floor with an equally distributed force.
- Do NOT install pole product on ceiling heights less than 7 feet or greater than 10 feet.
- Do NOT install the pole product on a platform or any other surface that is raised off the floor. If you have questions, it is the installer/user(s) responsibility to call Stander Inc. at (800) 506-9901 or (435) 755-0453. Do not install this product if you are not sure the product can be properly secured.
- Floor conditions also affect the ability to install the product securely. Do NOT install the product on rugs or any other moveable objects. Do NOT install the product on floor conditions that would allow the base of the pole to slide or slip. If the base of the product moves after installation, the product is not safe to use.
- This product is not intended to be placed inside a bathtub or inside a shower.
- The Security Pole uses a spring loaded pin that allows the handle to rotate and lock into several user positions. Make sure that the rotating handle is in a locked position before using the product. If the rotating handle is not locked before using, the user may fall and serious injury or harm could result.
- IMPORTANT: If installing the pole product next to a bed, couch, toilet, or any other object, Stander Inc. recommends NOT installing product closer than the user(s) ability to safely walk around the pole or there may be a possibility of becoming entrapped between the pole and the side of any object adjacent to the pole. Entrapment is a condition where an individual may become lodged between objects. The swivel handle must be taken into account when placing the pole next an adjacent object. In other words, the handle can rotate 360 degrees. The user(s) must be able to safely walk around the pole in every swivel handle position. It is the user(s) responsibility to ensure there is no possible way to become entrapped between the pole and/or pivoting handle and the side of any object adjacent to the pole. Since there are a myriad of user conditions, installer/user(s) should determine if the pole should be installed farther away from the side of a bed. If you have questions, it is the installer/user(s) responsibility to call Stander Inc. at (800) 506-9901 or (435) 755-0453.
PHYSICAL AND MENTAL CONDITIONS
- Individuals who have problems with physical limitations, paralysis, symptoms of dementia, Alzheimer’s or memory loss, sleeping, incontinence, pain, uncontrolled body movement, getting out of bed and walk unsafely without assistance, frailty, weakness, confusion, restlessness, terminal restlessness, or are under the influence of medications, drugs or any substance that could impair their balance or judgment, or any other unforeseeable reasons that could affect the users physical and mental ability to safely use this product, are at a higher risk of entrapment. Since these conditions are subjective and Stander Inc. has no control who chooses to use this product, it is the installer/user(s) responsibility to consult a physician before using this product.
- This product is not intended to carry the full weight of an individual. This product is only intended to provide balance and support while sitting and standing.
EXTERNAL FACTORS
- Children should not be allowed to hang on or play with this product.
- Due to external unforeseeable factors, the product may become loose. If this is the case, increase the tension between the floor and ceiling with the included wrench. Do NOT discard the included wrench.
- Floor conditions can affect the stability of the pole such as floor irregularities, wet surfaces, or other conditions that would allow the base of the product to move. Do NOT use product on floor surfaces that allow the base of the product to move.
- If product is removed and reinstalled, the pole needs to be reinstalled correctly as directed in these instructions. Keep instructions for future reference.
AGREEMENT BETWEEN INSTALLER/USER(S) AND STANDER INC
- If the installer/user(s) choose to use this product, it is understood between the installer/user(s) AND Stander Inc., that the installer/user(s) accept the risks associated with using this product. Since these conditions are subjective and Stander Inc. has no control over who chooses to use this product, the installer/user(s) agree to be liable for their decisions when using this product.
CONSUMER RIGHTS AND ARBITRATION AGREEMENT
- This arbitration agreement (“Agreement”) affects your legal rights and remedies by providing that disputes between you and the manufacture of this product (“Stander”), must be resolved through binding arbitration, rather than in a court. Please read this agreement carefully as you accept the terms of this agreement by assembling and using this product. If you do not agree to the terms of this agreement, return the product to the location of purchase for a refund.
- RESOLUTION OF CLAIMS OR DISPUTES
Any claim or dispute between you and Stander arising out of or relating in any way to the Product or this Agreement shall be resolved through final, binding arbitration. This arbitration obligation applies regardless of whether the claim or dispute involves a tort, fraud, misrepresentation, product liability, negligence, violation of a statute, or any other legal theory. Both you and Stander specifically acknowledge and agree that you waive your right to bring a lawsuit based on such claims or disputes and to have such lawsuit resolved by a judge or jury. - LIMITATION OF LEGAL REMEDIES
All arbitrations under this Agreement shall be conducted only on an individual (and not a class-wide) basis and an arbitrator shall have no authority to award class-wide relief. You acknowledge and agree that this Agreement specifically prohibits you from commencing arbitration proceedings as a representative of others or joining in any arbitration proceedings brought by any other person. - ARBITRATION PROCEDURES.
- Before commencing any arbitration proceedings under this Agreement, you must first present the claim/dispute to Stander by calling (800) 506-9901 or (435) 755-0453, providing requested contact information and allowing Stander the opportunity to resolve it. If your claim or dispute is not resolved within sixty (60) days, you may commence arbitration proceedings in accordance with the terms of this Agreement.
- The arbitration of claim(s)/dispute(s) under this Agreement shall be pursuant to the American Arbitration Association’s (“AAA”) United States Commercial Dispute Resolution Procedures and Supplementary Procedures for Consumer-Related Disputes (see www.adr.org for their rules and procedures).
- The arbitration of any claim/dispute under this Agreement shall be in the State of Utah.
- All administrative expenses of arbitration proceedings under this Agreement shall be divided equally between you and the Company, except that: (a) if the claims/dispute subject to the arbitration proceedings is less than ten thousand dollars (US$10,000), you will be responsible for no more than one hundred twenty-five dollars (US$125) in administrative expenses; (b) if the claim/dispute subject to the arbitration proceedings is more than ten thousand dollars (US$10,000) but less than seventy-five thousand dollars (US$75,000), then you will be responsible for no more than three hundred seventy-five dollars (US$375) in administrative expenses; and
- if the claim/dispute subject to the arbitration proceedings is more than seventy-five thousand dollars (US$75,000), then you will be responsible for administrative expenses in accordance with the Commercial Fee Schedule provided by the AAA. You acknowledge and agree that each party shall pay the fees and costs of its own counsel, experts and witnesses.
- CHOICE OF LAW & SEVERABILITY. This Agreement shall be governed by the United States Federal Arbitration Act and the laws of the state of Utah. If any provision of this Agreement is declared or found to be unlawful, unenforceable or void, such provision will be ineffective only to the extent that it is found unlawful, unenforceable or void and the remainder shall remain fully enforceable.
WARNING
ENTRAPMENT AND FALL HAZARD
- Small gaps between pole/swivel handle and other stationary objects can entrap and kill.
- People with Alzheimer’s disease or dementia, or those who are sedated, confused, or frail, are at increased risk of entrapment and falls.
- Always make sure this product is properly secured between the floor and ceiling.
- Make sure the product has sufficient space to allow user(s) to walk between the pole/handle and any other stationary object.
- Do NOT use or place near children’s beds, bunk beds, water beds, or inflatable beds.
- Failure to comply with these conditions could put the user(s) at risk of entrapment or falling.
Assembly Instructions
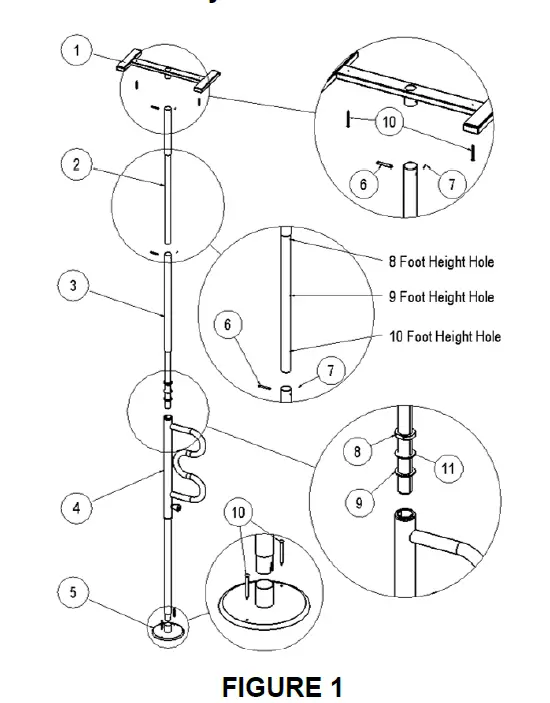
NOTE: This product is designed to be used with ceiling heights that range from 7 to 10 foot ceilings. All of the necessary parts are included in this package to accommodate 7, 8, 9, and 10 foot ceilings. (ITEM-2) is an adjustable Extension Tube that must be used for 8, 9, and 10 foot ceiling heights.
NOTE: (ITEM-2 will have non-painted area exposed.
Determine where you plan to use this product and the height of the ceiling before continuing the assembly process.
- Take all parts out of the box and lay them on a flat surface as shown in Figure 1.
- If you have a 7 foot ceiling, do not use Extension Tube (ITEM-2). Attach the Upper Frame (ITEM-1) directly to ITEM-3 by aligning the holes in ITEM-1 and ITEM-3 and inserting the Clevis Pin (ITEM-6) through the holes. After the Clevis Pin is inserted, place the Cotter Pin (ITEM-7) through the hole of the Clevis Pin as shown in Figure 2.
- If you have an 8 to 10 foot ceiling, attach the Upper Frame (ITEM-1) to the Extension Tube (ITEM-2) by aligning the holes and inserting the Clevis Pin and Cotter Pin as shown in Figure 2.
- The Extension Tube (ITEM-2) has 3 sets of holes marked “8 Foot Height Hole”, “9 Foot Height Hole”, and “10 Foot Height Hole” as shown in Figure 1. Use the appropriate height hole that corresponds to the height of the ceiling this product will be installed.

- For an 8 foot ceiling, align the Extension Tube (ITEM-2) hole marked “8 Foot Height Hole” (as shown in Figure-1) to (ITEM-3) and insert the Clevis Pin and Cotter Pin as previously done in Step 2.
- For a 9 foot or 10 foot ceiling, align the Extension Tube (ITEM-2) with either the hole marked “9 Foot Height Hole” or “10 Foot Height Hole” (as shown in Figure-1) to (ITEM-3) and insert the Clevis Pin and Cotter Pin as previously done in Step 2.
- Attach Base Plate (ITEM-5) to Handle Tube (ITEM-4), as shown in Figure 1, by aligning the slots in Handle Tube (ITEM-4) with the internal pin in Base Plate (ITEM-5) so the slots straddle the internal pin to prevent rotation as shown in Figure 3.

- Insert the threaded portion of ITEM-3 into ITEM-4 and place the Safety Pole in the desired location with ITEM-5 on the floor and ITEM-1 on the ceiling.
NOTE: Make sure the Plastic Washer (ITEM-11) is placed between the Adjustment Nut (ITEM-8) and the Washer (ITEM-9) as shown in Figure 1 before inserting ITEM-3 into ITEM-4. - To secure the pole between the floor and the ceiling, the Adjustment Nut (ITEM-8) must be tightened in a clockwise direction with the included wrench (Item not shown). Tighten the lower Adjustment Nut until the pole is secured between the floor and the ceiling.
WARNING: After the pole is secured between the floor and ceiling, check the length of exposed threaded area. Do NOT install if the length of exposed thread is longer than 11 inches.
WARNING: If the pole does not appear to be securely fastened between the floor and ceiling, loosen the Adjustment Nut (ITEM-8) and make sure the length of the Safety Pole is perpendicular to the floor and ceiling before tightening the Adjustment Nut (ITEM- 8) again as previously done in Step 8.
Slight movement of the pivoting handle is normal and safe. This movement allows the locking pin to easily lock into 8 user friendly positions. Pull the pin and rotate the curved handle. Release the handle and continue to rotate the curved handle until the spring loaded pin locks the handle into the desired position.
(OPTIONAL) INSTALLATION USING SCREWS
When the pole is installed properly there should be no movement between the Base Plate (Item-5) and the floor, or the Upper Frame (Item-1) and the ceiling when in use. It is important to inspect the pole frequently to ensure the pole does not move.
Since there are many unforeseeable conditions (conditions where the pole may move or become loose), Stander Inc. has provided the installer/user(s) an option to anchor the product to the floor and ceiling using the included screws (Item-10).
The Upper Frame (Item-1) has two holes spaced 16 inches apart to align with the wood ceiling joists. It is important that the screws pass through the Upper Frame holes and are secure into the wood ceiling joists as shown in Figure 4. 
Tile floor conditions: If the Base Plate (Item-5) is to be mounted to a ceramic tile floor, holes must first be drilled through the tile only before using the wood screws. Place the wood screws through the Base Plate holes and secure them into the wood floor as shown in Figure 5.
Linoleum or carpeted floors: If the Base Plate (Item-5) is to be mounted on either Linoleum or carpeted floors, place the wood screws through the Base Plate holes and secure them directly into the wood floor as shown in Figure 5.



















