HAGOR 8400 BrackIT Rotate Mobile Stand System
Caution!
Technical devices are of considerable value. You should therefore handle the components carefully during installation and protect them if necessary. If necessary, the installation area should also be secured. Falling parts can cause injuries and material damage. The materials included in the scope of delivery may not be suitable for the special conditions at the installation site. Please check this in advance and replace it with suitable materials if necessary. If you are unsure about the installation of the product or have any questions, please contact us or other trained specialists.
Safety indication
- Do not use the stand on sloping floors.
- Do not use the stand near stairs or floors with gradients.
- Do not use the stand on external or rough floors that could damage the wheels.
Scope of delivery
Installation of the rolling base
Installation of the front shelf
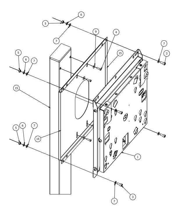
Installation of the TV bracket
Installation of the fixing bolts
Disassembly
Tilt settings

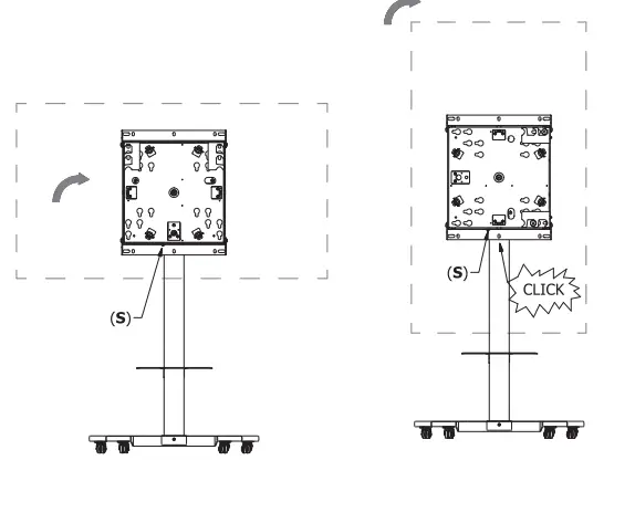
Mount and secure the screen
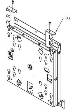
Hang up the screen. Please note! Please perform this work stept in pairs. Make sure that the bolts are correctly inserted into the keyholes. Replace the securing brackets and screw them tight
Function tesT

Try the rotation several times and make sure the screen is securely locked with the safety brackets (L) If necessary, increase or decrease the force of the spring by adjusting the screw (S).



























