JOOVV 3.0 Mobile Stand System

Mobile Stand System
The Mobile Stand System is a stand for medical devices that conforms to safety standards IEC 62471, 60601-2-57, 60601-1-11, 60601-1-6 & AAMI STD ES60601-1. It is also certified to CSA STD C22.2 #60601-1.
Parts List
- An Upper Pole Section
- B Lower Pole Section + Coupler
- C Mobile Base
- D Wheel Caster x4
- E Slider Mount
- F Boot Bracket
- G Boot Washer
- H M4 Pole Screw
- I M6 Screw
- J M10 Screw
- K M10 Screw (boot bracket)
- L M3 Allen Key
- M M4 Allen Key
- N M6 Allen Key
- O Top Bracket 2 Pole
- P Bottom Bracket 2 Pole
- Q Top Bracket 3 Pole
- R Bottom Bracket 3 Pole
- S Vertical Alignment Plug
- T 4 Plug
- U Horizontal Alignment Plug
- V O-Ring for Mini Spacer Kit
Product Usage Instructions
Install Wheel Casters and Adjust Leveling Nuts
Install each Wheel Caster onto the Mobile Base. To level the Mobile Base, adjust leveling nuts where needed.
2 Pole Setup
Follow the steps below to set up the 2 Pole configuration:
Step 1 – Connect Pole Upright
Connect the Top and Bottom sections of the Pole Upright by inserting the Top section into the coupler portion of the Bottom section and securely fastening using the M4 screw (H) as shown. Note, over-tightening the M4 screw (H) can make it difficult for the Slider Mount to pass through the coupler section of the Pole Upright. When initially installing the Slider Mount keep the M4 screws (H) semi-tight to allow the Pole Uprights to flex slightly. After positioning the Slider Mount to the dedicated height, the M4 screws can be fully tightened.
Step 2 – Secure Boot Bracket to each Pole Upright
Attach the Boot Bracket on the side of the pole that is marked with the J label using Screw M.
Step 3 – Connect each Pole Upright to the Mobile Base
Place the Boot Bracket Washer on the Mobile Base and connect using screws K and L as shown.
Step 4 – Install Slider Mounts to Pole Uprights and adjust to the desired heights
Install Slider Mounts to Pole Uprights and adjust to the desired heights.
Step 5 – Install top and bottom brackets using screws K and L
Install top and bottom brackets using screws K and L as shown.
Step 6 – Adjust Slider Mounts
To adjust the Slider Mount, turn the knob counterclockwise ~1 turn and pull out. Slide the mount up or down based on your desired height. To secure the Slider Mount tighten the knob by turning it clockwise until hand tight. When loosening the adjustment knob, do not exceed more than 1.5 turns counterclockwise to loosen. Additional turns can cause the Slider Pole Mount to fall.
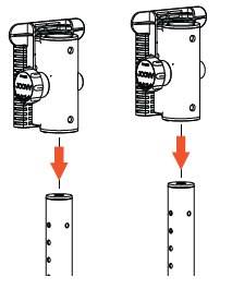
Step 7 – Mount Devices
While holding the device, align it over the Slider Mount keyholes and slide it down onto the Slider Mount to secure it. Mount the bottom devices first.
Warnings and Safety
Please review the following safety information prior to assembling your Joovv Mobile Stand. Attempting to assemble and use this equipment without fully understanding its features and functions may result in unsafe operating conditions. Some Warnings and Cautions are also inserted within the manual where they are most meaningful. Notes are also located throughout the manual to provide additional information related to specific features. If you have a question regarding the installation, set up, operation, or maintenance, please contact Joovv Inc. at [email protected].
WARNINGS identify conditions or practices that could result in serious adverse reactions or potential safety hazards.
CAUTIONS identify conditions or practices that could result in damage to the device or other equipment.
Warnings
- No modification of this system is allowed.
- System is only meant to support applicable Joovv products.
Cautions
- Read user manual prior to use and keep for future reference.
- Choking hazard, small parts. Keep away from small children.
- For interior use only, storage or installation of the system in direct sunlight may cause the system to yellowor break down over time. Normal storage or installation in window-lit rooms is acceptable.
- Do not leave the system in any place that could be damaged by children, pets, pests, or liquids. If you suspect your system of devices is damaged, contact customer service at [email protected].
- Do not install system near heated surfaces such as nearby fireplaces or ceramic heaters.
- Do not install or store system in humid or wet locations such as a sauna or wet sauna.
- Remove the device before adjusting height of Slider Pole Mount.
- When loosening the adjustment knob, do not exceed more than 1.5 turns counterclockwise to loosen. Additional turns can cause the Slider Pole Mount to fall.
- Do not use power tools to assembly parts in this kit.
- Do not mount more than 2 devices per pole upright.
- Do not exceed mobile stand working load capacity of 38 kg.
- Do not push the device above 91 cm when on casters.
- Do not park mobile stand on an incline.
- Before use make sure to lock wheel casters.
Safety Standards
- Conforms To: IEC 62471, 60601-2-57, 60601-1-11, 60601-1-6 & AAMI STD ES60601-1
- Certified To: CSA STD C22.2 #60601-1
Parts List
- A: Upper Pole Section
- B: Lower Pole Section + Coupler
- C: Mobile Base
- D: Wheel Caster x4
- E: Slider Mount
- F: Boot Bracket
- G: Boot Washer
- H: M4 Pole Screw
- I: M6 Screw
- J: M10 Screw
- K: M10 Screw (boot bracket)
- L: M3 Allen Key
- M: M4 Allen Key
- N: M6 Allen Key
- O: Top Bracket 2 Pole
- P: Bottom Bracket 2 Pole
- Q: Top Bracket 3 Pole
- R: Bottom Bracket 3 Pole
- S: Vertical Alignment Plug
- T: 4 Plug
- U: Horizontal Alignment Plug
- v: 0-Ring for Mini

Install Wheel Casters and Adjust Leveling Nuts
Install each Wheel Caster onto the Mobile Base. To level Mobile Base, adjust leveling nuts where needed.
2 Pole Setup
Step 1 – Connect Pole Upright
Connect the Top and Bottom sections of the Pole Upright by inserting the Top section into the coupler portion of the Bottom section and securely fastening using the M4 screw (H) as shown. H Note, over tightening the M4 screw (H) can make it difficult for the Slider Mount to pass through the coupler section of the Pole Upright.When initially installing the Slider Mount keep the M4 screws (H) semi tight to allow the Pole Uprights to flex slightly. After positioning the Slider Mount to the dedicated height, the M4 screws can be fully tightened.
- Step 2
Secure Boot Bracket to each Pole Upright. To do so, attach the bracketon the side of the pole that is marked with the J label. Use Screw M to attach each Boot Bracket as shown. - Step 3
Connect each Pole Upright to the Mobile Base. To do so, place the Boot Bracket Washer on the Mobile Base and connect using screws K and L as shown
- Step 4
Install Slider Mounts to Pole Uprights and adjust to the desired heights.
- FOR QUAD CONFIGURATION, SLIDE THE TOP MOUNTS ONTO THE POLE UPRIGHT SO (4) HOLES ARE SHOWING ABOVE THE MOUNTS SLIDE THE BOTTOM MOUNTS ONTO THE POLE UPRIGHT SO (11) HOLES ARE SHOWING BELOW THE MOUNTS
- FOR MAX CONFIGURATION, SLIDE THE TOP MOUNTS ONTO THE POLE UPRIGHT SO (16) HOLES ARE SHOWING ABOVE THE MOUNTS SLIDE THE BOTTOM MOUNTS ONTO THE POLE UPRIGHT SO (11) HOLES ARE SHOWING BELOW THE MOUNTS

- Step 5
Install top and bottom brackets using screws K and L.
- Step 6
To adjust the Slider Mount, turn the knob counterclockwise ~1 turn and pull out. Slide the mount up or down based on your desired height. To secure the Slider Mount tighten the knob by turning it clockwise until hand tight.
- WARNING!
When loosening the adjustment knob, do not exceed more than 1.5 turns counterclockwise to loosen. Additional turns can cause the Slider Pole Mount to fall.
- WARNING!
- Step 7
While holding the device as shown below, align the device over the Slider Mount keyholes and slide the device down onto the Slider Mount to secure.
- When mounting devices, mount bottom devices first.
- Step 8
To remove the Solo or Mini Device from the Slider Mount, follow the steps illustrated below.
3 Pole Setup
- Step 1
Refer to page 6 on how to connect the Pole Upright. Secure Boot Bracket to each Pole Upright. To do so, attach the bracket on the side of the pole that is marked with the J label. Use Scr ew M to attach each Boot Bracket as shown. - Step 2
Connect each Pole Upright to the Mobile Base. To do so, place the Boot Bracket Washer on the Mobile Base and connectn using screws K and L as shown.
- Step 3
Install Slider Mounts to Pole Uprights and adjust to the desired height.
- FOR ELITE CONFIGURATION, SLIDE THE TOP MOUNTS ONTO THE POLE UPRIGHTS SO (4) HOLES ARE SHOWING ABOVE THE MOUNTS SLIDE THE BOTTOM MOUNTS ONTO THE POLE UPRIGHTS SO (11) HOLES ARE SHOWN BELOW THE MOUNTS


- FOR ELITE CONFIGURATION, SLIDE THE TOP MOUNTS ONTO THE POLE UPRIGHTS SO (4) HOLES ARE SHOWING ABOVE THE MOUNTS SLIDE THE BOTTOM MOUNTS ONTO THE POLE UPRIGHTS SO (11) HOLES ARE SHOWN BELOW THE MOUNTS
- Step 4
Install top and bottom brackets using screws K and L.
- Step 5
To adjust the Slider Mount, turn the knob counterclockwise ~1 turn and pull out. Slide the mount up or down based on your desired height. To secure the Slider Mount tighten the knob by turning it clockwise until hand tight.
- WARNING! When loosening the adjustment knob, do not exceed more than 1.5 turns counterclockwise to loosen. Additional turns can cause the Slider Pole Mount to fall.
- Step 6
While holding the device as shown below, align the device over the Slider Mount keyholes and slide the device down onto the Slider Mount to secure.
- When mounting devices, mount bottom devices first.
- Step 7
To remove the Solo or Mini Device from the Slider Mount, follow the steps illustrated below.
Adding Spacers to Mounted Devices

When using the spacer kit with the Joovv Mini, utilize the included O-Rings with your spacer kit before inserting. i Slide the O-Ring onto the spacer plug
| Revision History | ||
| Date | Revision # | Description of Changes |
| November 2020 | JV-MKT-DOC-2806 (Ver.0) | Ver.0 Release to market |
| June 2021 | JV-MKT-DOC-2806 (Ver.1) | Addition to pages 2, 4, 6, 12 – New Pole Kit |
| March 2022 | JV-MKT-DOC-2806 (Ver.2) | Addition to page 6 |
Warranty
- All Joovv mounting accessories are covered by a 2-year limited warranty. Please visit our website at https://joovv.com/pages/warranty for details of the limited warranty. To register your product, visit https://joovv.com/pages/warranty for instructions. Failure to register will not affect your limited warranty rights.
Return Policy
- All mounting accessories come with a 60-day return period. If you’re not satisfied with your purchase within the first 60 days, please visit our website at https://joovv.com/pages/returns for additional details.
Contact Information
- Joovv, Inc.
- 940 Calle Amanecer, Suite D,
- San Clemente, CA 92673, USA.
- Email us: [email protected].
- Website: www.joovv.com
- Online Setup instructions: www.joovv.com/setup.
- joovv.com
































