SMART Electric Height Adjustable Mobile Stand

Important information
Note: Refer to the illustrated installation instructions for important information about installing and setting up the stand.
Warning
- Read the following warnings carefully. Failure to read the warnings below or to follow the installation instructions included with the stand could result in personal injury or product damage.
- The assembly and installation of the stand is intended for a trained professional.
- The installer must follow the installation instructions. Not doing so can result in injury or damage to equipment.
- Use only SMART-supplied mounting hardware or hardware that is designed to properly support the weight of the mounted display and accessories.
- Use the FSE-400 stand only with SMART Board interactive displays with diagonal measurements that range from 55″ (139 cm) to 86″ (219 cm) and that weigh between 77 lb. (35 kg) and 200 lb. (91 kg). Using the stand with other displays might be unstable and could result in injury.
- Use the stand only for lifting a display that meets the size and weight limitations indicated in the product specifications. Do not use the stand to lift people or objects.
- Do not overload the stand with too much weight, as this can cause injury or damage to the stand.
- Lock the casters before raising or lowering the stand.
- Operating the stand can create a hand-crushing or hand-pinching hazard. To prevent injury, keep hands and people away from crush and pinch locations on the stand.
- Allow adequate clearance above and below the stand to ensure safe raising and lowering.
- Do not operate the stand if it is damaged.
- Do not use the stand near water.
- Allow only adults who are trained and able to use the stand safely to operate it.
- Do not allow children or people who are not able to safely operate the stand to use it.
- Do not allow children to operate or play with the stand.
- Do not climb (or allow children to climb) on a wall- or stand-supported display. Climbing on the display could result in injury or product damage.
- Do not stand (or allow children to stand) on a chair to touch the surface of the display. Rather, adjust the stand so the display is at the proper height.
- Ensure that any cables extending across the floor to the stand are properly bundled and marked to avoid a trip hazard.
- Do not use the handles to lift the stand.
- Do not move the stand while external cables are connected or when the power is on.
- Move the display to its lowest position before you move the stand.
- Secure all cords and cabling before you move the stand.
- Two or more people are required to move the stand.
- Move a floor stand-mounted display with care. Quick stops, excessive force, and uneven surfaces may cause the stand to overturn.
- Unplug the power cord before cleaning the stand. Use only a dry or slightly dampened cloth to clean the stand.
- Do not allow children to clean or maintain the stand without supervision.
- Do not defeat the safety purpose of the grounding-type plug. A grounding plug has two blades or pins and a third grounding prong. The third prong is provided for your safety. If the provided plug does not fit into the outlet, consult an electrician for replacement of the obsolete outlet.
- Do not alter or remove the grounding prong from the power cord.
- Improper use of the grounding plug can result in electric shock.
- Do not use a mains power adapter plug.
- Only use attachments/accessories specified by the manufacturer.
- The stand must be grounded to reduce the risk of electric shock in the event of an electrical short circuit.
- Unplug the power cord before connecting and disconnecting the control panel.
- Unplug the power cord if the stand malfunctions.
- To reduce the risk of fire or electric shock, do not expose the stand to rain or moisture.
- Do not use the stand if the power cord is damaged. Replace a damaged power cord only with a new cord and power bar provided by SMART Technologies or a qualified service technician.
- Do not modify or make changes to the control unit or hand switches.
- Do not open the control box. There is danger of electric shock.
- Allow only qualified service technicians to service the stand. Allowing anyone else to service the stand will void the warranty/guarantee.
- Refer all servicing to qualified service personnel. Servicing is required when the stand has been damaged in any way, such as power-supply cord or plug is damaged, liquid has been spilled or objects have fallen into the stand, the stand has been exposed to rain or moisture, does not operate normally, or has been dropped.
- Use only original accessories and replacement parts. Using other accessories or parts will void the warranty/guarantee.
- Make sure the stand’s power cord is easily accessible at all times.
Caution
- Operate the stand only indoors.
- Protect the power cord from being walked on or pinched, particularly at plugs, convenience receptacles, and the point where they exit from the stand.
- Use only a power extension cord that is rated for the stand’s electrical load.
- Do not exceed the duty cycle written on the product label
Important
- Keep these instructions.
- Make sure an electrical socket is near the stand and remains easily accessible during use.
- Plug the stand into its own electrical outlet for best operation.
- The stand includes an article or articles that contain lead, cadmium and Bisphenol A. These are candidate SVHCs under the EU REACH Regulation (EC) 1907/2006.
About the stand
Features
The SMART electric height-adjustable mobile stand has the following features:
| Feature | Description |
| Powered height adjustment | With its 26″ (66 cm) of electric-powered height adjustment, you can easily adjust the height of a mounted display with the press of a button. |
| Locking casters | The stand’s plate-mounted casters allow you to easily roll the stand across smooth surfaces and lock the casters to secure the stand. |
| Safety bounce-back mechanism | The stand features a safety mechanism to prevent injury and damage when raising and lowering a display. If an obstruction is encountered while the stand is being raised or lowered, the stand will stop and reverse direction briefly. |
| Power bar | The power bar, mounted inside the cabinet, has surge protection and can be used for connecting a display and accessories to power. |
| Sturdy steel frame | The sturdy steel frame and wide footprint allows the stand to support displays that range from 55″ (139 cm) to 86″ (219 cm) and that weigh between 77 lb. (35 kg) and 200 lb. (91 kg). It supports a maximum weight of 240 lb. (111 kg) with a display and accessories. |
| Locking cabinet | The locking cabinet securely stores a computer, accessories, and cables. |
| Americans with Disabilities Act (ADA) compliance | The stand’s design meets Americans with Disabilities Act (ADA) accessibility standards. |
Components
The stand consists of the following components:

| No. | Description |
| 1 | Mounting holes |
| 2 | Control panel |
| 3 | Locking casters |
| [Not shown] | Storage cabinet (rear surface) |
| [Not shown] | Surge-protected power bar (mounted inside the cabinet) |
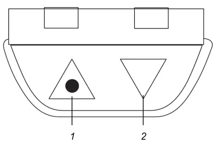
Control panel
You can raise and lower the stand with the control panel. It’s located on the right side of the stand, but you can remove and attached it to a mounted display. See the illustrated installation instructions for information on how to move the control panel.

| No. | Name | Procedure |
| 1 | Up | Press to raise the stand. |
| 2 | Down | Press to lower the stand |
Accessories
The following accessories are available for the mobile stand:

More information
See the following resources for more information:
- FSE-400 specifications: smarttech.com/kb/171386
- FSE-400 illustrated installation instructions: smarttech.com/kb/171362
These documents are available in the Support section of the SMART website: smarttech.com/support.
Assembling the stand
Environmental requirements
Before installing the stand, refer to the following environmental requirements.
Caution
- Do not operate the stand immediately after moving it from a cold location to a warm location. Allow the stand to reach room temperature before operation to prevent possible product damage.
- Do not place the stand in hot locations, such as near heating equipment.
Considerations when assembling the stand
Warning
- Two people are required to safely assemble the stand and to mount or remove the display.
- Lock the casters before installing or working with the display on the stand or adjusting its height
Notes
- You require ample work space to assemble the stand.
- Do not set up or use the stand in an area with excessive levels of dust, dirt, humidity, or smoke.
Review the following recommendations when using the WM-SBID-200 wall mount that is supplied with some SMART display models:
| Model(s) | Recommendation |
| SMART Board GX Series SMART Board MX Series SMART Board 6000 Series SMART Board 7000 Series | The wall mount isn’t required. |
| SMART Board 6000S Series SMART Board 7000R Series | The wall mount is required. |
Note: Please contact SMART Support (smarttech.com/contactsupport) if you need a WM-SBID-200 wall mount.
Using the stand
Moving the stand
Warning
- Do not use the handles to lift the stand.
- Do not move the stand while external cables are connected or when the power is on.
- Move the display to its lowest position before you move the stand.
- Secure all cords and cabling before you move the stand.
- Two or more people are required to move the stand.
- Move a floor stand-mounted display with care. Quick stops, excessive force, and uneven surfaces may cause the stand to overturn.
To move the stand
- Shut down the mounted display and accessories.
- Press and hold the Down button on the control panel until the display reaches its lowest position.
- Flick the power switch to the off position.
- Remove all loose items from the stand and the storage cabinet.
- Unplug the stand from the power outlet and secure all cables.
- Flip the caster brakes up to unlock them.
- Carefully push the center point of the legs to move the stand. Do not push on the upper part of the stand, as this might cause it to tip over
- After the stand is moved, flip the caster brakes down to lock them and secure the stand in place.
- Connect the power cable to the outlet and secure any cables that run along the floor.
Raising, lowering, calibrating, and resetting the stand
Warnings
- Ensure the locking bolts are securely tightened before operating the stand.
- Do not allow children or people who are not able to safely operate the stand to use it.
- Lock the casters before raising or lowering the stand.
- Operating the stand can create a hand-crushing or hand-pinching hazard. To prevent injury, keep hands and people away from crush and pinch locations on the stand.
- Allow adequate clearance above and below the stand to ensure safe raising and lowering.
- Use the stand only on a flat surface.
Calibrating the stand
After assembling the stand, you must calibrate it before you start to use it.
To calibrate the stand:
- Connect the stand to a power outlet.
- Press the Down button and lower the stand to the lowest position.
- Press the Down button for five seconds. The stand moves up and down 1 cm.
- Release the Down button
Raising and lowering the stand
To raise the stand
- Press and hold the Up button on the control panel.
- Release the Up button to stop raising the display
To lower the stand- Press and hold the Down button on the control panel.
- Release the Down button to stop lowering the display.
Resetting the stand
If the stand lowers but does not move when you try raising it or if you replace the controller, perform a factory reset by following the steps below.
To factory reset the stand
- Connect the stand to a power outlet.
- Press the Down button and lower the stand to the lowest position.
- Press the Down button for five seconds. The stand moves up and down 1 cm.
- Release the Down button.
Troubleshooting the stand
This chapter describes how to troubleshoot the mobile stand.
Resolving general issues

Learn more
This guide and other resources for your SMART electric height-adjustable mobile stand are available in the Support section of the SMART website (smarttech.com/support). Scan this QR code to view these resources on your mobile device.
Trademark notice
SMART Board, smarttech, the SMART logo and all SMART taglines are trademarks or registered trademarks of SMART Technologies ULC in the U.S. and/or other countries. All third-party product and company names may be trademarks of their respective owners.
Copyright notice
© 2019–2022 SMART Technologies ULC. All rights reserved. No part of this publication may be reproduced, transmitted, transcribed, stored in a retrieval system or translated
into any language in any form by any means without the prior written consent of SMART Technologies ULC. Information in this manual is subject to change without notice and does not represent a commitment on the part of SMART. This product and/or use thereof is covered by one or more of the following U.S. patents: www.smarttech.com/patents
October 27, 2022
SMART Technologies
smarttech.com/support
smarttech.com/contactsupport
References
Contact Us
smarttech.com/kb/171362
smarttech.com/kb/171370
smarttech.com/kb/171386
smarttech.com/kb/171405
SMART Support - SMART Technologies
Patent Listing - SMART Technologies
Contact Us
smarttech.com/kb/171362
smarttech.com/kb/171386
smarttech.com/kb/171405
Patent Listing - SMART Technologies
SMART Support - SMART Technologies


















