FLEXISPOT EC4B-IB Electric Height Adjustable Standing Desk

Specifications
| Max. Weight Capacity | 355Ibs |
| Max. Speed | 1.5 “/s |
| Input Voltage | 100 – 240 V |
| Adjustable Height | 22.8″ – 48.4″ (580 – 1230 mm) |
| Wide Expand | 43.3″ – 74.8″ (1100-1900 mm) |
| Duty Cycle | 10% (Working 2 minutes then stop 18 minutes) |
| Working Temperature | 32° – 104° F |
| Certifications | CE FCC CUL |
Accessory Package
Figures shown are for reference only. Please contact customer service if there are any accessories or tools missing.
Parts Included

Diagram of Components

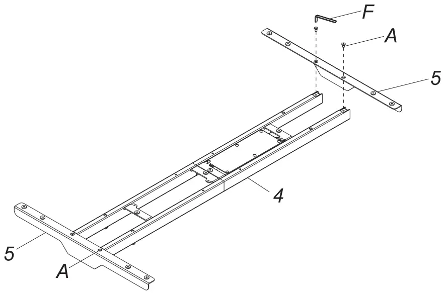
Step 1
Install the Side Brackets
Attach the side brackets (5) to the ends of the supporting beam (4) using screws (A) as show with the Allen Key (F).
Step2
Install the Side Brackets
Attach the side brackets (5) to the ends of the supporting beam (4) using screws (A) as show with the Allen Key (F)
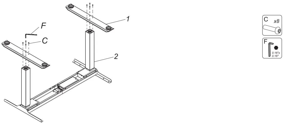
Step 3
Install the Feet
Place the feet(1) on the bottom of the lifting column(2). Fix the feet using screws(C) with Allen Key(F).
Step 4
Install the desktop

Step 5
Install the Control Panel

Step 6
Method 1
Firstly, rotate the screws (B) incompletely into the supporting beam (4) with Allen Key (F), which means do not tighten them. Next, slide one side of the cable management tray (3) into the screws (B), then the other side Finally, tighten the screws (B) with Allen Key (F).

Method 2

Handset Instruction

Bottom introduction: There are seven buttons that
” ▲ “, ” ▼”T”, “1”, “2”, “3”, “M”, “A”
- “▲”” : Adjust the desk upwards
- “▼”: Adjust the desk downwards
- “1” : Position 1, first height position saved by the user
- “2”: Position 2, second height position saved by the user
- “3” : Position 3, third height position saved by the user
- “M” : Height memory function
- “A” : Alert button to remind users changing posture
Instruction
- Height Adjustable Function:
Press the”▲” or “▼” button to adjust the height. The LED display shows the current height. - Height Memory Function:
a. Press UP or DOWN button and adjust the height to the desired height. Press “M” to save the height, and the screen will display “5-“; Press “1” , “2” ,or “3” then, that is, save the height to the corresponding position 1 or 2 or 3, which will show in the display screen as “5-i” ,”5-2 “, or “5-3 “;
b. Press “1”, “2” and “3” button directly to automatically adjust the memory height you saved. - Reminder Function:
a. Press REMINDER button “A” to activate the function. The LED display shows “00” b. Two seconds later, press the “▲” or”▼” button to adjust the reminder time only when the display screen flashes. The default time of the reminder is 45 minutes, which is shown as “: ’15 “. Then press any button to save the time setup, or wait 5 seconds and system will save the time setup automatically. During the countdown, any operation will lead to a repeat starting of the timer. When the countdown finishes, display screen will show ” :an” the buzzer will be active with a 10-second “Didi .Didi .Didi .”tone.
c. Within the 10-second reminder buzz, press any button to reactivate the time countdown that is set up in {b) step. If no operation during the 10-second reminder buzz, there will be another reminder buzz after 5 minutes. No operation during the second buzz will turn off the Long-Time Sitting Reminder.
d. Press and hold the “A” button for three seconds to turn off the Long-Time Sitting Reminder. The LED display shows “8FF “. - Anti-collision sensitivity adjustment – optional features:
a. Press and hold the”▲” “▼” button for 5 seconds at the same time to switch the sensitivity. Switch one fi le f or 1 time and divide it into 4 files (A-3, A-2, A-1, A-0);
b. The display shows “fl -Q” , the anti-collision function is off; the display shows “fl-I “, low sensitivity; Display shows “R-2 “, medium sensitivity; display shows”R-3 “, high sensitivity; (factory default is A-3);
c. During height adjustment, when tabletop comes in contact with another object, it instantly stops and reverses to avoid damage.
d. Press and hold the “▲” “▼” button for 5 seconds at the same time. If the display does not display the above code, there is no anti-collision function. - Troubleshooting:
a. Reset: When the LED shows “RST” , press “▼ ” button until the desk reaches its lowest height and rebounds to stop, it means the reset has been finished.
b. When it does’ work and the LED shows “E01” or “E02”, please retry 18 mins later.
c. If the “▼” button does’ work, please check the cable connection and then cut off the power for at least 10 seconds. Reconnect to the power and press “▼” button to start the reset process when it shows the “Rest “.
d. If all these above process are inefficient, plz contact our customer service.
Troubleshooting
This list is used for checking and solving common faults and errors. Please contact the manufacturer if problem you encounter is not on the list below.
| Problem | Solution |
| No response when pressing and holding the DOWN button | 1. Check the cable connection. |
| 2. Contact the distributor or the manufacturer. | |
| No response when pressing the UP button and DOWN button | 1. Check the cable connection. |
| 2. Contact the distributor or the manufacturer. | |
| Speed of lifting is slow | 1. Check if the load weighs more than 355 lbs. |
| 2. Contact the distributor or the manufacturer. | |
| Motor does not work properly | 1. Contact the distributor or the manufacturer. |
| Can lift but cannot lower down | 1. Start the reset process. |
| 2. Contact the distributor or the manufacturer. | |
| Worksurface downward sliding | 1. Check if the load weighs more than 355 lbs. |
| 2. Contact the distributor or the manufacturer. | |
| Automatically reset a lot | 1. Check if the load weighs more than 355 lbs. |
| 2. Contact the distributor or the manufacturer. | |
| Overworked beyond duty cycle: Max 2 min on/18 min off | 1. Keep the power on and stop working for 18 minutes. |
| 2. Contact the distributor or the manufacturer. | |
| The distance lifted or lowered is not accurate | 1. Press and hold the “M” and “3” button for three seconds until you hear BEEP twice to restore the factory settings. |
| 2. Contact the distributor or the manufacturer. |
Attention
- Power supply: AC1 00V – 240V, frequency 50/60HZ;
- Working environment: 32° – 104° F;
- Before cleaning, you have to unplug the power supply cable. Clean with a slightly damp cloth to wipe away the surface dust. Keep all electrical components away from liquids. Do not damage the connection line and keep the plug in a safe position.
- Inside the control box, there are electronic components, metal parts, plastic parts, wires and so on.
They should be disposed in accordance with the local laws and regulations. They cannot be disposed as household waste. - Before using the product, please make sure the product has been installed correctly.
- Before starting use of the product, please read the instructions to fully understand all the product’s functions and settings.
- Keep children away from electric height-adjustable desks, control units and handsets.
Manufacturer is not responsible of any damages that result from children’s unpredictable behavior. - Slight noise caused by the multi wedge belt or brake system will not impact the use of this product.
- Do not use corrosive or abrasive materials to clean this product and please dispose of cleaning solutions in an environmentally friendly manner.
- Understand the risks associated with using this product. Children or those with cognitive impairment should not use this product without supervision.
- If the power supply cord is damaged or broken, it must be replaced by the manufacturer or a relevant specialist to avoid any injuries.
- Please operate in a clean and safe environment. For example, do not left around your tools. And always be careful to deal with packaging materials, in order to avoid any kinds of possible danger.
Potential chocking risk exists when children play with plastic bags! - If necessary, retain the original package for future transportation.
Recycling and Dispose
This product cannot be disposed of as household waste. To prevent damage to the environment, this product should be recycled. Please use the relevant recycling systems available to you or contract the distributor or manufacturer for recycling assistance.
FlexiSpot Limited Warranty
This limited warranty offered by FlexiSpot covers defects in material or workmanship in new
FlexiSpot products. This warranty extends to the original purchaser only and is non-transferable.
Only consumers purchasing FlexiSpot products from authorized FlexiSpot retailers or resellers may benefit from our limited warranty.
What is Covered?
The FlexiSpot limited warranty covers our products against defects in material or workmanship as follows:
FlexiSpot Height Adjustable Desk Frames
All height adjustable desks purchased on or after April 1, 2022 include a limited, non-transferable warranty. We hereby cover all FlexiSpot height adjustable desks for a period of:
15 years: all metal and mechanical parts and components, including motors and electrical components of FlexiSpot Standing Desk E7, FlexiSpot Standing Desk E8.
10 years: all metal and mechanical parts and components, including motors and electrical components of FlexiSpot Standing Desk, E3FlexiSpot Standing Desk E5.
5 years: all metal and mechanical parts and components, including motors and electrical components of all other height adjustable desk except for E3, E5, E7, and E8.
FlexiSpot Sit-Stand Desktop Workstations
All standing desks purchased on or after October 5, 2016 include a 5-year warranty for the frame, medium-fiber desktop and mechanisms.
FlexiSpot Desk Bikes
All desk bikes purchased on or after October 5, 2016 include a 3-year warranty for the frame, and a 1-year warranty for the electronics and other mechanisms.
FlexiSpot Mini Steppers
All desk bikes purchased on or after October 5, 2016 include a 1-year warranty for the frame, and other mechanisms.
Accessories
All monitor mounts purchased on or after October 5, 2016 include a 5-year warranty for the arms, 3-year warranty for gas spring system and mechanisms.
What are your Remedies?
FlexiSpot will replace at no charge to the consumer the defective parts only or, at FlexiSpot option, replace any product or part of the product that is defective because of improper workmanship and/or material, under normal installation, use, service and maintenance. If FlexiSpot is unable to provide a replacement and repair is not practical or cannot be completed in a timely fashion, FlexiSpot may elect to refund the purchase price in exchange for the return of the product. In the rare event that your FlexiSpot product is defective, we will provide you with a replacement item shipped at no cost to you within the continental United States. The shipping method for replacement products is FedEx Ground, but expedited shipping is available if you choose to pay the additional expense. In addition, you will need to pay the shipping costs if any products need to be shipped to you at an address outside the continental United States.
REPAIR OR REPLACEMENT (OR, IN LIMITED CIRCUMSTANCES, REFUND OF THE PURCHASE PRICE) AS PROVIDED UNDER THIS WARRANTY IS THE EXCLUSIVE REMEDY OF THE PURCHASER. FLEXISPOT NEITHER ASSUMES NOR AUTHORIZES ANY PERSON TO CREATE FOR IT ANY OTHER OBLIGATION OR LIABILITY IN CONNECTION WITH THIS PRODUCT.
FlexiSpot Limited Warranty
What is Not Covered?
Our limited warranty does not cover any problem that is caused by:
- Conditions, malfunctions or damage not resulting from defects in material or workmanship.
- Conditions, malfunctions or damage resulting from normal wear and tear, improper installation, improper maintenance, misuse, abuse, negligence, accident or alteration.
- Accessories, connected materials and products, or related products not manufactured by FlexiSpot.
- Conditions, malfunctions or damage resulting from failure to follow the instructions and guidelines relating to the product’s intended use.
Our limited warranty is void if a product is returned with removed, damaged or tampered labels or any alterations (including removal of any component or external cover).
How to File a Claim?
In order to receive the benefit of our limited warranty, you need to process your claim in compliance with the terms of this limited warranty and follow proper return procedure. To request warranty service, please contact customer service via email at [email protected] or toll free at 855-421-2808. You will need to provide the sales receipt or other evidence of the date and place of purchase for your FlexiSpot product.
Implied Warranties and Limitation of Damages
EXCEPT TO THE EXTENT PROHIBITED BY APPLICABLE LAW, ALL IMPLIED WARRANTIES (INCLUDING WARRANTIES OF MERCHANTABILITY AND FITNESS FOR A PARTICULAR PURPOSE) SHALL BE LIMITED IN DURATION TO THE DURATION OF THIS WARRANTY, AND FLEXISPOT SHALL NOT BE LIABLE FOR ANY INCIDENTAL, INDIRECT, SPECIAL, OR CONSEQUENTIAL DAMAGES, INCLUDING BUT NOT LIMITED TO LOSS OF PROFITS OR REVENUE, RESULTING FROM ANY BREACH OF EXPRESS OR IMPLIED WARRANTY OR CONDITION, OR UNDER ANY OTHER LEGAL THEORY, EVEN IF FLEXISPOT HAS BEEN ADVISED OF THE POSSIBILITY OF SUCH DAMAGES. Some jurisdictions do not allow limitations on the duration of an implied warranty or the exclusion or limitation of special, indirect, incidental or consequential damages, so the above limitations or exclusions may not apply to you.
Governing Law
This Warranty shall be governed by the laws of the State of California, USA, without giving effect to any conflict of laws principles that may provide the application of the law of another jurisdiction.
How State Law Applies
This Warranty gives you specific legal rights, and you may also have other rights which vary from state to state.

















