

Item No. EC8B / EC8S / EC8W
Installation Guide
Specifications
| Max. Weight Capacity | 275 Ibs (125 kg) |
| Input Voltage | 100 – 240 V |
| Adjustable Height | 23.6″ – 49.2″ (600 – 1250 mm) |
| Wide Expand | 43.36″ – 74.8″ (1100 – 1900 mm) |
| Duty Cycle | 10% (Working 2 minutes then stop 18 minutes) |
Accessory Package

Figures shown are for reference only. Please contact customer service if there are any accessories or tools missing.
Parts Included
| NO | Parts | Qty |
| 1 | Pedestal![]() | 2 |
| 3 | Baffle![]() | 1 |
| 5 | Bracket![]() | 2 |
| 7 | Connecting cable![]() | 1 |
| 2 | Lifting column![]() | 2 |
| 4 | Supporting beam(including control box![]() | 1 |
| 6 | Handset (Optiona![]() | 1 |
Diagram of Components


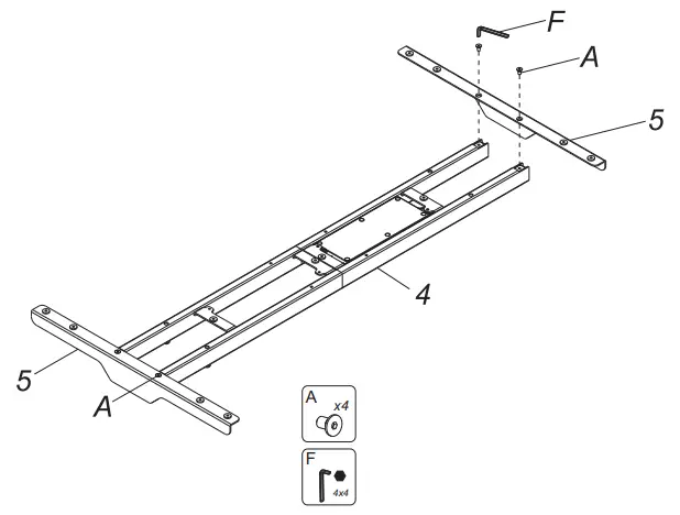
Step 1
Attaching the brackets (5) to the beam (4) using 4 M6 bolts (A). Tighten with 4×4 hex key (F).

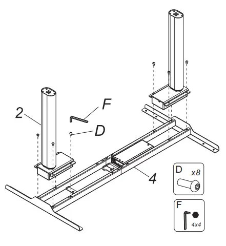
Step 2
Install the lifting column (2)
Attaching the beam (4) to the lifting column (2) using 8 M6x12mm bolts (D).
Tighten with 4×4 hex key (F).

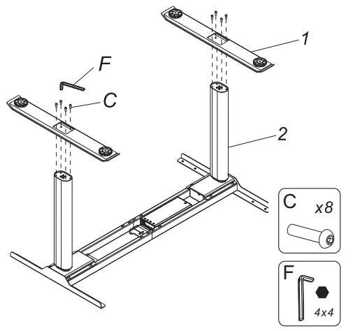
Step 3
Install the pedestal (1)
Attaching the lifting column (2) to the pedestal (1) using 8 M6x16mm bolts (C).
Tighten with 4×4 hex key (F).

Step 4
Install the desktop

Use method 2 in Step 6 to install the desktop, when the desk frame is stretched to more than 1720mm.
Step 5
Install the handset and control box. Connect the cables to the control box as shown in the diagram below.

Step 6
Install baffle
Method 1
First screw the M6 bolts (B) to the supporting beam (4) by using 4×4 hex key (F), not too tight.
Then press one side of baffle (3) and make it inserted to the M6 bolts (B), then insert the other side. After that, tighten the M6 bolts (B) up.
Method 2
Handset Instruction

Product parameters
1.Button introduction: there are 7 buttons in total, including “▲”, “▼”, “1”, “2”,
” “,
” “, “M”
- “▲”: UP Button, used to raise the desk surface;
- “▼”: DOWN Button, used to lower the desk surface;
- “1”: Position 1, saves the 1st height position;
- “2”: Position 2, saves the 2nd height position;
- ”
“: Position
, the display shows the number 3 and saves the standing height position; - “
“: Position
, the display shows the number 4 and saves the seat height position; - “M”: SAVE button, used to save the height position and child lock: security lock.
Operation Guide
- Child lock function:
a. When the child lock is turned on, the blue child lock indicator light ( and M directly above) will light up.
b. Press the button indicator to flash once.
c. To immobilise or unlock the child lock, press and hold the M button for about 5 seconds.
d. All the keys will work normally after immobilising the child lock function. - Button lift function:
The height of the table can be adjusted up or down by pressing the “▲”or “▼” button and the current height will show on the display. - Saving height function:
a. Press the UP or DOWN button to adjust the height of the desk surface. Press the “M” save button and the display will show ” “. Then press “1”, “2”, ” ” or ” ” button and save the height to the corresponding position 1, 2, 3 or 4. The display will show ” “, ” “, ” ” or ” “;
b. Press “1”, “2”, ” “or ” “, and the height-adjustable desk will adjust automatically to the previously saved position. - Adjust the sensitivity of anti-collision:
a. Keep pressing the “▲ ” and “▼” button at the same time for 5 seconds to switch the sensitivity to level 1, 2 or 3.
b. When the display shows ” “, it signifies low sensitivity. ” ” signifies medium sensitivity and ” ” signifies high sensitivity.
c. Anti-collision operates when an obstruction is detected while moving up or down. The desk will stop automatically and move in the opposite direction for a short distance. - Reset function and Troubleshooting:
a. Reset function definition: When the LED display shows ” “, press and hold the “▼” button until the desk reaches its lowest height and the display will show the lowest height. The reset process is then complete.
b. If the exception code E01 or E02 occurs, please retry 18 minutes later. c. If the “▼” button doesn’t work, please check the cable connection and switch off the power for at least 10 seconds. Switch on the power, press the “▼” button and the LED display will show ” “. Then start the reset process by pressing the “▼” button.
Troubleshooting
This list is used for checking and solving common faults and errors. Please contact the manufacturer if problem you encounter is not on the list below.
| Problem | Solution |
| No response when pressing and holding the DOWN button | 1.Check the cable connection. |
| 2.Contact the distributor or the manufacturer. | |
| No response when pressing the UP button and DOWN button | 1.Check the cable connection. |
| 2.Contact the distributor or the manufacturer. | |
| Speed of lifting is slow | 1.Check if the load weighs more than 275 lbs. |
| 2.Contact the distributor or the manufacturer. | |
| Motor does not work properly | 1. Contact the distributor or the manufacturer. |
| Can lift but cannot lower down | 1.Start the reset process. |
| 2.Contact the distributor or the manufacturer. | |
| Worksurface downward sliding | 1.Check if the load weighs more than 275 lbs. |
| 2.Contact the distributor or the manufacturer. | |
| Automatically reset a lot | 1.Check if the load weighs more than 275 lbs. |
| 2.Contact the distributor or the manufacturer. | |
| Overworked beyond duty cycle: Max 2 min on/18 min off | 1.Keep the power on and stop working for 18 minutes. |
| 2.Contact the distributor or the manufacturer. | |
| The distance lifted or lowered is not accurate | 1.Press and hold the “M’ and “f” button for three seconds until you hear BEEP twice to restore the factory settings. |
| 2.Contact the distributor or the manufacturer. |
Attention
- Power supply: AC100V – 240V, frequency 50/60HZ;
- Working environment: 32º – 104º F;
- Before cleaning, you have to unplug the power supply cable. Clean with a slightly damp cloth to wipe away the surface dust. Keep all electrical components away from liquids. Do not damage the connection line and keep the plug in a safe position.
- Inside the control box, there are electronic components, metal parts, plastic parts, wires and so on.
They should be disposed in accordance with the local laws and regulations. They cannot be disposed as household waste. - Before using the product, please make sure the product has been installed correctly.
- Before starting use of the product, please read the instructions to fully understand all the product’s functions and settings.
- Keep children away from electric height-adjustable desks, control units and handsets.
Manufacturer is not responsible of any damages that result from children’s unpredictable behaviour. - Slight noise caused by the multi wedge belt or brake system will not impact the use of this product.
- Do not use corrosive or abrasive materials to clean this product and please dispose of cleaning solutions in an environmentally friendly manner.
- Understand the risks associated with using this product. Children or those with cognitive impairment should not use this product without supervision.
- If the power supply cord is damaged or broken, it must be replaced by the manufacturer or a relevant specialist to avoid any injuries.
- Please operate in a clean and safe environment. For example, do not left around your tools. And always be careful to deal with packaging materials, in order to avoid any kinds of possible danger. Potential chocking risk exists when children play with plastic bags!
- If necessary, retain the original package for future transportation.
Recycling and Disposal
This product cannot be disposed of as household waste. To prevent damage to the environment, this product should be recycled. Please use the relevant recycling systems available to you or contract the distributor or manufacturer for recycling assistance.
FlexiSpot Limited Warranty
– The FlexiSpot limited warranty covers our products against defects in material or workmanship as follows:
– FlexiSpot Height Adjustable Desks All height-adjustable desks that were purchased on or after October 5, 2016 come with a 5 years warranty for the frame and a 3-year warranty for the motor, desk frame ponents, mechanical parts, and electrical components, except for the Modish Standing Desk which has a 7-year warranty for the desk frame and a 1-year warranty for its tabletop.
– FlexiSpot Sit-Stand Desktop Workstations All standing desks purchased on or after October 5, 2016 include a 5-year warranty for the frame, medium-fiber desktop and mechanisms.
– FlexiSpot Desk Bikes All desk bikes purchased on or after October 5, 2016 include a 3-year warranty for the frame, and a 1-year warranty for the electronics and other mechanisms.
– FlexiSpot Mini Steppers All desk bikes purchased on or after October 5, 2016 include a 1-year warranty for the frame, and other mechanisms.
– Accessories All monitor mounts purchased on or after October 5, 2016 include a 5-year warranty for the arms, 3-year warranty for gas spring system and mechanisms.
– FlexiSpot will replace at no charge to the consumer the defective parts only or, at FlexiSpot’s option, replace any product or part of the product that is defective because of improper workmanship and/or material, under normal installation, use, service and maintenance.
– If FlexiSpot is unable to provide a replacement and repair is not practical or cannot be completed in a timely fashion, FlexiSpot may elect to refund the purchase price in exchange for the return of the product. In the rare event that your FlexiSpot product is defective, we will provide you with a replacement item shipped at no cost to you within the continental United States.
– The shipping method for replacement products is FedEx Ground, but expedited shipping is available if you choose to pay the additional expense.
– In addition, you will need to pay the shipping costs if any products need to be shipped to you at an address outside the continental United States.
– REPAIR OR REPLACEMENT (OR, IN LIMITED CIRCUMSTANCES, REFUND OF THE PURCHASE PRICE) AS PROVIDED UNDER THIS WARRANTY IS THE EXCLUSIVE REMEDY OF THE PURCHASER. FLEXISPOT NEITHER ASSUMES NOR AUTHORIZES ANY PERSON TO CREATE FOR IT ANY OTHER OBLIGATION OR LIABILITY IN CONNECTION WITH THIS PRODUCT.
– Our limited warranty does not cover any problem that is caused by:
– 1. Conditions, malfunctions or damage not resulting from defects in material or workmanship.
– 2. Conditions, malfunctions or damage resulting from normal wear and tear, improper installation, improper maintenance, misuse, abuse, negligence, accident or alteration.
– 3. Accessories, connected materials and products, or related products not manufactured by FlexiSpot.
– 4. Conditions, malfunctions or damage resulting from failure to follow the instructions and guidelines relating to the product’s intended use.
– Our limited warranty is void if a product is returned with removed, damaged or tampered labels or any alterations (including removal of any component or external cover).
– In order to receive the benefit of our limited warranty, you need to process your claim in compliance with the terms of this limited warranty and follow proper return procedure.
– To request warranty service, please contact customer service via email at [email protected] or toll free at 855-421-2808. You will need to provide the sales receipt or other evidence of the date and place of purchase for your FlexiSpot product.
This limited warranty offered by FlexiSpot covers defects in material or workmanship in new FlexiSpot products. This warranty extends to the original purchaser only and is non-transferable. Only consumers purchasing FlexiSpot products from authorized FlexiSpot retailers or resellers may benefit from our limited warranty.
Implied Warranties and Limitation of Damages
EXCEPT TO THE EXTENT PROHIBITED BY APPLICABLE LAW, ALL IMPLIED WARRANTIES (INCLUDING WARRANTIES OF MERCHANTABILITY AND FITNESS FOR A PARTICULAR PURPOSE) SHALL BE LIMITED IN DURATION TO THE DURATION OF THIS WARRANTY, AND
FLEXISPOT SHALL NOT BE LIABLE FOR ANY INCIDENTAL, INDIRECT, SPECIAL, OR CONSEQUENTIAL DAMAGES, INCLUDING BUT NOT LIMITED TO LOSS OF PROFITS OR REVENUE, RESULTING FROM ANY BREACH OF EXPRESS OR IMPLIED WARRANTY OR CONDITION, OR UNDER ANY OTHER LEGAL THEORY, EVEN IF FLEXISPOT HAS BEEN ADVISED OF THE POSSIBILITY OF SUCH DAMAGES. Some jurisdictions do not allow limitations on the duration of an implied warranty or the exclusion or limitation of special, indirect, incidental or consequential damages, so the above limitations or exclusions may not apply to you. Governing Law
This Warranty shall be governed by the laws of the State of California, USA, without giving effect to any conflict of laws principles that may provide the application of the law of another jurisdiction.
How State Law Applies
This Warranty gives you specific legal rights, and you may also have other rights which vary from state to state.








Handset Instruction
















