
Multi Electric Stand
electrically height-adjustable stand

General information
This user manual contains important information on the safe operation of the device. Read and follow all safety notes and all instructions. Save this manual for future refer‐
ence. Make sure that it is available to all persons using this device. If you sell the device to another user, be sure that they also receive this manual. Our products and user manuals are subject to a process of continuous development. We, therefore, reserve the right to make changes without notice. Please refer to the latest version of the user manual which is ready for download under www.thomann.de.
1.1 Further information
On our website (www.thomann.de) you will find lots of further information and details on the following points:
| Download | This manual is also available as a PDF file for you to download. |
| Keyword search | Use the search function in the electronic version to find the topics of interest for you quickly. |
| Online guides | Our online guides provide detailed information on technical basics and terms. |
| Personal consultation | For a personal consultation please contact our technical hotline. |
| Service | If you have any problems with the device the customer service will gladly assist you. |
1.2 Notational conventions
This manual uses the following notational conventions:
Letterings
The letterings for connectors and controls are marked by square brackets and italics.
Examples: [VOLUME] control, [Mono] button.
Displays
Texts and values displayed on the device are marked by quotation marks and italics.
Examples: ‘24ch’ , ‘OFF’ .
Instructions
The individual steps of instruction are numbered consecutively. The result of a step is indented and highlighted by an arrow.
Example:
- Switch on the device.
- Press [Auto].
⇒Automatic operation is started. - Switch off the device.
1.3 Symbols and signal words
In this section, you will find an overview of the meaning of symbols and signal words that are used in this manual.
| Signal word | Meaning |
| DANGER! | This combination of symbol and signal word indicates an immediately dangerous situation that will result in death or serious injury if it is not avoided. |
| CAUTION! | This combination of symbol and signal word indicates a possible dangerous situation that can result in minor injury if it is not avoided. |
| NOTICE! | This combination of symbol and signal word indicates a possible dangerous situation that can result in a mate‐ rial and environmental damage if it is not avoided. |
| Warning signs | Type of danger |
| Warning – high-voltage. | |
| Warning – danger zone. |
Safety instructions
Intended use
This device is intended for use as a multifunctional base for stable fixing and height-adjustable installation of keyboards, synthesizers, stage pianos, etc., and is not suitable for lifting persons. Use the device only as described in this user manual. Any other use or use under other operating conditions is considered to be improper and may result in personal injury or property damage. No liability will be assumed for damages resulting from improper use.
This device may be used only by persons with sufficient physical, sensorial, and intellectual abilities and having corresponding knowledge and experience. Other persons may use this device only if they are supervised or instructed by a person who is responsible for their safety.
Safety
DANGER!
Danger for children
Ensure that plastic bags, packaging, etc. are disposed of properly and are not within reach of babies and young children. Choking hazard! Ensure that children do not detach any small parts (e.g. knobs or the like) from the unit. They could swallow the pieces and choke! Never let children unattended use electrical devices.
DANGER!
Electric shock caused by short-circuit
Always use proper ready-made insulated mains cabling (power cord) with a protective contact plug. Do not modify the mains cable or the plug. Failure to do so could result in electric shock/death or fire. If in doubt, seek advice from a registered electrician.
DANGER!
Electric shock caused by high voltages inside
Within the device, there are areas where high voltages may be present. Never remove any covers. There are no user-serviceable parts inside. Do not use the device if covers, protectors or optical components are missing or damaged.
CAUTION!
The danger of tipping from excessive loading
The product is not suitable for lifting persons. In case of excessive and uneven loading, the product might tip over, causing injury and property damage. Never exceed the specified maximum load for the product. Never sit down on the product.
CAUTION!
The danger of tipping on unsuitable ground
If placed on soft or uneven ground, the stand may overturn and cause injuries and property damage. Place the stand on flat and solid surfaces only.
NOTICE!
Operating conditions
This device has been designed for indoor use only. To prevent damage, never expose the device to any liquid or moisture. Avoid direct sunlight, heavy dirt, and strong vibrations. Only operate the device within the ambient conditions specified in the chapter ‘Technical specifications’ of this user manual. Avoid heavy temperature fluctuations and do not switch the device on immediately after it was exposed to temperature fluctuations (for example after transport at low outside temperatures). Dust and dirt inside can damage the unit. When operated in harmful ambient conditions (dust, smoke, nicotine, fog, etc.), the unit should be maintained by qualified service personnel at regular intervals to prevent overheating and other malfunction.
NOTICE!
Possible staining
The plasticizer contained in the rubber feet of this product may possibly react with the coating of your surface and after some time cause permanent dark stains. In case of doubt, do not put the rubber feet directly on the surface and use a suitable underlay if necessary, i.e. felt-pad floor protectors or similar.
Features
Special characteristics:
- Electrically height-adjustable stand for keyboards, synthesizers, stage pianos, mixers, studio equipment, etc.
- Steplessly height-adjustable from 61 cm (24 in) up to 126 cm (50 in)
- Four heights freely storable
- Adjustable feet to compensate for floor unevenness
- Many adding-on accessories (available separately)
- Maximum load capacity: 150 kg
When assembling the stand, use felt-pad floor protectors or a carpet in order not to damage the coating of your parquet, linoleum, laminate or PVC floor.
Open the package and make sure before assembling that the entire scope of delivery is present, as posted here.
| 1 | Control panel |
| 2 | Control panel holder |
| 3 | 4 × slide screw |
| 4 | 4 × round nut |
| 5 | 8 × Allen screw M6×25 |
| 6 | 2 × tube |
| 7 | 2 × standing column |
| 8 | Motor holder |
| 9 | 14 × Allen screw M6×10 |
| 10 | 4 × adhesive cable tie |
| 11 | Motor |
| 12 | 2 × cable of the standing column |
| 13 | The cable of the control panel |
| 14 | 2 × foot |
| 15 | Power cable |
| 16 | 2 × crossbar |
| 17 | 4 × Allen screw M6×40 |
| 18 | 4 × adhesive foam pad |
| 19 | 2 × angle piece |
| 20 | 2 × Allen key |
- Set up the stand near a power wall outlet.
- Proceed according to the illustrations and only use the supplied screws. Using other screws could result in a reduced stability of the stand.

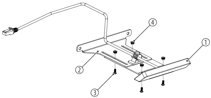
- First attach the control panel (1) to the control panel holder (2). Use the four supplied slide screws (3) and the four round nuts (4) and hand-tighten them.

- Place the tubes (6) and standing columns (7) as illustrated. Attach the mounted control panel holder with two Allen screws M6×25 (5) to the tube (6) and to the standing column (7) using the Allen key (20). Attach the tube and the standing column on the other side following the same procedure.

- Attach the motor holder (8) with four Allen screws M6×10 (9) to both tubes (6) using the Allen key (20).

- Attach two adhesive cable ties (10) in the illustrated position to properly install the cable of the control panel.

- Slide the motor (11) in the holder (8) and connect the cables of the standing columns (12) and the cable of the control panel (13) to the motor.

- Attach the feet (14) with four Allen screws M6×10 each (9) to the standing columns (7).

- Attach two adhesive cable ties (10) in the illustrated position to properly install the power cable (15). Connect the power cable (15) to the motor (11).
Ensure that the power cable is not installed too tight in the cable ties. The cable should be able to move while adjusting the height.
- Turn the stand over and put it onto the feet.
Attach the crossbars (16) at the desired position to both tubes (6) with two Allen screws M6×40 each (17) using the Allen key (20).
- Attach two adhesive foam pads (18) to each crossbar (16) at the desired positions.

- Attach the angle pieces (19) if desired with one Allen screw M6×10 each (9) to the crossbars (16).
Alternatively, you can attach the devices to be mounted on the stand with a 3/8” cylinder head screw each (not included in the scope of delivery) using the Allen key (20).
Align the control panel (1) as desired and tighten the slide screws (3) and the round nuts (4).
- Align the adjustable feet to compensate for the floor unevenness. The assembled stand should now look like the following illustration:

Operating elements
Control panel

| 1 | Display |
| 2 | [1] | [2] | [3] | [4] Number buttons for storing and selecting a set height |
| 3 | [S] Buttons for storing a set height |
| 4 | A|V Buttons for setting the height |
Operating
Unpack and check carefully there is no transportation damage before using the unit. Keep the equipment packaging. To fully protect the product against vibration, dust and moisture during transportation or storage use the original packaging or your own packaging material suitable for transport or storage, respectively.
Switching the unit centimeter/inch
Press and hold [S] and [3] simultaneously until the unit display switches.
⇒ The display shows the set height in the corresponding unit.
Height setting and storing
- Hold down Λ or V to set the desired height from 61 cm (24 in) up to 126 cm (50 in). The motor starts to work and moves the stand in the desired position.
⇒ The display shows the set height (e.g. ‘090’ for the height of 90 cm). - Release Λ or V to apply the setting.
⇒ The motor stops. - Press [S] and then one of the buttons [1], [2], [3] or [4] to store the set height to one of the number buttons.
- Press one of the buttons [1], [2], [3] or [4] at any time to move the stand to the stored height.
⇒ The motor moves the stand automatically in the stored position.
Performing a reset
- Disconnect the device from the power supply and wait for 2 minutes.
- Reconnect the device to the power supply.
- Press and hold for 5 seconds.
⇒ The display shows ‘RST’. The columns move in the lowest position (61 cm /24 in).
Technical specifications
| Adjustable height, min. | 61 cm (24 in) | |
| Adjustable height, max. | 126 cm (50 in) | |
| Operational speed | 3 cm/s (22 s for the whole adjusting range) | |
| Length crossbar | 35 cm | |
| Adjustable distances crossbar | 16 cm, 26 cm, 36 cm, 46 cm, 56 cm, 66 cm, 76 cm, 86 cm, 96 cm | |
| Feet length | 55 cm | |
| Load capacity | 150 kg | |
| Power consumption | 200 W | |
| Supply voltage | 100 – 240 V 50/60 Hz | |
| Dimensions (W × H × D) | 1120 mm × 610 mm – 1260 mm × 550 mm | |
| Weight | 22 kg | |
| Ambient conditions | Temperature range | 0 °C…40 °C (32 °C…104 °F) |
| Relative humidity | 20 %…80 % (non-condensing) | |
| Colour | Black | |
EU Declaration of Conformity
| Name and address of manufacturer / EU-AR | Thomann GmbH Hans-Thomann-Straße 1 96138 Burgebrach Germany |
| DECLARATION OF CONFORMITY IS ISSUED UNDER THE SOLE RESPONSIBILITY OF: | |
| Name and address of manufacturer | Thomann GmbH Hans-Thomann-Straße 1 96138 Burgebrach Germany |
| Product identification | 491963 Roadworx Multi Electric Stand |
| THE PRODUCTS MENTIONED IN THIS DECLARATION ARE IN CONFORMITY WITH: | |
| EU Community Legislation | Machinery Directive 2006/42/EC Restriction of Hazardous Substances (RoHS) Directive 2011/65/EU Electromagnetic Compatibility (EMC) Directive 2014/30/EU |
| Harmonized standards | Safety of machinery EN ISO 13857:2019 + EN ISO 13857:2008 EN 60204-1:2006 + A1:2009 + AC:2010 + EN 60204-1:2018 EN ISO 12100:2010 |
| Safety of electrical equipment EN 60335-1:2012 + AC:2014 + A11:2014 + A13:2017 + A1:2019 + A2:2019 + A14:2019 | |
| Exposure of humans to electromagnetic fields (EMF) EN 12198-1:2000+A1:2008 | |
| Electromagnetic Compatibility (EMC) EN 55014-1:2017 + A11:2020 + EN IEC 55014-1:2021 + EN 55014-1:2006 + A1:2009 + A2:2011 EN 55014-2:2015 + EN IEC 55014-2:2021 + EN 55014-2:1997 + AC:1997 + A1:2001 + A2:2008 EN 61000-3-2:2014 + EN IEC 61000-3-2:2019 EN 61000-3-3:2013 + A1:2019 EN 61000-6-1:2007 EN 61000-6-3:2007 + A1:2011/AC:2012 | |
| Restricted substances in electrical products EN 50581:2012 EN IEC 63000:2018 | |
| SIGNED FOR AND ON BEHALF OF: | |
| Place and date of issue | Burgebrach, 29 November 2021 |
Protecting the environment
Disposal of the packaging material
For the transport and protective packaging, environmentally friendly materials have been chosen that can be supplied to normal recycling. Ensure that plastic bags, packaging, etc. are properly disposed of. Do not just dispose of these materials with your normal household waste, but make sure that they are collected for recycling. Please follow the notes and markings on the packaging.
Disposal of your old device
This product is subject to the European Waste Electrical and Electronic Equipment Directive (WEEE) in its currently valid version. Do not dispose of your normal household waste.
Dispose of this device through an approved waste disposal firm or through your local waste facility. When discarding the device, comply with the rules and regulations that apply in your country. If in doubt, consult your local waste disposal facility.

Musikhaus Thomann Thomann GmbH
Hans-Thomann-Straße 1
96138 Burgebrach Germany
Telephone: +49 (0) 9546 9223-0
E-mail: [email protected]
Internet: www.thomann.de
03.12.2021, ID: 491963 (V2)






























