SMART electric height-adjustable mobile stand
User guide
FSE-420 (S420-1)
Learn more
https://support.smarttech.com/docs/redirect/?product=fse-400
This guide and other resources for your SMART electric height-adjustable mobile stand are available in the Support section of the SMART website (smarttech.com/support). Scan this QR code to view these resources on your mobile device.
Trademark notice
SMART Board, smarttech, the SMART logo and all SMART taglines are trademarks or registered trademarks of SMART Technologies ULC in the U.S. and/or other countries. All third-party product and company names may be trademarks of their respective owners.
Copyright notice
© 2019–2023 SMART Technologies ULC. All rights reserved. No part of this publication may be reproduced, transmitted, transcribed, stored in a retrieval system or translated into any language in any form by any means without the prior written consent of SMART Technologies ULC. Information in this manual is subject to change without notice and does not represent a commitment on the part of SMART.
This product and/or use thereof is covered by one or more of the following U.S. patents: www.smarttech.com/patents
March 29, 2023 smarttech.com/kb/171845
Important information
IMPORTANT SAFETY INSTRUCTIONS: SAVE THESE INSTRUCTIONS
Note
Refer to the illustrated installation instructions for important information about installing and setting up the stand.
Warning
- Read the following warnings carefully. Failure to read the warnings below or to follow the installation instructions included with the stand could result in personal injury or product damage.
- DANGER: to reduce the risk of shock, always unplug the stand from the electrical outlet before cleaning or servicing the stand.
- Closely supervise the operation of the stand when it’s used near children under the age of 8 or people with cognitive disabilities.
- Use the stand only for it’s intended use as described in these instructions. Do not use attachments not recommended by SMART Technologies.
- Do not operate the stand if it has a damaged cord or plug, if it is not working properly, if it has been dropped or damaged, or if it has been dropped into water. Return the stand to a service center for examination and repair.
- Keep the power cord away from heated surfaces.
- Do not drop or insert any object into any opening.
- Do not use the stand outdoors.
- Connect the stand only to a properly grounded outlet.
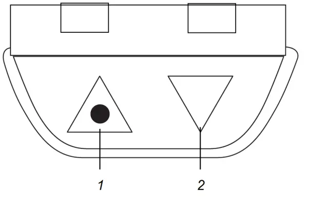
- Only use the stand with a nominal 120-volt circuit that has a grounding plug that looks like the plug in the illustration below.

- Only connect the stand to an outlet that has the same configuration as the plug.
- Do not defeat the safety purpose of the grounding-type plug. A grounding plug has two blades or pins and a third grounding prong. The third prong is provided for your safety. If the provided plug does not fit into the outlet, consult an electrician for replacement of the obsolete outlet.
- Do not alter or remove the grounding prong from the power cord.
- Improper use of the grounding plug can result in electric shock.
- Do not use a mains power adapter plug.
- The stand must be grounded to reduce the risk of electric shock in the event of an electrical short circuit.
- The assembly and installation of the stand is intended for a trained professional.
- The installer must follow the installation instructions. Not doing so can result in injury or damage to equipment.
- Use only SMART-supplied mounting hardware or hardware that is designed to properly support the weight of the mounted display and accessories.
- CAUTION—Use the FSE-420 stand only with displays that measure between 55″ (139 cm) and 86″ (219 cm) diagonally and that weigh between 77 lb. (35 kg) and 200 lb. (91 kg). Using the stand with other displays might be unstable and could result in injury.
- Use the stand only for lifting a display that meets the size and weight limitations indicated in the product specifications. Do not use the stand to lift people or objects.
- Do not overload the stand with too much weight, as this can cause injury or damage to the stand.
- Lock the casters before raising or lowering the stand.
- Operating the stand can create a hand-crushing or hand-pinching hazard. To prevent injury, keep hands and people away from crush and pinch locations on the stand.
- Allow adequate clearance above and below the stand to ensure safe raising and lowering.
- Do not operate the stand if it is damaged.
- Do not use the stand near water.
- Allow only adults who are trained and able to use the stand safely to operate it.
- Do not allow children or people who are not able to safely operate the stand to use it.
- Do not allow children to operate or play with the stand.
- Do not climb (or allow children to climb) on a wall- or stand-supported display. Climbing on the display could result in injury or product damage.
- Do not stand (or allow children to stand) on a chair to touch the surface of the stand. Rather, mount the product at the appropriate height.
- Ensure that any cables extending across the floor to the stand are properly bundled and marked to avoid a trip hazard.
- Do not use the handles to lift the stand.
- Do not move the stand while external cables are connected or when the power is on.
- Move the display to its lowest position before you move the stand.
- Secure all cords and cabling before you move the stand.
- Two or more people are required to move the stand.
- Move a floor stand-mounted display with care. Quick stops, excessive force, and uneven surfaces may cause the stand to overturn.
- Unplug the power cord before cleaning the stand. Use only a dry or slightly dampened cloth to clean the stand.
- Do not allow children to clean or maintain the stand without supervision.
- Only use attachments/accessories specified by the manufacturer.
- Unplug the power cord before connecting and disconnecting the control panel.
- Unplug the power cord if the stand malfunctions.
- To reduce the risk of fire or electric shock, do not expose the stand to rain or moisture.
- Do not use the stand if the power cord is damaged. Replace a damaged power cord only with a new cord and power bar provided by SMART Technologies or a qualified service technician.
- Do not modify or make changes to the control unit or hand switches.
- Do not open the control box. There is danger of electric shock.
- Allow only qualified service technicians to service the stand. Allowing anyone else to service the stand will void the warranty/guarantee.
- Refer all servicing to qualified service personnel. Servicing is required when the stand has been damaged in any way, such as power-supply cord or plug is damaged, liquid has been spilled or objects have fallen into the stand, the stand has been exposed to rain or moisture, does not operate normally, or has been dropped.
- Use only original accessories and replacement parts. Using other accessories or parts will void the warranty/guarantee.
- Make sure the stand’s power cord is easily accessible at all times.
Caution
- Operate the stand only indoors.
- Protect the power cord from being walked on or pinched, particularly at plugs, convenience receptacles, and the point where they exit from the stand.
- Use only a power extension cord that is rated for the stand’s electrical load.
- Do not exceed the duty cycle written on the product label.
Important
- Keep these instructions.
- Make sure an electrical socket is near the stand and remains easily accessible during use.
- Plug the stand into its own electrical outlet for best operation.
- The stand is intended to be used by a trained operator in a commercial setting. It is not intended to be used in an area where children or people with disabilities are not supervised.
- When operating the stand, you must be familiar with the entrapment hazard of the stand, the mounted display, and of mounted accessories. In some cases, there can be less than 12″ (30.5 cm) of clearance between the bottom of the display and the stand’s base. This can cause a person to be pinned and injured. Installed accessories, such as the laptop shelf, can also cause people to be pinned between the stand and fixed objects or furniture. Those who operate the stand must ensure that they and others stay clear of entrapment locations when raising and lowering the stand.
- This product may contain substances that are candidate SVHCs under the EU REACH Regulation (EC) 1907/2006. Check https://echa.europa.eu/scip-database for the latest information.
Features
The SMART electric height-adjustable mobile stand has the following features:
| Feature | Description |
| Powered height adjustment | With its 26″ (66 cm) of electric-powered height adjustment, you can easily adjust the height of a mounted display with the press of a button. |
| Locking casters | The stand’s plate-mounted casters allow you to easily roll the stand across smooth surfaces and lock the casters to secure the stand. |
| Safety bounce-back mechanism | The stand features a safety mechanism to prevent injury and damage when raising and lowering a display. If an obstruction is encountered while the stand is being raised or lowered, the stand will stop and reverse direction briefly. |
| Power bar | The power bar, mounted inside the cabinet, has surge protection and can be used for connecting a display and accessories to power. |
| Sturdy steel frame | The sturdy steel frame and wide footprint allows the stand to support displays that range from 55″ (139 cm) to 86″ (219 cm) and that weigh between 77 lb. (35 kg) and 200 lb. (91 kg). It supports a maximum weight of 228 lb. (103 kg) with a display and accessories. |
| Locking cabinet | The locking cabinet securely stores a computer, accessories, and cables. |
| Americans with Disabilities Act (ADA) compliance | The stand’s design meets Americans with Disabilities Act (ADA) accessibility standards. |
Components
The stand consists of the following components:

| No. | Description |
| 1 | Mounting holes |
| 2 | Control panel |
| 3 | Locking casters |
| [Not shown] | Storage cabinet (rear surface) |
| [Not shown] | Surge-protected power bar (mounted inside the cabinet) |
Control panel
You can raise and lower the stand with the control panel. It’s located on the right side of the stand, but you can remove and attached it to a mounted display. See the illustrated installation instructions for information on how to move the control panel.

| No. | Name | Procedure |
| 1 | Up | Press to raise the stand. |
| 2 | Down | Press to lower the stand |
Accessories
The following accessories are available for the mobile stand:
| Accessory | Description |
| Laptop shelf | The laptop shelf is a convenient place for a laptop or keyboard when you’re using a stand-mounted display. The maximum allowable load is 13 lb. 3 oz. (6 kg). |
| Handles | The handles are a sturdy place to push and pull when you’re moving the stand. Do not use the handles to lift the stand. |
| Cable hook | The cable hook safely secures cables when you move the stand. |
| Power bar | The power bar is a convenient place to connect the mounted display and accessories to power. Use only the included six outlet power bar (model TPL615B) with the stand. |
More information
See the following resources for more information:
- FSE-420 specifications: smarttech.com/kb/171846
- FSE-420 illustrated installation instructions: smarttech.com/kb/171843
These documents are available in the Support section of the SMART website: smarttech.com/support.
The stand requires assembly. Consult the SMART electric height-adjustable mobile stand illustrated installation instructions (smarttech.com/kb/171843) included with the stand for assembly instructions.
Warning
Failure to follow the installation instructions included with the stand could result in personal injury or product damage.
Caution
Ensure any display you install on the stand weighs between 77 lb. (35 kg) and 200 lb. (91 kg).
Environmental requirements
Before installing the stand, refer to the following environmental requirements.
Caution
- Do not operate the stand immediately after moving it from a cold location to a warm location.
Allow the stand to reach room temperature before operation to prevent possible product damage. - Do not place the stand in hot locations, such as near heating equipment.
Considerations when assembling the stand
Warning
- Two people are required to safely assemble the stand and to mount or remove the display.
- Lock the casters before installing or working with the display on the stand or adjusting its height.
Notes
- You require ample work space to assemble the stand.
- Do not set up or use the stand in an area with excessive levels of dust, dirt, humidity, or smoke.
Review the following recommendations when using the WM-SBID-200 wall mount that is supplied with some SMART display models:
| Model(s) | Recommendation |
| SMART Board GX Series SMART Board MX Series SMART Board 6000 Series SMART Board 7000 Series | The wall mount isn’t required. |
| SMART Board 6000S Series SMART Board 7000R Series SMART Board MX (V4) 86″ models SMART Board GX (V2) 86″ models | The wall mount is required. |
Note
Please contact SMART Support (smarttech.com/contactsupport) if you need a WM-SBID-200 wall mount.
Moving the stand
Warning
- Do not use the handles to lift the stand.
- Do not move the stand while external cables are connected or when the power is on.
- Move the display to its lowest position before you move the stand.
- Secure all cords and cabling before you move the stand.
- Two or more people are required to move the stand.
- Move a floor stand-mounted display with care. Quick stops, excessive force, and uneven surfaces may cause the stand to overturn.
To move the stand
- Shut down the mounted display and accessories.
- Press and hold the Down button on the control panel until the display reaches its lowest position.
- Flick the power switch to the off position.
- Remove all loose items from the stand and the storage cabinet.
- Unplug the stand from the power outlet and secure all cables.
- Flip the caster brakes up to unlock them.
- Carefully push the center point of the legs to move the stand. Do not push on the upper part of the stand, as this might cause it to tip over.
- After the stand is moved, flip the caster brakes down to lock them and secure the stand in place.
- Connect the power cable to the outlet and secure any cables that run along the floor.
Raising, lowering, calibrating, and resetting the stand
Warnings
- Ensure the locking bolts are securely tightened before operating the stand.
- Do not allow children or people who are not able to safely operate the stand to use it.
- Lock the casters before raising or lowering the stand.
- Operating the stand can create a hand-crushing or hand-pinching hazard. To prevent injury, keep hands and people away from crush and pinch locations on the stand.
- Allow adequate clearance above and below the stand to ensure safe raising and lowering.
- Use the stand only on a flat surface.
Caution
Do not raise and lower the stand for more than two minutes at a time.
Calibrating the stand
After assembling the stand, you must calibrate it before you start to use it.
To calibrate the stand
- Connect the stand to a power outlet.
- Press the Down button and lower the stand to the lowest position.
- Press the Down button for five seconds. The stand moves up and down 1 cm.
- Release the Down button
Raising and lowering the stand
To raise the stand
- Press and hold the Up button on the control panel.
- Release the Up button to stop raising the display.
To lower the stand
- Press and hold the Down button on the control panel.
- Release the Down button to stop lowering the display.
Resetting the stand
If the stand lowers but does not move when you try raising it or if you replace the controller, perform a
factory reset by following the steps below.
To factory reset the stand
- Connect the stand to a power outlet.
- Press the Down button and lower the stand to the lowest position.
- Press the Down button for five seconds. The stand moves up and down 1 cm.
- Release the Down button.
Troubleshooting the stand
This chapter describes how to troubleshoot the mobile stand.
Resolving general issues
| Issue | Possible solution |
| The stand does not raise or lower | Ensure the power cable is connected to the stand. Check all cables and ensure that they are not damaged. Ensure the switch on the power bar is turned on. Ensure the actuators and the control panel are connected to the control box. Unplug the power cable for the stand. Wait 15 minutes and then reset the stand. |
| The display doesn’t fit on the stand. | Ensure you’re using the mounting plate supplied with the SMART display. If you’re using the stand with a third-party display, ensure the stand supports the display’s dimensions and mounting patterns see (see smarttech.com/kb/171846). Tip If the display is outside of the stand’s supported dimensions, use a SMART wall mount (see smarttech.com/kb/171405). |
Product labels

WARNING – Risk of Tip
Over For use with displays weighing 200 lb (91 kg) or less. Use with heavier displays may result in instability causing tip over resulting in death or serious injury. Do not use with displays exceeding 6.0 inches (152.2 mm) in thickness.
WARNING – Risk of Injury
Not to be operated in locations where children or people with cognitive disabilities are anticipated to be present and not supervised. Maximum load 240 lb (109 kg). The use of accessories may reduce the max display weight (240 lb – accessories = Max display weight).
WARNING – Risk of Electric Shock, Fire and/or Injury
Review the assembly instructions to ensure that only the SMART supplied critical components are being installed in the assembly of this stand.
IMPORTANT – This stand has optional mounting accessories for laptops and speakers. See Specification Sheets for a list of qualified mounting accessories. Use of other mounting accessories may result in instability leading to possible injury. For commercial use only.
![]()
WARNING – Risk of tip over Maximum load: 13.2 lbs (6 kg) ______
AVERTISSEMENT Risque . Charge maximale: 13.2 lbs (6 kg) 1032741-03
WARNING RISK OF FIRE AND SHOCK Use only SJ or SJT or equivalent Type 18 AWG cord. A
FSE-420 Subassemblies Laptop shelf – FSE-420-LS
6 outlet power bar (Model TPL615B)
CAUTION: TO RECUCE THE RISK OF THE ELECTRIC SHOCK USE ONLY IN DRY LOCATIONS INDOORS
ATTENTION: POUR REDUIRE LE RISQUE
CAUTION: DO NOT CONNECT TO ANOTHER RELOCABLE POWER TAP
Wall mount bracket – WM-SBID-200 (Model W200-1)
WM-SBID-200 SMART Wall Mount Model W200-1 smarttech.com/support
smarttech.com/comnhance/support
SMART Technologies ULC 3636 Research Road NW Calgary, AB T2LIY1 Canada 1032807-01
– Made in China
CAUTION: This wall mount is intended for displays no larger or heavier than the limits indicated. Use with products beyond these limits may result in collapse of the mount leading to possible injury.
Display
86 inch (218 mm) maximum diagnonal screen, weighing up to 220 lb. (100 kg)
SMART Technologies
smarttech.com/support
smarttech.com/contactsupport
smarttech.com/kb/171845
References
Contact Us
smarttech.com/docfeedback/171845
smarttech.com/kb/171405
smarttech.com/kb/171843
smarttech.com/kb/171845
smarttech.com/kb/171846
SMART Support - SMART Technologies
Patent Listing - SMART Technologies
Contact Us
smarttech.com/docfeedback/171845
smarttech.com/kb/171405
smarttech.com/kb/171843
smarttech.com/kb/171846
Patent Listing - SMART Technologies
SMART Support - SMART Technologies


















