
Mobile TV Cart/Stand – up to 100″
User Manual
SKU#: STNDMTV100
For the latest information and specifications visit www.startech.com/STNDMTV100 Manual Revision: 03/10/2022
Compliance Statements
Use of Trademarks, Registered Trademarks, and other Protected Names and Symbols
This manual may make reference to trademarks, registered trademarks, and other protected names and/or symbols of third-party companies not related in any way to StarTech.com. Where they occur these references are for illustrative purposes only and do not represent an endorsement of a product or service by StarTech.com, or an endorsement of the product(s) to which this manual applies by the third-party company in question. Regardless of any direct acknowledgement elsewhere in the body of this document, StarTech.com hereby acknowledges that all trademarks, registered trademarks, service marks, and other protected names and/or symbols contained in this manual and related documents are the property of their respective holders. PHILLIPS® is a registered trademark of Phillips Screw Company in the United States or other countries.
To view manuals, videos, drivers, downloads, technical drawings, and more visit www.startech.com/support
Safety Statements
Safety Measures
- Product installation and/or mounting should be completed by a certified professional as per the local safety and building code guidelines.
Warning Statements
- Assemble this product according to the instructions.
- Read the entire manual and ensure the instructions are fully understood before assembling and/or using this product.
- Do not exceed the weight capacity of this product. Overloading this product might result in injury or property damage.
- Weight capacity of the multimedia shelf: 5 kg (11 lb.)
- Weight capacity of the camera shelf: 5 kg (11 lb.)
- Weight capacity of the TV mount: 100 kg (220 lb.)
- Do not allow children to climb on this product, or use this product without proper supervision.
- This product is intended for indoor use only and should not be used outdoors.
- Do not over-tighten the screws. If any resistance is encountered, stop tightening.
- Assembling this product is a two-person task. Do not attempt to assemble this product and install equipment without assistance.
- Before adding equipment to this product, ensure the product has been properly assembled and installed, and that the product can support the weight of the added equipment.
- Make sure all of the equipment has been properly installed before adjusting this product.
- Do not move the cart over cords, cables, or uneven surfaces.
- Before moving the cart, unlock the casters.
Product Diagram
Front View

Back View

Product Dimensions
Front View

Product Information
Package Contents
![]() | ![]() | ![]() | |
| Base Qty: 1 | Casters Qty: 4 | Universal Plate Qty: 1 | Handles Qty: 2 |
| Left Column Qty: 1 | Right Column Qty: 1 | Left TV Mounting Bracket Qty: 1 | Right TV Mounting Bracket Qty: 1 |
![]() | ![]() | ![]() | |
| Top Covers Qty: 2 | Media Shelf Qty: 1 | Connecting Plate Qty: 1 | Camera Shelf Qty: 1 |
![]() | ![]() | ![]() | ![]() |
| Support Bar Qty: 1 | Knobs Qty: 2 | M6 x 25 mm Screws Qty: 4 | M4 x 6 mm Screws Qty: 3 |
![]() | ![]() | ![]() | ![]() |
| M4 x 6 mm Round Head Screws Qty: 2 | M6 x 25 mm Hex Head Screws Qty: 2 | M6 x 14 mm Screws Qty: 6 | M8 x 25 mm Hex Head Screws Qty: 8 |
![]() | ![]() | ![]() | ![]() |
| M6 x 25 mm Button Head Screws Qty: 2 | Hex Key Qty: 1 | Wrench Qty: 1 | M5 x 14 mm Round Head Screws Qty: 4 |
![]() | ![]() | ![]() | ![]() |
| M6 x 14 mm Round Head Screws Qty: 4 | M6 x 30 mm Round Head Screws Qty: 4 | M8 x 30 mm Round Head Screws Qty: 4 | M8 x 50 mm Round Head Screws Qty: 4 |
![]() | ![]() | ![]() | ![]() |
| Square Washers Qty: 4 | Small Spacers Qty: 8 | Large Spacers Qty: 8 | User Manual Qty: 1 |
Requirements
For the latest requirements, please visit www.startech.com/STNDMTV100
- TV x 1
- (Optional) Web Camera x 1
- (Optional) Media Device (e.g. DVD Player) x 1
- (Optional) Padlock
- Phillips Head Screwdriver x 1
Technical Specifications
| Type of Measurement | Measurement |
Screen Size![]() | 60” – 100” |
Weight Capacity![]() | TV — Up to 220 lb. (100 kg) Media Shelf — Up to 11 lb. (5 kg) Camera Shelf — Up to 11 lb. (5 kg) |
VESA Compatible
| 200×200 600×200 200×300 600×300 200×400 600×400 300×200 800×400 400×200 800×600 400×300 1000×600 400×400 900×600 |
Tilt Range
| +5° ~ -10° |
Height Adjustment
| 47.2 – 65” (1220-1650 mm) |
Cable Management
| Yes |
Installation
Attach the Casters

- Flip the Base upside down and place it onto a clean and flat surface. (Figure 1)
Note: Cover hard floors with a soft cloth to prevent scratching. - Insert each of the four Casters into the holes, located in the bottom of the Base and tighten, using the Wrench.
- Flip the Base upright so that the Casters are making contact with the surface.
- (For uneven surfaces) Flip the Base upside down and use the Wrench to adjust the Nut located on each Caster.
Attach the Columns to the Base

- Determine the desired mounting height for the TV.
- Hold the inner and outer Left Column in one hand and loosen the two Hex Screws on the side of the Left Column, using the Hex Key. (Figure 2)
Notes: Two People may be required to complete this step. Do not release the grip on the inner and outer portions of the Left Column while the Hex Screws are loose. - Extend the Left Column to the desired mounting height. Use the built-in Height Indictor, located on the inner portion of the Left Column.
- Tighten the two Hex Screws, using the Hex Key.
- Repeat steps 2-4 for the Right Column. Ensure both Columns are the same height by referencing the Height Indicators on the inner portion of each Column.

- Engage the Brake on each one of the four Casters before proceeding to step 7. (Figure 3)
- Slide the Left and Right Columns into their respective locations in the Base.
Note: The Cable Management Holes in the Columns must be facing the front of the assembly. - Slide one Plastic Handle over the Left Column. Ensure the grip loop portion of the Plastic Handle is facing the back of the Base.
Note: The Left Column has not yet been attached to the Base with a Screw. Exercise caution when sliding the Plastic Handles over the Columns. - Repeat step 8 for the Right Column.

- Tilt the entire Assembly onto its side to gain access to the bottom of the Base. (Figure 4)
Note: It is recommended that Two People complete this step and any subsequent steps that involve tilting or moving the Mobile TV Cart. - Insert four M8 x 25 mm Hex Head Screws through the Base and into the Left Column.
- Tighten all four M8 x 25 mm Hex Head Screws, using the Hex Key.
- Repeat steps 11-12 for the Right Column.
- Tilt the entire Assembly back to an upright position.
- Insert one M6 x 25 mm Screw into the back of the Left Column. (Figure 5)
Warning! Do not skip this step. The M6 x 25 mm Screws serve as important safety stops. - Tighten the M6 x 25 mm Screw, using a Phillips Head Screwdriver.
- Repeat steps 15-16 for the Right Column.

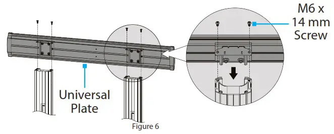
Attach the Universal Plate

- Place the Universal Plate atop the Left and Right Columns and align the four screw holes in the Universal Plate with the two screw holes in each Column. (Figure 6)
- Insert four M6 x 14 mm Screws through the Universal Plate and into the Columns (two for each Column).
- Tighten all four M6 x 14 mm Screws, using a Phillips Head Screwdriver.

- Affix one Top Cover over each Column. (Figure 7)
Assemble the Media Shelf

- Flip the Media Shelf upside down and place on a clean and flat surface.
- Place the Support Bar up against the Media Shelf, aligning the holes in the Support Bar with the holes found in the Media Shelf. (Figure 8)
- Hold one of the Knobs up against the outermost hole in the Support Bar and insert one of the M6 x 25 mm Button Head Screws through the square shaped hole in the Media Tray, the Support Bar, and into the Knob.
- Tighten the Knob.
- Repeat steps 3-4 to attach the second Knob.
- Insert two M6 x 14 mm Screws through the innermost circular shaped holes in the Media Tray and into the Support Bar.
- Tighten the M6 x 14 mm Screws, using a Phillips Head Screwdriver.
Attach the Media Shelf to the Columns

- Hold the Media Shelf Assembly up against/behind the Support Blocks, located on the insides of the Columns. Align the holes in the Support Bar with the holes in the Support Blocks. (Figure 9)
- Insert one M6 x 25 mm Hex Head Screw through the hole in the Support Block on the Left Column and into the Support Bar.
- Tighten the M6 x 25 mm Hex Head Screw, using the Hex Key.
- Repeat steps 2-3 for the Right Column.
- Determine the desired mounting height for the Media Shelf Assembly.
- Hold the Media Shelf Assembly and loosen the two Hex Screws that secure the Support Block to the Left Column, using the Hex Key.
Note: Continue to support the weight of the Media Shelf Assembly until all of the Support Block Hex Screws have been tightened. - Repeat step 6 for the Support Block in the Right Column.
- Slide the Media Shelf Assembly up or down to the desired height.
- Tighten all four Support Block Hex Screws, using the Hex Key.
To view manuals, videos, drivers, downloads, technical drawings, and more visit www.startech.com/support
Attach the TV Mounting Brackets

- Place the TV on a padded surface, screen side down, so the back of the TV is accessible. (Figure 10)
- (Optional) Identify and remove the pre-installed VESA Hardware from the back of the TV.
Note: Not all TVs will have placeholder VESA Hardware. Only remove the four Screws for the VESA Mount. Do not remove any of the screws from the TV’s structural assembly. - Place a Rectangular Washer and the necessary number of Small and/or Large Spacers over each VESA Mounting Hole.
- Place the TV Mounting Brackets, parallel to one another, on the back of the TV over the VESA Mounting Holes. The arrows on the TV Mounting Brackets should be pointing towards the bottom of the TV.
- Thread the appropriately sized M-Type Screws (e.g. M5 x 14 mm Screws) through the Rectangular Washers, TV Mounting Brackets, (Optional) Spacers, and into the TV. Note: Each Rectangular Washer features two holes. Select the hole that fits the M-Type Screws.
- Tighten the M-Type Screws, using a Phillips Head Screwdriver, until each Screw sits flush with the surface of the TV Mounting Brackets.
Warning! Do not overtighten the M-Type Screws. If any unexpected resistance is encountered while fastening these Screws, immediately stop and attempt to use a different length of M-Type Screw.
Hang the TV onto the Universal Plate

- Loosen the 2 Screws, located at the bottom of the TV Mounting Brackets, using a Phillips Head Screwdriver. (Figure 11)
- With two people, lift and hang the TV onto the Universal Plate.
Tip: Align the top hooks of the TV Mounting Brackets with the top rails of the Universal Plate. - Tighten the 2 Screws in the bottom of the TV Mounting Brackets using the Phillips Head Screwdriver.
- (Optional – locking) Insert a Padlock through the holes located at the bottom of either TV Mounting Bracket.
Assemble the Camera Shelf

- Hold the Camera Shelf up against the top of the Connecting Plate, aligning the three holes in the top of the Camera Shelf with the three holes in the Connecting Plate. (Figure 12)
- Insert three M4 x 6 mm Screws through the three holes in the top of the Camera Shelf and into the top of the Connecting Plate.
- Tighten all three M4 x 6 mm Screws, using a Phillips Head Screwdriver.
- Insert two M4 x 6 mm Round Head Screws through the back of the Camera Shelf and into the back of the Connecting Plate.
- Tighten the two M4 x 6 mm Round Head Screws, using a Phillips Head Screwdriver.
Attach the Camera Shelf Assembly
Determine the desired mounting height of the Camera Shelf above the TV.- Hold the Camera Shelf Assembly up against the back of the Universal Plate at the desired mounting height, aligning the slots in the Connecting Plate with the two holes in the back of the Universal Plate. (Figure 13)
- Insert two M6 x 25 mm Screws through the Connecting Plate and into the Universal Plate.
- Tighten the two M6 x 25 mm Screws, using a Phillips Head Screwdriver.
Cable Management

- Route the Cables from the back of the TV into the Grommets located at the top-front of the Columns. (Figure 14) Note: All Grommets are removable.
- Route the Cables through the Columns.
- Route the Cables out of the Grommets located at the bottom-front of the Columns and into their respective Power Source and/or Video Source.
Operation
Adjust the Tilt Angle of the TV Mounting Brackets
- Loosen the two Nuts on the outward facing side of one TV Mounting Bracket, using the Wrench. Note: Do not completely loosen the Nuts.
- Repeat step 1 for the second TV Mounting Bracket. 3. Tilt the TV to the desired angle.
Note: Two People are required for all tilt adjustments. 4. Tighten the four Nuts that were loosened in steps 2-3, using the Wrench.
Move the Mobile TV Stand Assembly
Warning! Never attempt to move the Mobile TV Stand Assembly with one person. A minimum of two people are required to move the Mobile TV Stand Assembly.
- Disconnect and remove the Web Camera and Media Device from the Mobile TV Stand Assembly.
- Unplug all the Cables plugged into the TV (i.e. Power and Video Cables).
- Disengage the Brakes on the Casters.
- Grip the Plastic Handles and slowly move the Mobile TV Stand Assembly, using two people. Ensure caution is exercised around corners or when navigating over bumps and/or uneven ground.
- Lock the Brakes on the Casters.
Warranty Information
This product is backed by a five-year warranty. For further information on product warranty terms and conditions, please refer to www.startech.com/warranty.
Limitation of Liability
In no event shall the liability of StarTech.com Ltd. and StarTech.com USA LLP (or their officers, directors, employees or agents) for any damages (whether direct or indirect, special, punitive, incidental, consequential, or otherwise), loss of profits, loss of business, or any pecuniary loss, arising out of or related to the use of the product exceed the actual price paid for the product. Some states do not allow the exclusion or limitation of incidental or consequential damages. If such laws apply, the limitations or exclusions contained in this statement may not apply to you.
Hard-to-find made easy. At StarTech.com, that isn’t a slogan. It’s a promise.
StarTech.com is your one-stop source for every connectivity part you need. From the latest technology to legacy products — and all the parts that bridge the old and new — we can help you find the parts that connect your solutions. We make it easy to locate the parts, and we quickly deliver them wherever they need to go. Just talk to one of our tech advisors or visit our website. You’ll be connected to the products you need in no time.
Visit www.startech.com for complete information on all StarTech.com products and to access exclusive resources and time-saving tools. StarTech.com is an ISO 9001 Registered manufacturer of connectivity and technology parts.
StarTech.com was founded in 1985 and has operations in the United States, Canada, the United Kingdom and Taiwan servicing a worldwide market.
Reviews
Share your experiences using StarTech.com products, including product applications and setup, what you love about the products, and areas for improvement.
| StarTech.com Ltd. 45 Artisans Crescent London, Ontario N5V 5E9 Canada | StarTech.com LLP 4490 South Hamilton Road Groveport, Ohio, 43125 U.S.A. | StarTech.com Ltd. Unit B, Pinnacle 15 Gowerton Road Brackmills, Northampton NN4 7BW United Kingdom | StarTech.com Ltd. Siriusdreef 17-27 2132 WT Hoofddorp The Netherlands |
To view manuals, videos, drivers, downloads, technical drawings, and more visit www.startech.com/support
References
Unsere Produkte dienen IT- und A/V-Profis zum Verbinden, Konvertieren, Erweitern, Splitten und Switchen | Deutschland
StarTech.com conçoit et fabrique une vaste sélection de pièces d’ordinateur, de câbles, de commutateur KVM, de racks... | France
Pezzi per computer, cavi, switch KVM, server rack e soluzioni per reti | Italia
当社は、接続、変換、拡張、分離、切換えを行うIT & A / Vプロフェッショナルのためのパーツを製造しています | 日本
StarTech.com ontwerpt en produceert een enorme selectie computeronderdelen, kabels, KVM-switches, serverracks en... | Nederland
StarTech.com | IT Pro's Trusted Source for Connectivity Accessories
StarTech.com | IT Pro's Trusted Source for Connectivity Accessories
Mobile TV Stand Cart - 60-100in Display - TV Mounts
StarTech.com Support
StarTech.com Warranty Policy



































Determine the desired mounting height of the Camera Shelf above the TV.















