PrimeCables Cab-QFC02-02 Universal Mobile TV Cart with Wheels

Parts


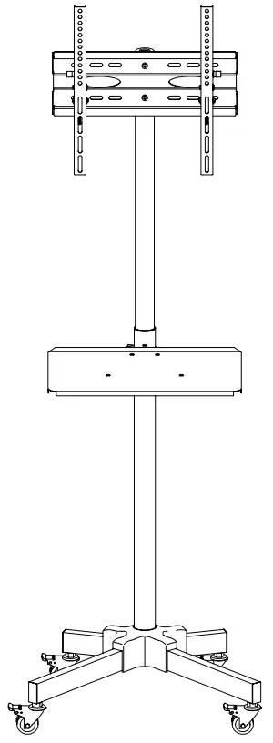
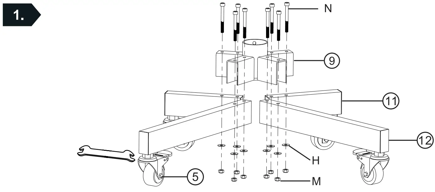
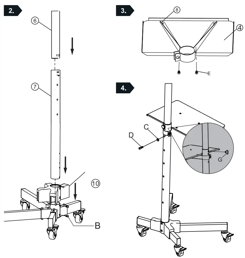
Assembly Instructions





PrimeCables Cab-QFC02-02 Universal Mobile TV Cart with Wheels








Download manual
Here you can download full pdf version of manual, it may contain additional safety instructions, warranty information, FCC rules, etc.