AiSENS FT100TE-125 TV Mobile Cart

What’s In The Box

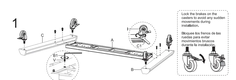
Installation Method

Note:
- Use the crank handle to adjust the screw hole if either end of the sync rod (T) fails to insert. Also make sure the left and right columns at the same height.
- Tighten the four screws on the sync rod after inserting it.

CAUTION: After assembling the plate (F) to the columns as shown, tighten the screws(Z).
Note: Adjust the height with crank handle then tighten the screw.
Install the lower shelf first, then the upper one and tighten the screws
Note: Rotate the bottom screws counterclockwise to lock. Rotate the bottom screws clockwise to unlock.
Note: Use the padlock to prevent display from being stolen. (Padlock is not included.)
Height markings represent the distance from the floor to the center of the TV screen.
Note: Loosen the screw as shown, adjust the column to the desired heiaht usina handle and then tiahten the screw.
Note: Loosen the screws on both support blocks to adjust the DVD shelf to the desired height then tighten all screws to secure.
Warnings
Read the entire instruction manual before you stat installation and assembly. If you have any questions regarding any of the instructions or warnings, please contact your
local distributor for assistance.
CAUTION:
- Use with products heavier than the rated weights indicated may result in instability causing possible injury.
- Please closely follow the assembly instructions. Improper installation may result in damage or serious personal injury.
- Safety gear and proper tools must be used. This product should only be installed by professionals.
- Make sure that the supporting surface will safely support the combined weight of the equipment and all attached hardware and components.
- Use the mounting screws provided and DO NOT OVER TIGHTEN mounting screws.
- This product contains small items that could be a choking hazard if swallowed. Keep these items away from children.
- This product is intended for indoor use only. Using this product outdoors could lead to product failure and personal injury.
IMPORTANT: Ensure that you have received all parts according to the component checklist prior to installation. If any parts are missing or faulty, contact your place of
purchase for a replacement.
MAINTENANCE: Check that the product is secure and safe to use at regular intervals (at least every three months)
Maintenance
- Check if the bracket is secure and safe to use at regular intervals(at least every three months).
- Please contact your distributor if you have any questions.




















