kanto TTS100 Tabletop TV Stand

Kanto TTS100 Product Information
The Kanto TTS100 is a TV mount that supports TVs with VESA-compliant mounting holes ranging from 100 x 100 to 600 x 400 and a weight of up to 88 lb (40 kg). It comes with a socket set, Phillips screwdriver, drill, and stud detector for installation purposes. The package also includes various mounting screws and spacers in different sizes to accommodate different TV models and configurations. The mount also features a stand base for added stability and adjustability in viewing position.
Product Usage Instructions
- Before assembling the mount, make sure your TV is VESA-compliant and within the weight limit.
- Use the provided stud detector to locate wood studs in the wall for mounting.
- Choose the appropriate screws and spacers for your TV model and configuration according to the user manual instructions.
- Assemble the stand base according to the instructions and secure it in place using the appropriate screws and spacers.
- Mount the TV onto the bracket using the appropriate screws and spacers, making sure it is level and secure.
- Adjust the height of the mount according to your viewing position and personal preference.
- Fine-tune the position of the TV and tighten all screws accordingly.
- To ensure proper usage, refer to the user manual for maintenance and safety guidelines.
- If you encounter any issues or defects within the 5-year warranty period, contact Kanto customer support for assistance.
TABLETOP TV STAND

Thank you for choosing Kanto
Read these instructions fully before assembly and installation. If you do not understand these directions, or have any doubts about the safety of the installation, please consult a qualified installation contractor. Make sure there are no defective or missing parts. Do not use defective parts. Kanto cannot be liable for property damage or injury caused by incorrect mounting, incorrect assembly, lifting or incorrect use of this product. If there is hardware missing, or if you are uncertain whether a part is defective, please contact Kanto directly using one of the methods below.
CAUTION
The maximum loading weight is 88 lb (40 kg). This mount is intended for use only with the maximum weights indicated. Use with products heavier than the maximum weights indicated may result in instability causing possible injury. The surface you plan to affix the Kanto mount to must be able to support more than 5 times the weight of the television and the mount combined. Do not use this product for any purpose other than to mount a VESA compliant TV as outlined in this manual. Improper installation may cause damage to your TV or serious injury. This product should not be mounted on steel stud or cinder block surfaces. Do not install this product if you are unsure what kind of surface you may have or the load it can support. You are advised to consult a qualified installation contractor before installing this product.
- 1-888-848-2643
- [email protected]
- See installation video online at: www.kantomounts.com/resources
Supplied Parts and Hardware

Required Tools 
Wood stud wall 
Project Overview
- Select TV Screws and Spacers
- Select Spacers for Irregular TVs
- Attach TV Brackets
- Assemble Stand Base
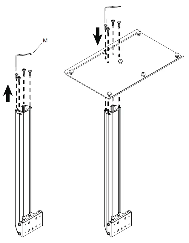
- Attach TV Plate
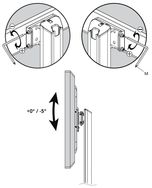
- Adjust TV Height
- Hang TV
- Secure TV
- Manage Cables
- Attach Safety Tether
- Finalize Adjustments
IMPORTANT!: Please read this entire document before attempting assembly.
If you have any problems or difficulties while following these instructions, please contact Kanto directly:
- Email: [email protected]
- Toll Free: US & Canada: 1-888-848-2643
Select TV Screws and Spacers
A-G Select Screws
The back of your TV has 4 screw holes in a square or rectangular pattern. This is where the mount will attach to your TV. Kanto provides several sizes and lengths of screws. This guide will help you select the right screws for your TV. You will only use 4 of the provided screws to attach your TV the rest are not needed.
H-J Select Spacers
Plastic spacers are also provided in 3 thicknesses to allow the mount to work with curved TVs, and TVs that have recessed mount holes, protrusions, or inputs in the way. They can also be used to prevent the TV screws from going too deep and damaging your TV. You may not need spacers for your TV.
Select Spacers for Irregular TVs

Spacers can be used to provide clearance around protrusions on the back of your TV, or to accommodate a curved TV. You may need to use longer screws.
Attach TV Brackets

Assemble Stand Base

Attach TV Plate

Adjust TV Height

Hang TV

Secure TV

Manage Cables

Attach Safety Tether

CAUTION
- Make sure the supporting surface will support the load limits outlined in the caution on page two. Tighten Lag Bolt (N) until the Tether is snug flat against the wall. Do not overtighten Lag Bolt (N). The Lag Bolt must be located in the center of a wood stud.
Finalize Adjustments

Limited Warranty to Original Purchaser
Kanto Living Inc. (Kanto) warrants the equipment it manufactures to be free from defects in material for a limited warranty period of 5 years. If equipment fails because of such defects and Kanto is notified within 5 years from the date of shipment with proof of original invoice from an authorized reseller, Kanto will, at its option, provide replacement parts or replace the equipment, provided that the equipment has not been subjected to mechanical, electrical, or other abuse or modifications. Any replacement parts or replacement units are warranted for 90 days from the day of reshipment to the original purchaser. Customers will be responsible for obtaining a Return Authorization Number and paying shipping costs to return the product to a Kanto location or authorized depot. If the equipment is covered under the warranty provisions above, Kanto will replace parts or provide a replacement unit, and be responsible for shipping costs to the customer. Please keep the original packaging to prevent damage to the product during shipping. Insuring your shipment is also recommended. The information in the manual has been carefully checked and is believed to be accurate. However, Kanto assumes no responsibility for any inaccuracies that may be contained in the manual. In no event will Kanto be liable for direct, indirect, special, incidental, or consequential damages resulting from any defect in the equipment, even if advised of the possibility of such damages? This warranty is in lieu of all other warranties expressed or implied, including without limitation, any implied warranty, including any warranty of merchantability and fitness for any particular purpose, all of which are expressly disclaimed.
- www.kantomounts.com
- [email protected]
- Toll Free: 1-888-848-2643
















