VIVO STAND-TV07 Black TV Stand Instruction Manual
WARNING
If you do not understand these directions, or if you have any doubts about the safety of the installation, please call a qualified technician. Check carefully to make sure there are no missing or defective parts. Improper installation may cause damage or serious injury. Do not use this product for any purpose that is not explicitly specified in this manual. Do not exceed weight capacity. We cannot be liable for damage or injury caused by improper mounting, incorrect assembly or inappropriate use.
TIPOVER WARNING
SERIOUS OR FATAL CRUSHING INJURIES CAN OCCUR FROM TIPOVER. TO HELP PREVENT TIPOVER:
- NEVER ALLOW CHILDREN TO CLIMB, STAND, HANG, OR PLAY ON ANY PART OF TV OR TV CART.
- USE TIPOVER RESTRAINT OR ANCHOR STAND TO WALL
USE OF TIPOVER RESTRAINTS MAY ONLY REDUCE, BUT NOT ELIMINATE RISK OF TIPOVER.
PACKAGE CONTENTS
- A (x1) Base

- B (x2) Feet

- C (x1) Center Pol

- D (x1) VESA Plate

- E (x2) VESA Adapter

- F (x2) VESA Adapter

- G (x1) Plastic Cover

- H (x8) M5x10mm Bolt

- I (x8) M5 Lock Nut

- J (x5) M6x60mm Carriage Bolt

- K (x5) D6 Washer

- L (x5) M6 Lock Nut

- M (x1) M6 Flange Nut

- N (x4) M6x12mm Bolt

- O (x1) 4mm Allen Wrench

- P (x1) Wrench

- M-A (x4) M4x14

- M-B (x4) M5x14

- M-C (x4) M6x14

- M-C (x4) M6x14

- M-E (x4) D5 Washer

- M-F (x4) D8 Washer

- M-G (x8) Spacer

NOTE: SOME HARDWARE INCLUDED MAY NOT BE USED
WARNING: CHOKING HAZARD SMALL PARTS – NOT FOR CHILDREN UNDER 3 YEARS. ADULT SUPERVISION IS REQUIRED.
DO NOT EXCEED WEIGHT CAPACITY. Failure to do so may result in serious injury
ASSEMBLY STEPS
STEP 1
Attach base (A) to feet (B) using x4 M6x60mm carriage bolts (J), x4 D6 washers (K), and x4 M6 lock nuts (L). Tighten using provided wrench (P).


STEP 2
Remove the two bolts, four washers, and two nuts from the center pole (C) using the Allen wrench (O) and the wrench (P).

Separate the two halves.
STEP 3
Slide the plastic cover (G) over the pole (C).
Slide the top half of the pole back into the bottom half and secure using the hardware you removed in step 2.
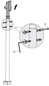
STEP 4
Attach the center pole (C) to the base (A) using x1 carriage bolt (J), D6 washer (K), and M6 lock nut (L) through the front of the base. Use the x4 M6x12mm bolts (N) to secure the top. Tighten using Allen wrench (O) and wrench (P)

STEP 5
OPTION A: VESA Plate Only Use (M-A or M-B) bolts along with (M-E) washers to attach the VESA plate (D) without the adapters to the TV monitor.


OPTION B: VESA Plate with Adapters For TVs with VESA mounts at 200mm x 200mm or 200mm x 100mm, VESA adapters (E,F) are required. Attach adapters to VESA plate (D) using x8 M5x10mm bolts (H) and x8 M5 lock nuts (I). Tighten using wrench (P) and a Phillips screwdriver.
OPTION B: VESA Plate with Adapters (Continued) Use bolts (M-A-M-D) along with washers (M-E, M-F) to secure VESA plate with the adapters to the back of your television. Make sure the “VIVO” logo is right side up. For a curved television, spacer (M-G) may be required.


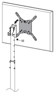
STEP 6
To attach the TV to the stand, loosen the nut at the top of the VESA plate and slide into the slot on top of mounting plate on the pole. Secure the top and bottom of the VESA plate to the stand by tightening both nuts using wrench (P).


Adjust as Desired
Love your new VIVO setup and want to share? Tag us in your photo! @vivo_us
Open Monday – Friday 7:00am – 7:00pm CST, our dedicated support team can offer immediate assistance with rapid response times. If any parts are received damaged or defective, please contact us. We are happy to replace parts to ensure you have a fully functioning product.
Phone: 309-278-5303
AVG. RESOLUTION TIME (within office hrs): 5M 4S
website: www.vivo-us.com
AVG. RESOLUTION TIME (within office hrs.): < 15 M Chat live with an agent!
[email protected]
AVG. RESPONSE TIME (within office hrs.): 1HR 8M
- 23% within < 15m
- 38% within < 30m
- 61% within < 1hr
- 83% within < 2hr
- 92% within < 3hr
Scan the QR code with your mobile device or follow the link for helpful videos and specifications related to this product. Instruction Manual https://vivo-us.com/products/stand-tv07







































