JASIWAY vB2130D 78.7 Inch Beige TV Stand

PARTS LIST
HARDWARE LIST
Assemble the bottom panel, back panel
- Use four pcs(A)cam locks, four pcs(B)rods to connect the back panel and
- bottom panel.
Noted: After installation,⑫back panel needs to cover(F)wire cover.
- Assemble ④left middle panel,⑱middle panel,⑲right middle panel:
- Use six pcs(A)cam locks, six pcs(B)rods,four pcs(E)8*30 wood dowels to connect the ④left middle panel、⑱middle panel、⑲right middle panel.

Noted: Use eight pcs(N)3.5*16 self-tapping screws to install (L)guide rails on the ④left middle panel and ⑲right middle panel.
- Use six pcs(A)cam locks, six pcs(B)rods,four pcs(E)8*30 wood dowels to connect the ④left middle panel、⑱middle panel、⑲right middle panel.
- Assemble ③left outer side panel,⑭right outer side panel, ⑩left cabinet foot,⑰right cabinet foot:
- Use four pcs(H)6*30 big flat screws to fix two pcs ⑩left cabinet feet on the ③left outer side panel.
- Use four pcs(H)6*30 big flat screws to fix two pcs ⑰right cabinet feet on the ⑭right outer side panel.
Noted: When installing the outer feet, you must distinguish the
direction. - Use four pcs(I)3.5*14self-tapping screws to install two pcs(L) guide rails on the inside of the ③⑭outer side panel respectively.

Assemble the outer side panel
- Use four pcs(A)cam locks,four pcs(B)rods,four pcs(E)8*30wood dowels to connect

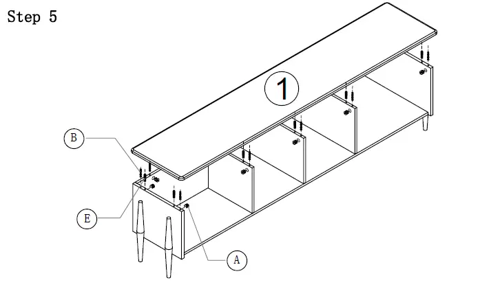
- Assemble the ①top panel :
- Use 14 pcs(A)cam locks,14 pcs(B)rods, and 10 pcs(E)8*30wood dowels to fix the ①top panel.

- Use 14 pcs(A)cam locks,14 pcs(B)rods, and 10 pcs(E)8*30wood dowels to fix the ①top panel.
Assemble cabinet feet
- Use two pcs(M)8*30 screws to fix ⑪ middle feet on ②bottom panel.
- install (O)adjustable foot peg on each cabinet foot.
Assemble drawers
- Use four pcs(A)cam locks,four pcs(B)rods to fix ⑦drawer left side panel⑧drawer tail panel,⑯drawer right side panel.
- Place ⑨drawer bottom panel along the slot of ⑦drawer left side panel,⑧drawer tail panel,⑯drawer right side panel, then use four pcs(A)cam locks, four pcs(B)rods to tighten up ⑥drawer panel.
- Use four pcs(N)3.5*16 self-tapping screws to install two pcs(L)guide rails on the outside of⑦drawer left-side panel and ⑯drawer right-side panel respectively.
- Use two pcs(G)4*20 handle screws to install(D)double hole handle on ⑥drawer panel.

Glass panel installation
- Install eight pcs(K)laminate glass holders on the ④left middle panel ,⑱middle panel, and ⑲right middle panel.
- Put in ⑬glass panel, then tighten up the screws of(K)laminate glass holder.

Left or right cabinet door installation
- Use 16 pcs(I)3.5*14self-tapping screws and four pcs(J)middle curved door hinges to install ⑤middle left cabinet door, ⑮ middle right cabinet door on
④left middle panel, and ⑲right middle panel.(one cabinet door use 8 pcs(I)and2pcs(J)to install). - Then use two pcs(G)4*20 handle screws to install(C)single hole handle on ⑤ middle left cabinet door and ⑮middle right cabinet door.


























