WHIF1157 White and Brown Wood TV Stand
Instruction Manual
Please save this manual for future reference.
WHITE AND BROWN WOOD TV STAND
Thank you for purchasing this Luxen Home product. This product has been manufactured with the highest standards of safety and quality. PLEASE READ ALL INSTRUCTIONS BEFORE ASSEMBLY. Unpack all parts from Styrofoam and bubble wrap inside the carton to ensure there are no missing or damaged parts. If any parts are missing or damaged, do not attempt to assemble or use the product.
Hardware:


Tools required for assembly: Philips screwdriver and Flathead Screwdriver (if using power tools, use with care)
Instruction Manual
Please save this manual for future reference.
WHITE AND BROWN WOOD TV STAND
Panels:

Instruction Manual
Please save this manual for future reference.
WHITE AND BROWN WOOD TV STAND
Step 1 Make sure the pins are installed correctly as shown with the “check mark” below:



Instruction Manual
Please save this manual for future reference.
WHITE AND BROWN WOOD TV STAND
Step 2

Instruction Manual
Please save this manual for future reference.
WHITE AND BROWN WOOD TV STAND
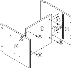
Step 3
Below shows how the pins are used to assemble the panels together.


Instruction Manual
Please save this manual for future reference.
WHITE AND BROWN WOOD TV STAND
Step 4

Instruction Manual
Please save this manual for future reference.
WHITE AND BROWN WOOD TV STAND
Step 5

Instruction Manual
Please save this manual for future reference.
WHITE AND BROWN WOOD TV STAND
Step 6

Instruction Manual
Please save this manual for future reference.
WHITE AND BROWN WOOD TV STAND
Step 7

Instruction Manual
Please save this manual for future reference.
WHITE AND BROWN WOOD TV STAND
Step 8

Instruction Manual
Please save this manual for future reference.
WHITE AND BROWN WOOD TV STAND
Step 9

Step 10

Instruction Manual
Please save this manual for future reference.
WHITE AND BROWN WOOD TV STAND
Step 11

Instruction Manual
Please save this manual for future reference.
WHITE AND BROWN WOOD TV STAND
Step 12



















