ASHLEY W71968 Flynnter 75 Inch TV Stand

IMPORTANT SAFEIY NOTICE
READ CAREFULLY BEFORE BEGINNING ASSEMBLY!
- Always use proper tools. * Follow the assembly steps in order.
- Be sure to check all packing materials carefully for small parts may have come lose inside the carton during shipment. If parts are missing, contact the retailer from which you purchased the product to obtain any missing parts. DO NOT USE SUBSTITUTE PARTS.
- Periodically check to ensure that all connectors (bolts, screws, etc.) are tight.
- Keep the instructions for future reference. *Some assembly may involve attaching glass or mirrors. glass or mirrors, as severe injury may result if the glass or mirror breaks. arge pieces of glass or mirrors by yourselt.
- When assembling products that have electric cords (lamps, lights, etc.), always (1) make Sure the electrical cord is unplugged before assembly and (2) be Careful not to twist the electrical cord during assembly.
- When assembling shelves or entertainment centers, do not stand on lower shelves in order to assemble upper shelves-use a steP ladder.
- Do not stand on tables, including but not limited to, end tables, coffee tables, and dinner tables, as tables are not to support the weight of a person.
- Where assembly instructions state that the assembly requires two or more people, do not attempt by yourself as there is a risk of injury.
NOTE: ASHLEY FURNITURE INDUSTRIES, LLC DISCLAIMS ANY LIABILITY FOR DAMAGES OR INJURIES WHICH MAY OCCUR DUE TO FAILURE TO PROPERLY FOLLOW ASSEMBLY INSTRUCTIONS, PROPERLY ASSEMBLE THE PRODUCT, OR PROPERLY USE THE PRODUCT.
NOTE: YOUR UNIT MAY LOOK DIFFERENT IN APPEARANCE FROM THE ONE SHOWN IN THE ILLUSTRATIONS ON THIS INSTRUCTION SHEET.
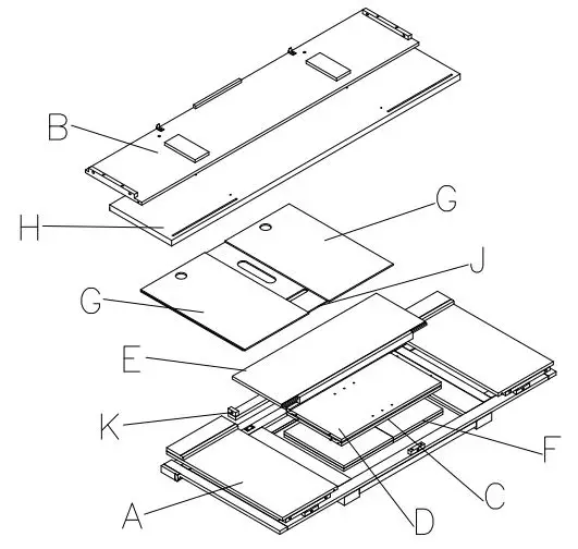
PARTS

NOTE: UNIT SHOULD BE ASSEMBLED BY TWO OR MORE PEOPLE.
DO NOT TIGHTEN ANY BOLTS UNTIL ALL BOLTS HAVE BEEN STARTED!
HARDWEAR

NOTE: HARDWARE ARE STORED BACKSIDE OF FRONT FRAME
NOTE: ASSEMBLY INSTRUCIION FOR MULTIPLE UNIS, THE PARIS/LABEL INDEX ARE SEPARATED FOR DIFFERENT UNIIS
THE PARTS ARE LOCATED INSIDE THE BOX AS BELOW

ASSEMBY






NOTE: IF THE UNIT IS PLACED ON AN UNLEVEL SURFACE, PLACE A LEVELER UNDERNEATH ONE FOOT UNTIL THE UNIT IS LEVEL.
BREAK OFF ANY PROTRUDING SEGMENTS.

WARNING!
The use of the included tipping restraint November reduce, but not eliminate, the risk of furniture tip over. Follow the instructions on the plastiC bag for proper installation.
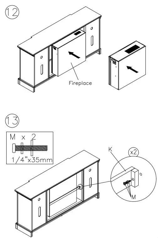
Optional
NOTE: When using the fireplace insert, please DO NOT use the optional back panel.



WARNING: The gap between the fireplace’s top with any obstacles above it must be a minimum of 1inch. Failure to provide a minimum off a 1 inch gap as instructed could result in a fire, bodily injury, death or property damage.
To assure your cooler works at the maximum efficiency it was designed for, you should install it in a location where there is proper air circulation and electrical connections.
The following are recommended clearances around the cooler:
- Sides..2″(50mm)
- Top. .2″(50mm)
- Back..4″(100mm)

NOTE: IF THE UNIT IS PLACED ON AN UNLEVEL SURFACE, PLACE A LEVELER UNDERNEATH ONE FOOT UNTIL THE UNIT IS LEVEL. BREAK OFF ANY PROTRUDING SEGMENTS.

WARNING
The use of the included tipping restraint November reduce, but not eliminate, the risk of furniture tip over. FolloW the instructions on the plastiC bag for proper installation.



















