ASHLEY 10504588 TV Stand Instruction Manual

WE CARE ABOUT YOUR SAFETY PLEASE READ
IMPORTANT SAFETY NOTICE
READ CAREFULLY BEFORE BEGINNING ASSEMBLY
- This unit contains small parts that present a choking hazard for children under 3 years of age. These parts are for adult assembly only and should be permanently affixed to the furniture. Any unused parts should be discarded properly.
- To make the assembly process easier, ask a friend to help you. ***2 people required***
- Always use proper tools.
- Carefully review the parts and hardware list.
- It is recommended that you assemble the unit on a protected surface or carpeted floor to avoid scratches.
- Follow assembly step in order. DO NOT SKIP ANY STEPS.
- Periodically check to ensure that all connectors (bolts,screws, etc.) are tight.
- Keep the instructions for future reference.
Ashley Furniture Industries, LLC disclaims any liability for damages or injuries which may occur due to failure to properly follow assembly instructions, properly assemble the product, or properly use the product.
WE WANT YOUR FURNITURE TO LAST PLEASE READ
CARE AND CLEANING INSTRUCTIONS
Congratulations on the purchase of your new product. Proper care and cleaning will extend the life of your purchase. To ensure your product maintains its finish and quality:
- Use a soft, clean cloth that will not scratch the surface when dusting
- Clean only with a slightly damp cloth
- Do not use chemical based products or solvents
- Liquid spills should be removed immediately
- Direct sunlight may fade or alter color of wood finishes
WE’RE HERE IF YOU NEED IT CONTACT US
CUSTOMER SERVICE
To order replacement parts, or if you have any difficulty assembling this unit refer to the front page of this manual for model and serial # information along with finding the needed part number(s) from the parts list. Then call our customer service line. Please do not return and parts to the store.
![]()
![]()
![]()
1-844-966-0809
HEADS UP

BUST OUT

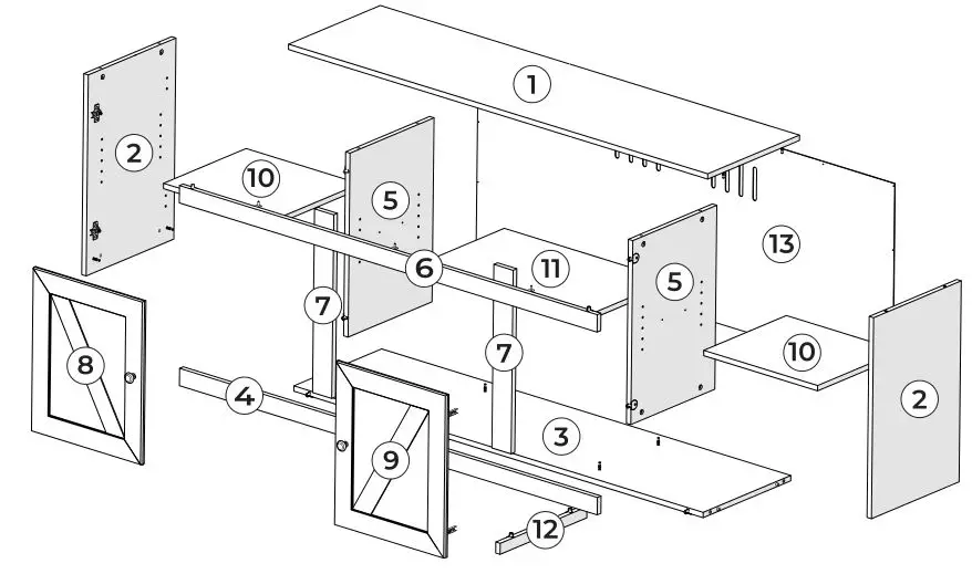
COMPONENTS

- TOP (1)
- SIDE (2)
- BOTTOM (1)
- BASESTRIP (1)
- DIVIDER (2)
- TOP RAIL (1)
- VERTICAL RAIL (2)
- LEFT DOOR (1)
- RIGHT DOOR (1)
- ADJUST SHELF (2)
- CENTER ADJUST SHELF (1)
- BOTTOM DIVIDER (1)
- UNIT BACK (1)
HARDWARE







Hinge Adjustments
If door appears crooked:

Adjust screw as shown on top or bottom hinge until door is parallel with door frame.
If door has an uneven gap:

Adjust screw as shown on top and bottom hinge to slide hinge up or down until the door gap on the top & bottom is even
If door is rubbing on the side:

Adjust screw as shown on top and bottom hinge to slide hinge forward or backward to increase or decrease the gap on the side.
FIREPLACE OPTION

HARDWARE



Warranty Information
LIMITED WARRANTIES
The following Limited Warranties are given only to the original retail purchaser, subject to all the terms and conditions below. These Limited Warranties are non-transferable:
Ashley Furniture Industries, LLC (the “Warrantor”), subject to all the limitations and exclusions described in these Limited Warranties, warrants the following products and parts against material manufacturing defects for the duration set forth next to that product or part in the table below.

*As used in these Limited Warranties, “lifetime” means the normal useful life of the product under reasonable use.
**All seat cushion cores in both Unattached Cushioning and Attached Cushioning will soften with normal use and will conform to the shape of the user. This shall be considered normal wear, and shall not be considered a loss of resiliency or a material manufacturing defect.
***The Leather and Upholstery Fabric Limited Warranty also includes seam slippage, cracking, and dye transfers. Leather is a natural product, and, as such, each hide will reflect its own individuality. Some variations of shade and tone are to be expected, as are nicks, scratches, and wrinkles that only occur in genuine leather; these characteristics are in no way to be considered a defect. These Limited Warranties do not cover tears, flattening of nap, pilling, fading, or shrinking and is not valid when heavy soiling or abuse is evident. These Limited Warranties also do not cover protective finishes, velvets, velvet types, since by their very nature, these fabrics are of soft texture and will crush, shade and mark more readily than most fabrics; these characteristics are in no way to be considered a defect.
LIMITATIONS AND EXCEPTIONS
The following limitation and exceptions apply to the Limited Warranties:
Remedy
Under these Limited Warranties, for all of its products other than an Unattached Cushion (as defined in the topical heading “Unattached Cushioning”), the sole liability of Warrantor is limited to repair, or at its option, replacement the applicable product or part not in conformity with these Limited Warranties. REFUNDS ARE NOT AVAILABLE. If within the warranty period, identical materials are unavailable at the time of repair or replacement, Warrantor reserves the right to substitute materials of equal or better quality. Replacement fabrics may vary in color from the original due to dye lot differences.
In addition, during the period of any applicable Labor Coverage, Warrantor will pay, within one year from the date of purchase, reasonable and customary labor rates to repair or replace the defective parts (at Warrantor’s option) and shipping costs from the retailer to and from Warrantor, at no charge to the original retail purchaser. After the expiration of the Labor Coverage or for all products or parts not covered by Labor Coverage, the original retail purchaser will be responsible for labor, packing, and all shipping and transportation costs. The costs associated with transporting the furniture or parts from your home to the retailer or from the retailer to your home are excluded from all Limited Warranties.
For Unattached Cushions with a material manufacturing defect, Warrantor will replace the defective Unattached Cushion provided that the original retail purchaser during the warranty period (i) complies with the Claim Procedure set forth in these Limited Warranties and (ii) if requested by Warrantor, returns the defective cushion core contained within an Unattached Cushion to Room solutions Brand, Attn: Director of Quality, One Ashley Way, Arcadia, WI 54612. The remedy specified in the paragraph is Warrantor sole liability related to Unattached Cushions.
Any item repaired or replaced under these Limited Warranties will be covered by the Limited Warranties for the remainder of the original warranty period only.
All Products
These Limited Warranties do not apply to (i) rented, business, commercial, institutional, or other non-resident uses (ii) merchandise that was, at any time, used as a floor sample or display model, (iii) any merchandise purchased “as is” or second-hand, (iv) any merchandise purchased at a distress sale or a going-out-of-business sale, (v) any merchandise purchased from a liquidator, or (vi) merchandise obtained from a rental retailer. All warranties, whether express or implied, cover only normal household usage. No warranty, express or implied, applies to any condition resulting from misuse, abuse, delivery or transportation damage, nor any condition resulting from incorrect or inadequate maintenance, cleaning or care. These Limited Warranties are null and void if furniture has been moved from original point of delivery to consumer.
Chemical Treatments
These Limited Warranties do not cover damages or defects caused by use of chemical treatments or protective coatings on the finish, leather, or upholstered fabric by the retailer or the original retail purchaser, and any such chemical treatments or protective coatings voids all warranties of Warrantor.
Leather, Upholstered Fabric and Finishes
The Limited Warranties on “Leather”, “Upholstered Fabric” and “Finishes and all Other Furniture Products” do no cover (i) damages resulting from excessive soiling, improper or unapproved cleaning methods, (ii) fading or other damages resulting from exposure to sunlight, (iii) damages resulting from household humidity, or (iv) damages resulting from any liquid, including but not limited to alcohol and water. CAUTION: Any use of improper or unapproved cleaning methods voids all warranties of Warrantor.
Modifications to Products
These Limited Warranties do not apply to any products that have been altered by any person, dealer, or company without the express written authorization of Warrantor.
Implied Warranties
IMPLIED WARRANTIES, INCLUDING ANY OF MERCHANTABILITY AND FITNESS FOR A PARTICULAR PURPOSE IMPOSED ON THE SALE OF THIS FURNITURE AND ITS PARTS UNDER STATE LAW, ARE LIMITED IN DURATION TO THE WARRANTY PERIOD AND NO WARRANTIES APPLY AFTER THAT PERIOD. SOME STATES DO NOT ALLOW LIMITATIONS ON HOW LONG AN IMPLIED WARRANTY LASTS, SO THE ABOVE LIMITATIONS MAY NOT APPLY TO YOU.
DISCLAIMER
NO OTHER EXPRESS WARRANTY HAS BEEN MADE OR WILL BE MADE ON BEHALF OF WARRANTOR WITH RESPECT TO THE FURNITURE AND ITS PARTS, OR THE OPERATION, REPAIR, OR REPLACEMENT OF THE FURNITURE AND ITS PARTS. FURTHERMORE, NO REPRESENTATIVE OF WARRANTOR OR ITS DISTRIBUTORS OR RETAILERS IS AUTHORIZED TO MAKE ANY CHANGES OR MODIFICATIONS TO THESE LIMITED WARRANTIES.
SOME RETAILERS OFFER EXTENDED OR ADDITIONAL WARRANTIES, INCLUDING BUT NOT LIMITED TO EXTENDED OR ADDITIONAL FABRIC WARRANTIES, EITHER FROM THE RETAILER OR THROUGH A THIRD-PARTY. WARRANTOR SHALL NOT BE LIABLE UNDER ANY EXTENDED OR ADDITIONAL WARRANTIES OFFERED BY ANY RETAILER OR THROUGH A THIRD-PARTY UNDER ANY CIRCUMSTANCES.
IN NO EVENT SHALL WARRANTOR BE RESPONSIBLE FOR CONSEQUENTIAL OR INCIDENTAL DAMAGES, SUCH AS LOSS OF USE, INCONVENIENCE, LOSS OR DAMAGE TO PERSONAL PROPERTY, WHETHER INDIRECT OR DIRECT, AND WHETHER ARISING IN CONTRACT OR TORT EVEN IF IT HAD REASON TO KNOW IN ADVANCE THAT SUCH DAMAGES WERE POSSIBLE. SOME STATES DO NOT ALLOW THE EXCLUSION OR LIMITATION OF INCIDENTAL OR CONSEQUENTIAL DAMAGES, SO THE FOREGOING LIMITATION OR EXCLUSION MAY NOT APPLY TO YOU. IN NO EVENT SHALL WARRANTOR’S RESPONSIBILITY EXCEED THE PURCHASE PRICE OF THE PRODUCT OR ITS REPLACEMENT.
This warranty gives you specific legal rights, and you may also have other rights that vary from state to state.
CAUTION
Motion furniture (recliners, sleeper sofa, etc.) has many moving parts. Caution must be used in operation (opening, closing, etc.). Children should not be allowed to play on or operate motion furniture. Always leave recliners in an upright position and keep hands and feet clear of mechanism. Only the occupant should operate it.
CLAIM PROCEDURE
To obtain warranty services, the original retail purchaser must comply with the requirements of the Claim Procedure. Contact the Room solutions authorized retailer from whom you purchased your furniture, to obtain warranty service. All claims must include the original bill of sale, the product serial number, and be filed within the applicable warranty period. Warrantor reserves the right to require defective parts be returned upon request. You must make arrangements with the retailer to schedule the transportation of the furniture or parts from your home to the retailer or from the retailer to your home. If the retailer from which you purchased the furniture has closed and you need service, contact Ashley in writing or call our Customer Service.
Signature Design Brand Warranty and Retailer Information

© October 2021, Ashley Furniture Industries, LLC. All rights reserved.
Signature Design is a registered trademark of Ashley Furniture Industries, LLC


















