VIVO STAND-TV00M4 Bolt-Down TV Mount

WARNING
If you do not understand these directions, or if you have any doubts about the safety of the installation, please call a qualified technician. Check carefully to make sure there are no missing or defective parts. Improper installation may cause damage or serious injury. Do not use this product for any purpose that is not explicitly specified in this manual. Do not exceed weight capacity. We cannot be liable for damage or injury caused by improper mounting, incorrect assembly, or inappropriate use.
TIPOVER WARNING
- SERIOUS OR FATAL CRUSHING INJURIES CAN OCCUR FROM TIPOVER. TO HELP PREVENT TIPOVER:
- NEVER ALLOW CHILDREN TO CLIMB, STAND, HANG, OR PLAY ON ANY PART OF TV OR TV STAND.
- USE TIPOVER RESTRAINT OR ANCHOR STAND TO WALL
THE USE OF TIP-OVER RESTRAINTS MAY ONLY REDUCE, BUT NOT ELIMINATE THE RISK OF TIP-OVER.
PACKAGE CONTENTS

NOTE: NOT ALL HARDWARE INCLUDED WILL BE USED.
TOOLS NEEDED
- DO NOT EXCEED WEIGHT CAPACITY.

- Failure to do so may result in serious injury.
WARNING: CHOKING HAZARD
SMALL PARTS – NOT FOR CHILDREN UNDER 3 YEARS. ADULT SUPERVISION IS REQUIRED.
ASSEMBLY STEPS
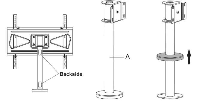
- STEP 1: Please note that the cable holes are positioned on the back side of the pole (A). Slide the base cover up to reveal mounting holes on the base.

- STEP 2: Position the pole on the desktop and drill small pilot holes. Secure M6x25 screws (G) or M6x30 screws (H) and slide the base cover down.

- STEP 3: Attach TV plate (D) to mounting head on pole using M6x16 carriage bolts (E) and M6 nuts (F), and tighten with the wrench (I).

STEP 4
OPTION A: Flat Back Monitor
- Position the VESA bracket (B) on the back of the TV, making sure the hooks are towards the top of the TV. Secure using screws (M-A or M-B) with square washers (M-F).

OPTION B: Curved Back Monitor
- Position the VESA brackets (B) on the back of the TV, making sure the hooks are towards the top of the TV. Secure using screws (M-C, M-D, or M-E) with square washers (M-F) and spacers (M-G, M-H).

- STEP 5: Hang TV with VESA bracket (B) over TV Plate (D) and tighten the screws underneath to secure.

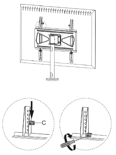
- STEP 6: Install stoppers (C) on the TV plate (D) to prevent the TV from sliding.

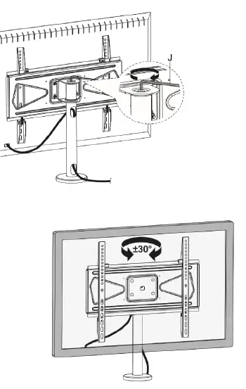
- STEP 7: Adjust swivel tension using the Allen wrench (J). Manage cables using cable holes in pole.

Love your new VIVO setup and want to share?
- Tag us in your photo! @vivo_us
Open Monday – Friday 7:00am – 7:00pm CST,
our dedicated support team can offer immediate assistance with rapid response times. If any parts are received damaged or defective, please contact us. We are happy to replace parts to ensure you have a fully functioning product.
- TEL: 309-278-5303 AVG. RESOLUTION TIME (within office hrs): 5M 4S
- www.vivo-us.com AVG. RESOLUTION TIME (within office hrs): < 15 M
- Email: [email protected] AVG. RESPONSE TIME (within office hrs): 1HR 8M
- 23% within < 15m
- 38% within < 30m
- 61% within < 1hr
- 83% within < 2hr
- 92% within < 3hr

























