Universal Soundbar TV Mount
Instruction Manual

SKU: MOUNT-SPSB2
Scan the QR code with your mobile device or follow the link
for helpful videos and specifications related to this product. https://vivo-us.com/products/mount-spsb2

MOUNT-SPSB2 <br><br>Universal Soundbar TV Mount
GET IN TOUCH | Monday-Friday from 7:00am-7:00pm CST
[email protected]
www.vivo-us.com
Chat live with an agent!
309-278-5303
WARNING!
If you do not understand these directions, or if you have any doubts about the safety of the installation, please call a qualified technician. Check carefully to make sure there are no missing or defective parts. Improper installation may cause damage or serious injury. Do not use this product for any purpose that is not explicitly specified in this manual. Do not exceed weight capacity. We cannot be liable for damage or injury caused by an improper mounting, incorrect assembly or inappropriate use.
WARNING: CHOKING HAZARD
SMALL PARTS – NOT FOR CHILDREN UNDER 3 YEARS. ADULT SUPERVISION IS REQUIRED.
PACKAGE CONTENTS

NOTE: SOME HARDWARE INCLUDED MAY NOT BE USED
DO NOT EXCEED WEIGHT CAPACITY.
Failure to do so may result in serious injury.
TOOLS NEEDED
ASSEMBLY STEPS
STEP 1
1A-1
Install long arms (A) to the soundbar. For small M4 or M5 threaded holes, use screws (E or F) and washers (H). For larger M6 threaded holes, use screws (G) without washers. For wall hanging slot holes, insert flat side bolts (I) fully into slots, position square holes in arms over bolts, and tighten with nuts (J).

With TV face-down on a table, position soundbar against the edge of TV and align arms with lower VESA mounting holes in TV.

1A-2
Assemble soundbar with MOUNT-SPSB2 adapter and VESA brackets from your TV mount to TV. Use one of the five following methods, depending on your TV’s requirements. The adapter should be mounted between the TV and the VESA brackets.

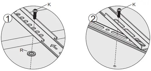
OPTION 1: For top two holes, use spacers (P) between TV and brackets, and secure with screws (K). For lower two holes, secure VESA brackets and adapter using screws (K).
OPTION 2: For the top two holes, use spacers (P, R) between TV and VESA brackets, and secure them with screws (L, M). For the lower two holes, use a spacer (P) and secure VESA brackets and adapter using screws (L or M).
OPTION 3: For top two holes, use spacers (P, R) between TV and VESA brackets, and secure them with screws (L or M). For the lower two holes, use spacers (P) and secure VESA brackets and adapter using screws (L or M).
OPTION 4: For top two holes, use spacers (Q and R) between TV and VESA brackets, and secure with screws (N or O). For the lower two holes, use spacers (Q) and secure VESA brackets and adapter using screws (N or O).
OPTION 5: For top two holes, use spacers (P, Q, and R) between TV and VESA brackets, and secure with screws (N or O). For the lower two holes, use spacers (P and Q) and secure VESA brackets and adapter using screws (N or O).

The soundbar and TV are now assembled together and are ready to be assembled to the wall. 
1B-1
Install short arms (B) to long arms (A) using carriage bolts (C) and ny loc nuts (D). Assemble straight or at an angle, depending on your soundbar and TV’s requirements.
1B-2
Install assembled arms to soundbar. For small M4 or M5 threaded holes, use screws (E or F) and washers (H). For larger M6 threaded holes, use screws (G) without washers. For wall hanging slot holes, insert flat side bolts (I) fully into slots, position square holes in arms over bolts, and tighten with nuts (J).
E/F
With TV face-down on a table, position soundbar against the edge of TV and align arms with lower VESA mounting holes in TV.
1B-3
Assemble soundbar with adapter and VESA brackets from your TV mount to TV. Use one of the five following methods, depending on your TV’s requirements. The adapter should be mounted between the TV and the VESA brackets.

OPTION 1: For top two holes, use spacers (P) between TV and brackets, and secure with screws (K). For lower two holes, secure VESA brackets and adapter using screws (K).

OPTION 2: For the top two holes, use spacers (P, R) between TV and VESA brackets, and secure them with screws (L, M). For lower two holes, use spacer (P) and secure VESA brackets and adapter using screws (L or M).

OPTION 3: For the top two holes, use spacers (P and R) between TV and VESA brackets, and secure them with screws (L or M). For the lower two holes, use spacers (P) and secure VESA brackets and adapter using screws (L or M).
OPTION 4: For the top two holes, use spacers (Q and R) between TV and VESA brackets, and secure them with screws (N or O). For the lower two holes, use spacers (Q) and secure VESA brackets and adapter using screws (N or O).

OPTION 5: For the top two holes, use spacers (P, Q, and R) between TV and VESA brackets, and secure with screws (N or O). For the lower two holes, use spacers (P and Q) and secure VESA brackets and adapter using screws (N or O).
The soundbar and TV are now assembled together and are ready to be mounted.

STEP 2
Install TV and soundbar to TV mount.
STEP 3
Your TV and soundbar are now ready to use.

Love your new VIVO setup and want to share?
Tag us in your photo! @vivo_us

Open Monday – Friday 7:00 am – 7:00 pm CST,
our dedicated support team can offer immediate assistance with rapid response times. If any parts are received damaged or defective, please contact us. We are happy to replace parts to ensure you have a fully functioning product.
| AVG. RESPONSE TIME (within office hrs): 1HR 8M – 23% within < 15m – 38% within < 30m – 61% within < 1hr – 83% within < 2hr – 92% within < 3hr | |
Chat live with an agent! | AVG. RESOLUTION TIME (within office hrs): < 15 M |
| AVG. RESOLUTION TIME (within office hrs): 5M 4S |
SITE AT: www.vivo-us.com
















