Universal Soundbar Speaker TV Mount VESA mount type: Plate
Instruction Manual

SKU: MOUNT-SPSB5
![]() | Scan the QR code with your mobile device or follow the link for helpful videos and specifications related to this product. https://vivo-us.com/products/mount-spsb5 |
GET IN TOUCH | Monday-Friday from 7:00am-7:00pm CST
![]() | ![]() | ![]() |
| [email protected] | www.vivo-us.com Chat live with an agent! | 309-278-5303 |
WARNING!
If you do not understand these directions, or if you have any doubts about the safety of the installation, please
call a qualified technician. Check carefully to make sure there are no missing or defective parts. Improper installation may cause damage or serious injury. Do not use this product for any purpose that is not explicitly specified in this manual. Do not exceed weight capacity. We cannot be liable for damage or injury caused by an improper mounting, incorrect assembly or inappropriate use.
WARNING: CHOKING HAZARD
SMALL PARTS – NOT FOR CHILDREN UNDER 3 YEARS. ADULT SUPERVISION IS REQUIRED.
PACKAGE CONTENTS



| TOOLS NEEDED | DO NOT EXCEED WEIGHT CAPACITY. Failure to do so may result in serious injury. |
![]() | ![]() |
ASSEMBLY STEPS
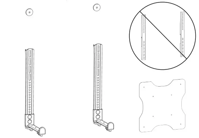
STEP 1

STEP 2
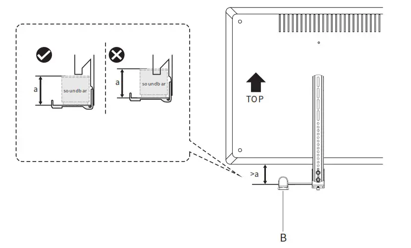
Determine the correct mounting height for the assembled brackets. For under TV mounting, ensure the distance between the Support Arms (B) is equal to or greater than the height of the soundbar to be installed. For over TV mounting, ensure the space between the support arm knobs is at least 5mm (0.2”) above the top edge of the TV.

OPTION A: Under TV
Install the VESA Brackets (A) and 40x6mm Pads (S-B) on the back of the TV with a VESA plate from the TV mount, and secure using Screws (M-A through M-G) of the correct size for your TV. Use D5 Washers (M-H) and Spacers (M-I, M-J) if needed.


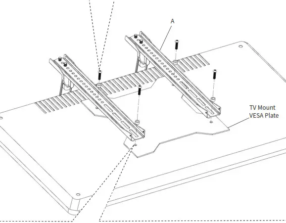
OPTION B: Over TV
Install the VESA Brackets (A) on the back of the TV with a VESA plate from the TV mount, and secure using Screws (M-A through M-G) of the correct size for your TV. Use D5 Washers (M-H) and Spacers (M-I, M-J) if needed.
NOTE: To ensure the mount is installed securely, top mounting requires the use of all four TV mounting holes as shown below.


STEP 3


Love your new VIVO setup and want to share?
Tag us in your photo! @vivo_us
LAST UPDATED: 04/23/2021 REV1
Open Monday – Friday 7:00 am – 7:00 pm CST,
our dedicated support team can offer immediate assistance with rapid response times. If any parts are received damaged or defective, please contact us. We are happy to replace parts to ensure you have a fully functioning product.
![]() | 309-278-5303 | AVG. RESOLUTION TIME (within office hrs): 5M 4S |
![]() | www.vivo-us.com Chat live with an agent! | AVG. RESOLUTION TIME (within office hrs): < 15 M |
![]() | [email protected] | AVG. RESPONSE TIME (within office hrs): 1HR 8M – 23% within < 15m – 38% within < 30m – 61% within < 1hr – 83% within < 2hr – 92% within < 3hr |
FOR MORE VIVO PRODUCTS, CHECK OUT OUR WEBSITE AT: www.vivo-us.com






















