Neomounts 550BL1 Soundbar Mount

DIMENSIONS

TOOLS REQUIRED
| Drill | 0-15 kg | 0-33,1 lbs |
|
PARTS

MOUNTING INSTRUCTIONS
STEP 1
Place the rubber pads

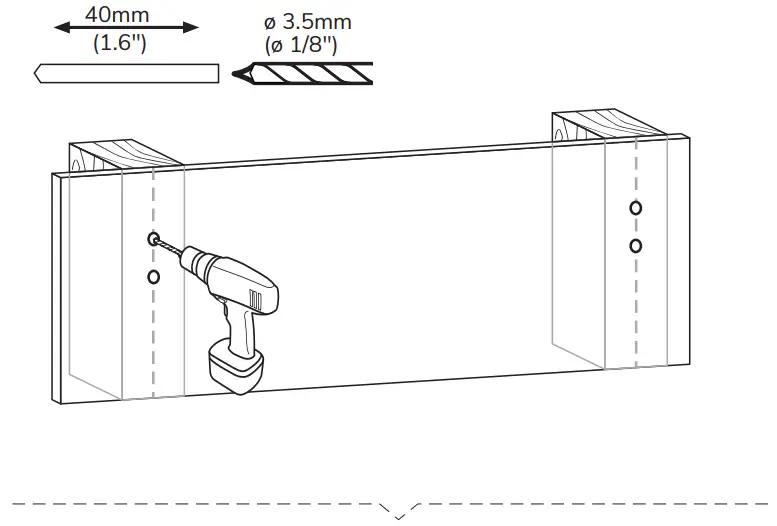
STEP 2 A
Install the brackets on a stud wall


STEP 2 B
Install the brackets on a solid brick or concrete wall


STEP 3
Adjust depth
STEP 4
Place the soundbar on the brackets
STEP 5
Tighten the adjustment knob
CAUTION
- To ensure safety, please read this manual carefully before installation and follow the instructions. Store this manual in a secure place tor future reference.
- The manufacturer shall not be legally responsible for any equipment damage or personal injury caused by incorrect installation or operation other than that covered in this manual.
- The mount is designed for easy installation and removal. The manufacturer shall not be liable for damage to equipment or personal injuries arising out of human factors or acts of nature. such as earthquake or typhoon.
- It is recommended that the mount be installed by Qualified personnel only.
- At least two persons are needed to install or remove the product to avoid hazard of falling objects.
- Please carefully inspect the area whern the mount is to be installed:
– Avoid places that are subject to high temperatures, humidity or contact with water.
– Oo not install the product near air conditioning vents or areas with excess dust and fumes .
– Only install on vertical walls Md avoid slaMed surfaces.
– Do not install in pfaces subject to any shock or vibration.
– Oo not install in places subject to direct exposure to bright light, as it may cause eye fatigue when viewing the display panel. - Maintain sufficient space around the display to ensure adequate ventilation.
- To ensure safe installation, first check the structure of the wall. ceiling or floor and select a secure mounting location.
- The wall, ceiling or floor should be strong enough to sustain a weight of at least four times of the display and mount combined. The mounting location must be able to withstand carhquake or other strong shock.
- Do not modify any accessories or use broken parts. Contact your dealer with any questions.
- Tighten all screws (do not exert excessive force to avoid breaking the screw or damaging its thread).
- Drill holes and bolts will be left in the wall, ceiling or floor once the display and bracket arc removed. Stains may occur after extended use.
- Since the manufacturer has no way to control the wall, ceiling or noor type and installation of the mount the warranty of the product shall only cover the body of the mount. The warranty period of the product is 5 years.
- Please consult the English language manual for any dispute on conditions.

Tool
Drill
0-15 kg | 0-33,1 lbs
9-15,4 cm

















