Neomounts NS-SB100 Soundbar Mount

Product Information
The NS-SB100 is a soundbar mount designed to securely attach a soundbar to a screen or wall mount. It provides a convenient and space-saving solution for mounting your soundbar.The mount is compatible with screens that have a VESA hole pattern of 200x100mm to 600x400mm. It can support soundbars weighing up to 15kg.
The package includes various parts required for installation, including:
- A. M4x14 screws (x2)
- B. M5x14 screws (x2)
- C. M6x14 screws (x4)
- D. M8x20 screws (x2)
- E. M6x30 screws (x4)
- F. M8x30 screws (x4)
- G. D5 screws (x2)
- H. D8 screws (x4)
- I. Unknown part (x4)
- J. Unknown part (x4)
- K. Unknown part (x2)
- L. M6x14 screws (x2)
- M. M6 screws (x2)
PARTS

DIMENSION

INSTALLATION
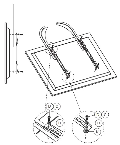
OPTION 1 A
Attach the arms to the top of a screen using the VESA hole patern, as shown in the image on the right
OPTION 1 B
Mount the soundbar to the bracket


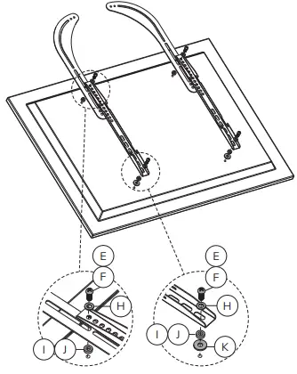
OPTION 2 A
Attach the arms to the top of a screen using the VESA

OPTION 2 B
Mount the soundbar to the bracket


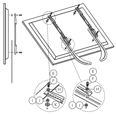
OPTION 3 A
Attach the arms, together with the adapter brackets of a wall mount, on the top of a screen

OPTION 3 B
Attach the arms, together with the adapter brackets of a wall mount, on the bottom of a screen

CAUTION
- To ensure safety, please read this manual carefully before installation and follow the instructions. Store this manual in a secure place for future reference.
- The manufacturer shall not be legally responsible for any equipment damage or personal injury caused by incorrect installation or operation other than that covered in this manual.
- The mount is designed for easy installation and removal. The manufacturer shall not be liable for damage to equipment or personal injuries arising out of human factors or acts of nature, such as earthquake or typhoon.
- It is recommended that the mount be installed by qualified personnel only.
- At least two persons are needed to install or remove the product to avoid hazard of falling objects.
- Please carefully inspect the area where the mount is to be installed:
- Avoid places that are subject to high temperatures, humidity or contact with water.
- Do not install the product near air conditioning vents or areas with excess dust and fumes.
- Only install on vertical walls and avoid slanted surfaces.
- Do not install in places subject to any shock or vibration.
- Do not install in places subject to direct exposure to bright light, as it may cause eye fatigue when viewing the display panel.
- Maintain sufficient space around the display to ensure adequate ventilation.
- To ensure safe installation, first check the structure of the wall, ceiling or floor and select a secure mounting location.
- The wall, ceiling or floor should be strong enough to sustain a weight of at least four times of the display and mount combined. The mounting location must be able to withstand earhquake or other strong shock. or
- Do not modify any accessories or use broken parts. Contact your dealer with any questions.
- Tighten all screws (do not exert excessive force to avoid breaking the screw or damaging its thread).
- Drill holes and bolts will be left in the wall, ceiling or floor once the display and bracket are removed. Stains may occur after extended use.
- Since the manufacturer has no way to control the wall, ceiling or floor type and installation of the mount, the warranty of the product shall only cover the body of the mount. The warranty period of the product is 5 years.
- Please consult the English language manual for any dispute on conditions.


















