SECURITY DOOR CONTROLS • WWW.SDCSECURITY.COM
[t] 800.413.8783 • 805.494.0622 • E-mail: [email protected] • 801 Avenida Acaso, Camarillo, CA 93012 • PO Box 3670, Camarillo, CA 93011
INSTALLATION INSTRUCTIONS
LR100AWK-ED910
ARROW ELECTRIC LATCH RETRACTION KIT
MODEL: ED910
Retrofit Installation Note: 42″ or 48″ exit devices that have been modified to fit a 36″ or smaller opening, may not have the required space to fit the standard E. L. R. assembly. Always verify the distance from the end of the touchpad to the end rail, and if necessary, consult with the factory for appropriate selection.
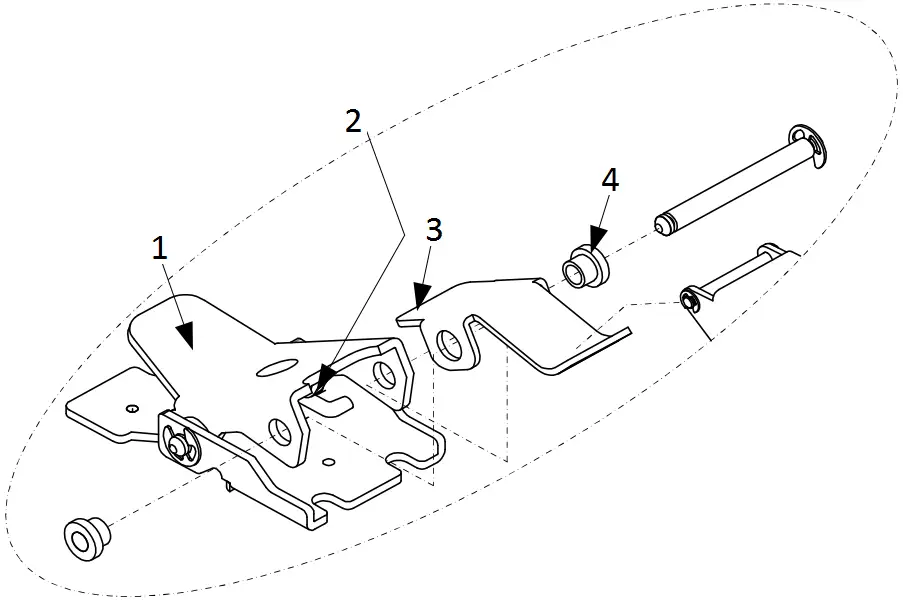
Remove and discard Dogging components. Remove the screws from the bottom of the housing and slide the push bar assembly from the housing and dis-assemble the front (head) end by removing the E-ring and pin as shown.
Remove studs on each side and lift the spring to insert the Pull Bracket between the Push Pad support. Replace studs to align bracket and reassemble the device.


Route wires through hinge assembly then out through cable tie where shown. Tighten cable tie and cut off excess.

- Push Pad Support
- Lift spring
- Pull Bracket
- Studs

- Pull Bracket
- ELR Roller
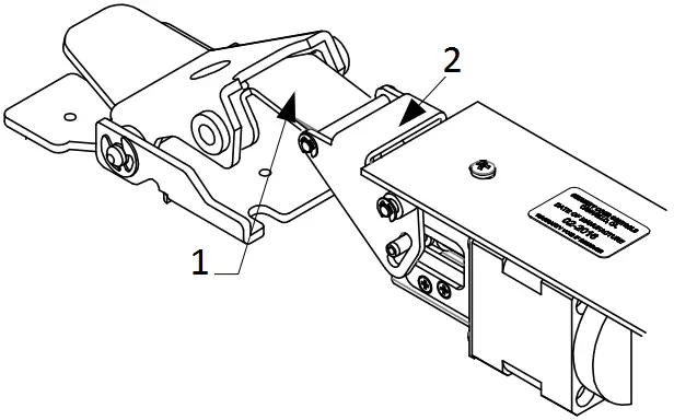
Be sure the Pull Bracket is installed UNDER the ELR roller.

ELECTRICAL DATA
24VDC @ 700/200mA
RED (+) BLK (-)
PATENT #8,851,530
PATENT PENDING
P:\INST INSTRUCTIONSELR KITSINST-LR100AWK-ED910 REV A 06-22
Any suggestions or comments to this instruction or product are welcome. Please contact us through our website or email [email protected]


















