SDC 6100ED RIM LR100Y6K Yale Electric Latch Retraction Device Kit Instruction Manual
INSTALLATION INSTRUCTIONS
Retrofit Installation Note: 42″ or 48″ exit devices that have been modified to fit a 36″ or smaller opening may not have the required space to fit the standard E. L. R. assembly. Always verify the distance from the end of the touchpad to the end rail and, if necessary, consult with the factory for appropriate selection.
Remove the Device End Cap and Cover from exit device. Replace the existing Cover End Cap with the provided replacement End Cap packaged with ELR kit.
If present, remove mechanical dogging assembly. Use the provided Template to add required mounting hole. Drill clearance as indicated for a 8-32 screw . Countersink the opposite side of rail extrusion.

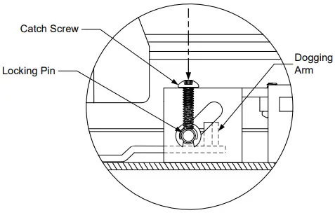
Slide the ELR assembly into the rail extrusion over the Dogging Arm within the device. Loosen the Catch Screw if required to allow for the ELR to be inserted over Dogging Arm. Fasten the ELR assembly to the rail extrusion of device as illustrated below using the provided mounting screws from ELR kit.

Once kit is secured to the device depress the Push Pad and tighten the Catch Screw on ELR kit to secure the Locking Pin in place. Release Push pad and energize the ELR to verify operation. Re-install Cover with new Endcap and Device End Cap.

SECURITY DOOR CONTROLS
WW.SDCSECURITY.COM
[t] 800.413.8783
805.494.0622
E-mail: [email protected]
801 Avenida Acaso, Camarillo, CA 93012
PO Box 3670, Camarillo, CA 93011


















