JBC WSS-9B Precision High Temperature Wire Stripper Station
Packing List
The following items are included:
- Wire Stripper
Control Unit …………….1 unit
Ref. WSU-9A (100V)
WSU-1A (120V) WSU-2A (230V)
- Stand ……………………….1 unit
Ref. WSST-A
- Precision High-Temperature Wire Stripper Tweezers …1 unit Ref. WS140-A

- Cartridge Holder …. 1 unit
Ref. SCH-A
- Stand Cable ………….. 1 unit
Ref. 0024227
- Power Cord ……………..1 unit
Ref. 0024092 (100V) 0023715 (120V) 0023714 (230V)
- Metal Brush……………..1 unit
Ref. 0022793
- Cartidge Extractor
Pliers ……………………… 1 unit
- Screw Driver ……………1 unit
Ref. 0023511
- Manual …………………… 1 unit
Ref. 0027607
Features and Connections

Changing Cartridges
- Removing
Loosen the screws and remove the cartridges.
- Inserting
Insert the cartridge until the reference ring touch against the wire stripper. Take the ring as reference and check that both tips match.
Important: It is essential to insert the cartridge till the end for a good connection.
- Positioning
Align the tip edges and fi x the cartridges in its working position
Fixing
Tightening the screw. Important: It is essential to tighten the screws for the tool to function.
Stripping a Wire
- Adjust Arm Position
The wheel allows to adjusted the wire stripper arm position according to the wire diameter. Move the wheel backward for a wider and forward for a narrower position.
- Align Wire
Place the wire touching the strip gauge.
- Close Cartridges
Choose cartridges according to the wire diameter. Pinch the wire with the blades. The pinched area will be melted by heat.
- Remove Wire
Pull the wire stripper toward to stripp off the wire end.
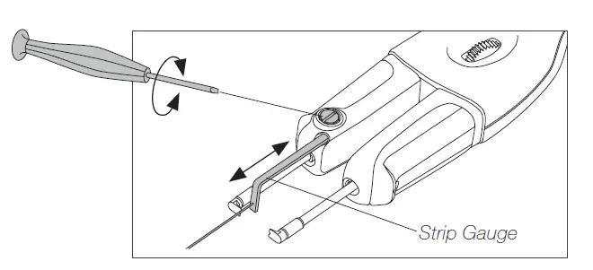
Adjustable Strip Gauge
Adjust the strip gauge according to your stripping requirements and tighten the screw.

Control Process
Work Screen

Work Mode
WSS offers two different working modes. Switch the power on choose between Material Mode and Custom Mode by pressing the button.
- Material Mode
Process Choose between the different materials by pressing the buttons and to choose between all different material options.
- Custom Mode
To work on a customized mode, press and then the buttons and to select the power level.
Operation
Depending on where the tool is located, the soldering station switches between three different statuses: Work, Sleep and Hibernation.
- Work

When the wire stripper is lifted from the stand, the cartridges will heat up according to the selected configuration.
- Sleep
When the wire stripper is in the stand, the power falls after a specified time.
- Hibernation
After longer periods of inactivity, the power is cut off and the cartridges cool down to room temperature.
Troubleshooting
Station troubleshooting available on the product page at www.jbctools.com
Material Mode
WSU incorporates predeterminated power levels and it also features a customized work mode. It allows you to work on wire insulations made of thermoplastics and thermostable materials such as Tefl on1, Kapton2, silicone, rubber, etc.
Options included:
| Insulation Material | Symbol | Power Level | |
| Thermoplastics | Polyvinyl Chloride | PVC | 6% |
| Polyethylene | PE | 7% | |
| Nylon ¹ | PA | 10% | |
| Kynar ² | PVDF | 16% | |
| Tefzel ¹ | ETFE | 17% | |
| Thermostable | Teflon ¹ | FEP | 16% |
| PFA | 21% | ||
| PTFE | 40% | ||
| Ethylene Propylene Rubber | EPM/EPR | 44% | |
| Silicone Rubber | SI | 51% | |
| Kapton ¹ | PI | 90% |
- Registred Trade Marks of DuPont
- Registred Trade Marks of Arkema
Cartridge Range
WS140-A is compatible with W140 Blade Cartridge Range. Find the model that best suits your soldering needs on www.jbctools.com.
| Cartridge Ref. | Tip Hole ø mm / in | AWG Solid | AWG Stranded | ![]() |
| W14040G | 40 | x | ||
| W14038G | 38 | x | ||
| W14037G | 37 | x | ||
| W14036G | 36 | x | ||
| W14034G | 34 | 36 (7×44) | ||
| W14032G | 32 | 34 (7×42) | ||
| W14030G | 30 | 32 (19×44) | ![]() | |
| W14028G | 0,32 / 0,0126 | 28 | 30 (7×38) | |
| 30 (19×42) | ||||
| W14026G | 0,40 / 0,0157 | 26 | 28 (19×40) | |
| 27 (7×35) | ||||
| 14024G | 0,51 / 0,0201 | 24 | 26 (19×38) | |
| 26 (10×36) | ||||
| W14022G | 0,64 / 0,0252 | 22 | 24 (19×36) | ![]() |
| 24 (7×32) | ||||
| W14020G | 0,81 / 0,0319 | 20 | 22 (19×34) | |
| W14018G | 1,02 / 0,0402 | 18 | 20 (42×36) | |
| 20 (19×32) | ||||
| 20 (7×28) | ||||
| W14003F | Flat Tip 3 / 0.118 | |||
| W14016G | 1,29 / 0,0508 | 16 | 18 (19×30) | ![]() |
| W14014G | 1,63 / 0,0642 | 14 | 16 (7×24) | ![]() |
| W14005F | Flat Tip 5 / 0.197 | |||
If an application requires a special tip design, contact JBC by mail [email protected] for special blade cartridges.
Accessories
- Flat Screw Driver
To open or fi x the wire stripper srews use JBC Flat Screw Driver Ref. 0023511. - Cartridge Extractor Pliers*
To manipulate the cartridges use JBC Cartridge Extractor Pliers Ref. PLR195. More Information at www.jbctools.com
- Removing
Remove cartridges with JBC pliers. - Inserting and Positioning
Align cartridges with JBC pliers. - Metal Brush
For cleaning the tips if unwanted material is stuck there. Metal Brush Ref. 0022793.
Pedal Kit for Control Units
Pedal P305 can be used to activate/deactivate the Wire Stipper. Previously the Hibernation delay has to be set to 0 min.
Lift the wire stripper from the stand, press and hold the pedal to activate them and strip the wire. Once the pedal is relaesed the wire stripper enters in Hibernation. To reverse the pedal functionality flip the switch of the connection box.

Maintenance
Before carrying out maintenance or storage, always allow the equipment to cool down and unplug the stand from the station and the tool.

- Clean the station screen with a glass cleaner or a damp cloth.
- Use a damp cloth to clean the casing, the stand and the tool. Alcohol can only be used for cleaning the metal parts.
- Periodically check that the metal parts of the tool and stand are clean so that the station can detect the tool status.
- Maintain tip surface clean in order to ensure a correct stripped wire.
- Periodically check all cables.
- Replace a blown fuse as follows (see specification chart) :
- Pull off the fuse holder and remove the fuse. If necessary use a tool to lever it off.

- 2. Press the new fuse into the fuse holder and replace it in the station.

- Pull off the fuse holder and remove the fuse. If necessary use a tool to lever it off.
- Replace any defective or damaged pieces. Use original JBC spare parts only.
- Repairs should only be performed by a JBC authorized technical service.
Safety
It is imperative to follow safety guidelines to prevent electric shock, injury, fire or explosion.
Warning
- Do not touch the blade or the metal parts around.
- Do not allow the blade be close to flammable materials.
- Keep your workplace clean and tidy. Wear appropriate protection glasses and gloves when working to avoid personal harm.
- This appliance can be used by children over the age of eight and also persons with reduced physical, sensory or mental capabilities or lack of experience provided that they have been given adequate supervision or instruction concerning use of the appliance and understand the hazards involved.
- Maintenance must not be carried out by children unless supervised.
- Place the tool on the stand when is not in use.
- Turn off the power when not in use, changing parts or storing.
Caution
- Do not use the Wire Stripper for other applications than wire stripping.
- Do not modify or customize the Wire Stripper.
- Do not hit the blade against workbench to eliminate stripped insulation debris. This behavior would damage the blade.
- Remove power from the tool by holding the plug, not the wires.
- Be careful with the fumes produced when stripping. We recomend to use our fume extractor.
Specifications
WSS
- Precision High-Temperature Wire Stripper Station
- Ref.: WSS-9B 100V 50/60Hz. Input fuse: 1.6A. 5x20mm Output: 15V. Ref.: WSS-1B 120V 50/60Hz. Input fuse: 1.25A. 5x20mm Output: 15V. Ref.: WSS-2B
- 230V 50/60Hz. Input fuse: 0.63A. 5x20mm Output: 15V.
- Max. Temperature: 800 ºC / 1472 °F
- Power: 75W
- Ambient operating temp: 10 to 50 ºC / 50 to 120 ºF
- Connections: USB-B
- Control Unit Dimension/Weight: 94 x 106 x 180 mm / 2.2 kg (L x W x H) 3.5 x 4.1 x 7.1 in / 4.85 lb
- Total Net Weight: 3.8 kg / 8.38 lb
- Total Package Dimension/Weight: 4.6 kg /10.1 lb (L x W x H)
Complies with CE standards. ESD safe.
Warranty
JBC’s 2 year warranty covers this equipment against all manufacturing defects, including the replacement of defective parts and labour.
Warranty does not cover product wear or misuse. In order for the warranty to be valid, equipment must be returned, postage paid, to the dealer where it was
purchased. Get 1 extra year JBC warranty by registering here: https://www.jbctools.com/productregistration/ within 30 days of purchase.
This product should not be thrown in the garbage.
In accordance with the European directive 2012/19/EU, electronic equipment at the end of its life must be collected and returned to an authorized recycling facility.

Packing List











Fixing




Process Choose between the different materials by pressing the buttons and to choose between all different material options.
To work on a customized mode, press and then the buttons and to select the power level.


When the wire stripper is in the stand, the power falls after a specified time.
After longer periods of inactivity, the power is cut off and the cartridges cool down to room temperature.





To open or fi x the wire stripper srews use JBC Flat Screw Driver Ref. 0023511.
To manipulate the cartridges use JBC Cartridge Extractor Pliers Ref. PLR195. More Information at www.jbctools.com
Remove cartridges with JBC pliers.
Align cartridges with JBC pliers.
For cleaning the tips if unwanted material is stuck there. Metal Brush Ref. 0022793.




















