JBC WS440 WSBT High Temperature Wire Stripper Tweezers

This manual corresponds to the following reference: WSBT-B
Packing List
The following items are included:

Stand for WS440 ………………………………………………………………………………………………………………….. 1 unit

Stand Cable (length 1m) ……………………1 unit
Ref. 0024227

Manual ………………………………………………. 1 unit
Ref. 0028125
Features and Connections

Features and Assembly
Cable Collector

Changing W440 Cartridges
- Removing

Loosen the screws and remove the cartridges. - Inserting

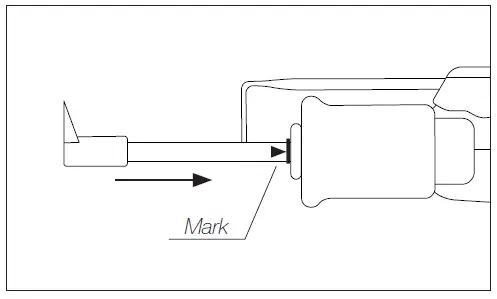
Insert the cartridge until the reference mark. Take the mark as reference and check that both tips match.
Important: It is esential to insert the cartridge till the mark for a good connection. - Positioning

Align the cartridges in working position using a fl at pliers (JBC Ref. PLR-195).The conical cartridge aligner helps centering both cartridges and ensure a good functionality. - Fixing

Fix the cartridges in its working position. by tightening the screw.
Important: It is essential to tighten the screws for the tool to function.
Operation
Depending on where the tool is located, the soldering station switches between three different
statuses: Work, Sleep and Hibernation.
- Work

When the wire stripper is lifted from the stand, the cartridges will heat up according to the selected configuration.
- Sleep
When the wire stripper is in the stand, the power falls after a specified time.
When the wire stripper is in the stand, the power falls after a specified time. - Hibernation
After longer periods of inactivity, the power is cut off and the cartridges cool down to room temperature.
Troubleshooting
Station troubleshooting available on the product page at www.jbctools.com
Cartridge Range W440
RangeWS440 is compatible with W440 Blade Cartridge Range. Find the model that best suits your soldering needs on www.jbctools.com.
If an application requires a special tip design, contact JBC by mail [email protected].



Accessories

Maintenance
Before carrying out maintenance or storage, always unplug the stand from the station and the tool.

- Use a damp cloth to clean the stand. Alcohol can be used only when cleaning the metal parts.
- Check periodically that the metal parts of the tool/stand are clean so that the station can check the tool’s status.
- Periodically check all cables and tube connections.
- Replace any defective or damaged parts.
Use original JBC spare parts only - Repairs should only be performed by a JBC-authorized technical service
Safety
It is imperative to follow safety guidelines to prevent electric shock, injury, fire or explosion.
Warning
- Do not touch the blade or the metal parts around.
- Do not allow the blade be close to flammable materials.
- Keep your workplace clean and tidy. Wear appropriate protection glasses and gloves when working to avoid personal harm.
- This appliance can be used by children over the age of eight and also persons with reduced physical, sensory or mental capabilities or lack of experience provided that they have been given adequate supervision or instruction concerning use of the appliance and understand the hazards involved.
- Maintenance must not be carried out by children unless supervised.
- Place the tool on the stand when is not in use.
- Turn off the power when not in use, changing parts or storing.
Caution
- Do not use the Wire Stripper for other applications than wire stripping.
- Do not modify or customize the Wire Stripper.
- Do not hit the blade against workbench to eliminate stripped insulation debris. This behavior would damage the blade.
- Remove power from the tool by holding the plug, not the wires.
- Be careful with the fumes produced when stripping. We recomend to use our fume extractor.
Specifications
WSBT
Stand for WS440
Ref.: WSBT-B
- Total Net Weight: 1285 g / 2.83 lb
- Package Dimension/Weight: 342 x 155 x 120 mm / 1846 g
(L x W x H) 13.46 x 6.10 x 4.72 in / 3.07 lb
Complies with CE standards
ESD Safe
Warranty
JBC’s 2 year warranty covers this equipment against all manufacturing defects, including the replacement of defective parts and labour.
Warranty does not cover product wear or misuse.
In order for the warranty to be valid, equipment must be returned, postage paid, to the dealer where it was purchased.
Get 1 extra year JBC warranty by registering here:
https://www.jbctools.com/productregistration/ within 30 days of purchase.
This product should not be thrown in the garbage.
In accordance with the European directive 2012/19/EU, electronic equipment at the end of its life must be collected and returned to an authorized recycling facility.







When the wire stripper is in the stand, the power falls after a specified time.
When the wire stripper is in the stand, the power falls after a specified time.
After longer periods of inactivity, the power is cut off and the cartridges cool down to room temperature.



















