makita DHS680 Cordless Circular Saw































Explanation of general view
- Button
- Red indicator
- Battery cartridge
- Switch trigger
- Lock-off lever
- Battery indicator
- Mode indicator
- Lever
- Depth guide
- Front lever
- Stopper
- Cutting line (0° position)
- Cutting line (45° position)
- Screw
- Lamp
- Hook
- Close
- Open
- Hex wrench
- Shaft lock
- Tighten
- Loosen
- Inner flange
- Saw blade
- Outer flange
- Hex bolt
- Mounting shaft
- Ring
- Dust nozzle
- Vacuum cleaner
- Hose
- Clamping screw
- Rip fence (Guide rule)
- Adjusting screw for 45°
- Adjusting screw for 0°
- Triangular rule
- Bevel guide
- Guide
SPECIFICATIONS
| Model | DHS680 | |
| Blade diameter | 165 mm | |
| Max. cutting depth | at 0° | 57 mm |
| at 45° | 41 mm | |
| at 50° | 37 mm | |
| No load speed | 5,000 min-1 | |
| Overall length | 350 mm | |
| Net weight | 3.3 kg | |
| Rated voltage | D.C. 18 V | |
- Due to our continuing program of research and development, the specifications herein are subject to change without notice.
- Specifications and battery cartridge may differ from country to country.
- Weight, with battery cartridge, according to EPTA-Procedure 01/2003
Intended use
The tool is intended for performing lengthways and crossways straight cuts and miter cuts with angles in wood while in firm contact with the workpiece. With appropriate Makita genuine saw blades, other materials can also be sawed.
General Power Tool Safety Warnings
WARNING Read all safety warnings and all instructions. Failure to follow the warnings and instructions may result in electric shock, fire and/or serious injury.
Save all warnings and instructions for future reference.
CORDLESS CIRCULAR SAW SAFETY WARNINGS
Cutting procedures
- DANGER: Keep hands away from cutting area and the blade. Keep your second hand on auxiliary handle, or motor housing. If both hands are holding the saw, they cannot be cut by the blade.
- Do not reach underneath the workpiece. The guard cannot protect you from the blade below the workpiece.
- Adjust the cutting depth to the thickness of the workpiece. Less than a full tooth of the blade teeth should be visible below the workpiece.
- Never hold piece being cut in your hands or across your leg. Secure the workpiece to a stable platform. It is important to support the work properly to minimize body exposure, blade binding, or loss of control. (Fig. 1)
A typical illustration of proper hand support and workpiece support. - Hold the power tool by insulated gripping surfaces only, when performing an operation where the cutting tool may contact hidden wiring. Contact with a “live” wire will also make exposed metal parts of the power tool “live” and could give the operator an electric shock.
- When ripping, always use a rip fence or straight edge guide. This improves the accuracy of cut and reduces the chance of blade binding.
- Always use blades with correct size and shape
(diamond versus round) of arbor holes. Blades that do not match the mounting hardware of the saw will run eccentrically, causing loss of control. - Never use damaged or incorrect blade washers or bolt. The blade washers and bolt were specially designed for your saw, for optimum performance and safety of operation.
Kickback causes and related warnings
- Kickback is a sudden reaction to a pinched, bound or misaligned saw blade, causing an uncontrolled saw to lift up and out of the workpiece toward the operator;
- When the blade is pinched or bound tightly by the kerf closing down, the blade stalls and the motor reaction drives the unit rapidly back toward the operator;
- If the blade becomes twisted or misaligned in the cut, the teeth at the back edge of the blade can dig into the top surface of the wood causing the blade to climb out of the kerf and jump back toward the operator.
Kickback is the result of saw misuse and/or incorrect operating procedures or conditions and can be avoided by taking proper precautions as given below.
- Maintain a firm grip with both hands on the saw and position your arms to resist kickback forces. Position your body to either side of the blade, but not in line with the blade. Kickback could cause the saw to jump backwards, but kickback forces can be controlled by the operator, if proper precautions are taken.
- When blade is binding, or when interrupting a cut for any reason, release the trigger and hold the saw motionless in the material until the blade comes to a complete stop. Never attempt to remove the saw from the work or pull the saw backward while the blade is in motion or kickback may occur. Investigate and take corrective actions to eliminate the cause of blade binding.
- When restarting a saw in the workpiece, center the saw blade in the kerf and check that saw teeth are not engaged into the material. If saw blade is binding, it may walk up or kickback from the workpiece as the saw is restarted.
- Support large panels to minimize the risk of blade pinching and kickback. Large panels tend to sag under their own weight. Supports must be placed under the panel on both sides, near the line of cut and near the edge of the panel. (Fig. 2 & 3)
To avoid kickback, do support board or panel near the cut.
Do not support board or panel away from the cut. - Do not use dull or damaged blades. Unsharpened or improperly set blades produce narrow kerf causing excessive friction, blade binding and kickback.
- Blade depth and bevel adjusting locking levers must be tight and secure before making cut. If blade adjustment shifts while cutting, it may cause binding and kickback.
- Use extra caution when sawing into existing walls or other blind areas. The protruding blade may cut objects that can cause kickback.
- ALWAYS hold the tool firmly with both hands. NEVER place your hand or fingers behind the saw. If kickback occurs, the saw could easily jump backwards over your hand, leading to serious personal injury. (Fig. 4)
- Never force the saw. Push the saw forward at a speed so that the blade cuts without slowing. Forcing the saw can cause uneven cuts, loss of accuracy, and possible kickback.
Lower guard function - Check lower guard for proper closing before each use. Do not operate the saw if lower guard does not move freely and close instantly. Never clamp or tie the lower guard into the open position. If saw is accidentally dropped, lower guard may be bent. Raise the lower guard with the retracting handle and make sure it moves freely and does not touch the blade or any other part, in all angles and depths of cut.
- Check the operation of the lower guard spring. If the guard and the spring are not operating properly, they must be serviced before use. Lower guard may operate sluggishly due to damaged parts, gummy deposits, or a build-up of debris.
- Lower guard may be retracted manually only for special cuts such as “plunge cuts” and
“compound cuts”. Raise lower guard by retracting handle and as soon as blade enters the material, the lower guard must be released. For all other sawing, the lower guard should operate automatically. - Always observe that the lower guard is covering the blade before placing saw down on bench or floor. An unprotected, coasting blade will cause the saw to walk backwards, cutting whatever is in its path. Be aware of the time it takes for the blade to stop after switch is released.
- To check lower guard, open lower guard by hand, then release and watch guard closure. Also check to see that retracting handle does not touch tool housing. Leaving blade exposed is VERY DANGEROUS and can lead to serious personal injury.
Additional safety warnings - Use extra caution when cutting damp wood, pressure treated lumber, or wood containing knots. Maintain smooth advancement of tool without decrease in blade speed to avoid overheating the blade tips.
- Do not attempt to remove cut material when blade is moving. Wait until blade stops before grasping cut material. Blades coast after turn off.
- Avoid cutting nails. Inspect for and remove all nails from lumber before cutting.
- Place the wider portion of the saw base on that part of the workpiece which is solidly supported, not on the section that will fall off when the cut is made. As examples, Fig. 5 illustrates the RIGHT way to cut off the end of a board, and Fig. 6 the WRONG way. If the workpiece is short or small, clamp it down. DO NOT TRY TO HOLD SHORT PIECES BY HAND! (Fig. 5 & 6)
- Before setting the tool down after completing a cut, be sure that the lower guard has closed and the blade has come to a complete stop.
- Never attempt to saw with the circular saw held upside down in a vise. This is extremely dangerous and can lead to serious accidents.
(Fig. 7) - Some material contains chemicals which may be toxic. Take caution to prevent dust inhalation and skin contact. Follow material supplier safety data.
- Do not stop the blades by lateral pressure on the saw blade.
- Do not use any abrasive wheels.
- Only use the saw blade with the diameter that is marked on the tool or specified in the manual. Use of an incorrectly sized blade may affect the proper guarding of the blade or guard operation which could result in serious personal injury.
- Keep blade sharp and clean. Gum and wood pitch hardened on blades slows saw and increases potential for kickback. Keep blade clean by first removing it from tool, then cleaning it with gum and pitch remover, hot water or kerosene. Never use gasoline.
- Wear a dust mask and hearing protection when use the tool.
SAVE THESE INSTRUCTIONS.
WARNING:
DO NOT let comfort or familiarity with product (gained from repeated use) replace strict adherence to safety rules for the subject product. MISUSE or failure to follow the safety rules stated in this instruction manual may cause serious personal injury.
IMPORTANT SAFETY INSTRUCTIONS
FOR BATTERY CARTRIDGE
- Before using battery cartridge, read all instructions and cautionary markings on (1) battery charger, (2) battery, and (3) product using battery.
- Do not disassemble battery cartridge.
- If operating time has become excessively shorter, stop operating immediately. It may result in a risk of overheating, possible burns and even an explosion.
- If electrolyte gets into your eyes, rinse them out with clear water and seek medical attention right away. It may result in loss of your eyesight.
- Do not short the battery cartridge:
- Do not touch the terminals with any conductive material.
- Avoid storing battery cartridge in a container with other metal objects such as nails, coins, etc.
- Do not expose battery cartridge to water or rain.
A battery short can cause a large current flow, overheating, possible burns and even a breakdown.
- Do not store the tool and battery cartridge in locations where the temperature may reach or exceed 50°C (122°F).
- Do not incinerate the battery cartridge even if it is severely damaged or is completely worn out. The battery cartridge can explode in a fire.
- Be careful not to drop or strike battery.
- Do not use a damaged battery.
- Follow your local regulations relating to disposal of battery.
SAVE THESE INSTRUCTIONS.
CAUTION: Only use genuine Makita batteries. Use of non-genuine Makita batteries, or batteries that have been altered, may result in the battery bursting causing fires, personal injury and damage. It will also void the Makita warranty for the Makita tool and charger.
Tips for maintaining maximum battery life
- Charge the battery cartridge before completely discharged.
Always stop tool operation and charge the battery cartridge when you notice less tool power. - Never recharge a fully charged battery cartridge. Overcharging shortens the battery service life.
- Charge the battery cartridge with room temperature at 10°C – 40°C (50°F – 104°F). Let a hot battery cartridge cool down before charging it.
- Charge the battery cartridge if you do not use it for a long period (more than six months).
FUNCTIONAL DESCRIPTION
CAUTION: Always be sure that the tool is switched off and the battery cartridge is removed before adjusting or checking function on the tool.
Installing or removing battery cartridge (Fig. 8)
CAUTION:
- Always switch off the tool before installing or removing of the battery cartridge.
- Hold the tool and the battery cartridge firmly when installing or removing battery cartridge. Failure to hold the tool and the battery cartridge firmly may cause them to slip off your hands and result in damage to the tool and battery cartridge and a personal injury.
To remove the battery cartridge, slide it from the tool while sliding the button on the front of the cartridge.
To install the battery cartridge, align the tongue on the battery cartridge with the groove in the housing and slip it into place. Insert it all the way until it locks in place with a little click. If you can see the red indicator on the upper side of the button, it is not locked completely.
CAUTION:
- Always install the battery cartridge fully until the red indicator cannot be seen. If not, it may accidentally fall out of the tool, causing injury to you or someone around you.
- Do not install the battery cartridge forcibly. If the cartridge does not slide in easily, it is not being inserted correctly.
NOTE:
- When the battery cartridge is not removed easily, push it from the opposite side of the button and slide it.
Switch action
CAUTION:
- Before installing the battery cartridge into the tool, always check to see that the switch trigger actuates properly and returns to the “OFF” position when released.
- Do not pull the switch trigger hard without pressing the lock-off lever. This can cause switch breakage. (Fig. 9)
To prevent the switch trigger from being accidentally pulled, a lock-off lever is provided. To start the tool, press the lock-off lever and pull the switch trigger. Release the switch trigger to stop.
WARNING:
- For your safety, this tool is equipped with lock-off lever which prevents the tool from unintended starting. NEVER use the tool if it runs when you simply pull the switch trigger without pressing the lock-off lever. Return tool to a MAKITA service center for proper repairs BEFORE further usage.
- NEVER tape down or defeat purpose and function of lock-off lever.
Indicating remaining battery capacity (Fig. 10)
When you turn the tool on, the battery indicator shows the remaining battery capacity.
The remaining battery capacity is shown as the following table.
| Battery indicator status | Remaining battery capacity | ||
| : On | : Off | : Blinking | |
|
| 50% – 100% | ||
|
| 20% – 50% | ||
|
| 0% – 20% | ||
|
| Charge the battery | ||
015146
Automatic speed change function (Fig. 11)
| Mode indicator status | Operation mode |
![]() | High speed mode |
![]() | High torque mode |
015137
This tool has “high speed mode” and “high torque mode”. It automatically changes operation mode depending on the work load. When mode indicator lights up during operation, the tool is in high torque mode.
Tool/battery protection system
The tool is equipped with a tool/battery protection system. This system automatically cuts off power to the motor to extend tool and battery life.
The tool will automatically stop during operation if the tool or battery are placed under one of the following conditions. In some conditions, the indicator lights up.
Overload protection
When the tool is operated in a manner that causes it to draw an abnormally high current, the tool automatically stops without any indications. In this situation, turn the tool off and stop the application that caused the tool to become overloaded. Then turn the tool on to restart.
Overheat protection for tool
When the tool is overheated, the tool stops automatically and the battery indicator shows following state. In this situation, let the tool cool before turning the tool on again.
| Battery indicator | : On | : Off | : Blinking |
|
| Tool is overheated | ||
Releasing protection lock
When the protection system works repeatedly, the tool is locked and the battery indicator shows the following state.
| Battery indicator | : On | : Off | : Blinking |
|
| Protection lock works | ||
In this situation, the tool does not start even if turning the tool off and on. To release the protection lock, remove the battery, set it to the battery charger and wait until the charging finishes.
Adjusting depth of cut
CAUTION:
- After adjusting the depth of cut, always tighten the lever securely.
Loosen the lever on the side of the rear handle and move the base up or down. At the desired depth of cut, secure the base by tightening the lever. (Fig. 12) For cleaner, safer cuts, set cut depth so that no more than one blade tooth projects below workpiece. Using proper cut depth helps to reduce potential for dangerous KICKBACKS which can cause personal injury.
Bevel cutting
Loosen the front lever. Set for the desired angle (0° – 50°) by tilting accordingly, then tighten the front lever securely. (Fig. 13)
Use the 45° stopper when you do precise 45° angle cutting. Turn the stopper counterclockwise fully for bevel cut (0° – 45°) and turn it clockwise for 0° – 50° bevel cuts. (Fig. 14)
Sighting (Fig. 15)
For straight cuts, align the 0° position on the front of the base with your cutting line. For 45° bevel cuts, align the 45° position with it. The position of the top guide is adjustable.
Lighting the lamp
CAUTION:
- Do not look in the lamp or see the source of lamp directly. (Fig. 16)
Only to turn on the lamp, pull the switch trigger without pressing the lock-off lever. To turn on the lamp and run the tool, press the lock-off lever and pull the switch trigger with pressing the lock-off lever. The lamp keeps on lighting while the switch trigger is being pulled. The lamp goes out 10 -15 seconds after releasing the trigger.
NOTE:
- Use a dry cloth to wipe the dirt off the lens of lamp. Be careful not to scratch the lens of lamp, or it may lower the illumination.
- Do not use gasoline, thinner or the like to clean the lens of lamp. Using such substances will damage the lens.
Hook
CAUTION:
- Always remove the battery when hanging the tool with the hook.
- Never hook the tool at high location or on potentially unstable surface.
The hook is convenient for hanging the tool temporarily. To use the hook, simply turn it until it snaps into the open position.
When not in use, always turn the hook until it snaps into the closed position. (Fig. 17)
ASSEMBLY
CAUTION:
- Always be sure that the tool is switched off and the battery cartridge is removed before carrying out any work on the tool.
Removing or installing saw blade
CAUTION:
- Be sure the blade is installed with teeth pointing up at the front of the tool.
- Use only the Makita wrench to install or remove the blade.
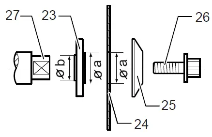
To remove the blade, press the shaft lock so that the blade cannot revolve and use the wrench to loosen the hex bolt clockwise. Then remove the hex bolt, outer flange and blade. (Fig. 18 & 19)
To install the blade, follow the removal procedure in reverse. BE SURE TO TIGHTEN THE HEX BOLT COUNTERCLOCKWISE SECURELY.
When changing blade, make sure to also clean the upper and lower blade guards of accumulated sawdust as discussed in the Maintenance section. Such efforts do not replace the need to check lower guard operation before each use.
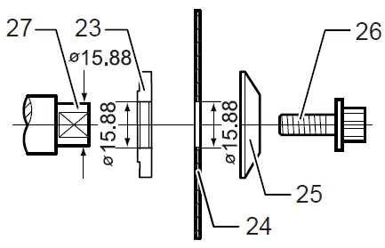
For tool with the inner flange for other than 15.88 mm hole-diameter saw blade
CAUTION:
- Make sure that the protrusion “a” on the inner flange that is positioned outside fits into the saw blade hole “a” perfectly. Mounting the blade on the wrong side can result in the dangerous vibration.
The inner flange has a certain diameter protrusion on one side of it and a different diameter protrusion on the other side. Choose a correct side on which protrusion fits into the saw blade hole perfectly.
Next, mount the inner flange onto the mounting shaft so that the correct side of protrusion on the inner flange faces outward and then place saw blade and outer flange. (Fig. 20)
BE SURE TO TIGHTEN THE HEX BOLT COUNTERCLOCKWISE SECURELY.
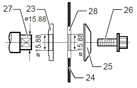
For tool with the inner flange for a 15.88 mm hole-diameter saw blade (country specific) (Fig. 21 & 22) Mount the inner flange with its recessed side facing outward onto the mounting shaft and then place saw blade (with the ring attached if needed), outer flange and hex bolt.
BE SURE TO TIGHTEN THE HEX BOLT COUNTERCLOCKWISE SECURELY.
WARNING:
- Before mounting the blade onto the spindle, always be sure that the correct ring for the blade’s arbor hole you intend to use is installed between the inner and the outer flanges. Use of the incorrect arbor hole ring may result in the improper mounting of the blade causing blade movement and severe vibration resulting in possible loss of control during operation and in serious personal injury.
Hex wrench storage (Fig. 23)
When not in use, store the hex wrench as shown in the figure to keep it from being lost.
Connecting a vacuum cleaner (Optional accessory in some countries) (Fig. 24 & 25)
When you wish to perform clean cutting operation, connect a Makita vacuum cleaner to your tool.
Install the dust nozzle on the tool using the screw. Then connect a hose of the vacuum cleaner to the dust nozzle as shown in the figure.
For tool without dust nozzle provided as a standard equipment, replace the lever fixed on the lower guard to the one supplied with the dust nozzle (optional accessory) at the same time when installing the dust nozzle. Otherwise you will not be able to make a cut because the lower guard movement is hindered by the dust nozzle.
OPERATION
CAUTION:
- Be sure to move the tool forward in a straight line gently. Forcing or twisting the tool will result in overheating the motor and dangerous kickback, possibly causing severe injury.
- Always use a front grip and rear handle and firmly hold the tool by both front grip and rear handle during operations. (Fig. 26)
Hold the tool firmly. The tool is provided with both a front grip and rear handle. Use both to best grasp the tool. If both hands are holding saw, they cannot be cut by the blade. Set the base on the workpiece to be cut without the blade making any contact. Then turn the tool on and wait until the blade attains full speed. Now simply move the tool forward over the workpiece surface, keeping it flat and advancing smoothly until the sawing is completed. To get clean cuts, keep your sawing line straight and your speed of advance uniform. If the cut fails to properly follow your intended cut line, do not attempt to turn or force the tool back to the cut line. Doing so may bind the blade and lead to dangerous kickback and possible serious injury. Release switch, wait for blade to stop and then withdraw tool. Realign tool on new cut line, and start cut again. Attempt to avoid positioning which exposes operator to chips and wood dust being ejected from saw. Use eye protection to help avoid injury.
Rip fence (Guide rule) (optional accessory) (Fig. 27)
The handy rip fence allows you to do extra-accurate straight cuts. Simply slide the rip fence up snugly against the side of the workpiece and secure it in position with the clamping screw on the front of the base. It also makes repeated cuts of uniform width possible.
MAINTENANCE
CAUTION:
- Always be sure that the tool is switched off and the battery cartridge is removed before carrying out any work on the tool.
- Clean out the upper and lower guards to ensure there is no accumulated sawdust which may impede the operation of the lower guarding system. A dirty guarding system may limit the proper operation which could result in serious personal injury. The most effective way to accomplish this cleaning is with compressed air. If the dust is being blown out of the guards be sure the proper eye and breathing protection is used.
- Never use gasoline, benzine, thinner, alcohol or the like. Discoloration, deformation or cracks may result.
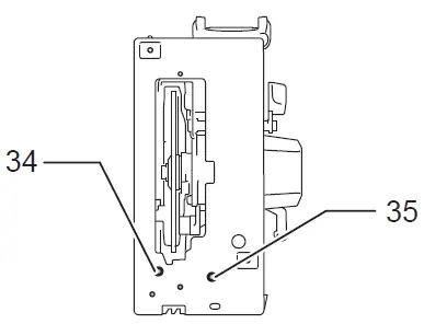
Adjusting for accuracy of 0° and 45° cut (vertical and 45° cut) (Fig. 28 & 29)
This adjustment has been made at the factory. But if it is off, adjust the adjusting screws with a hex wrench while inspecting 0° or 45° the blade with the base using a triangular rule or square rule, etc. Use the 45° stopper for adjusting 45° angle.
Adjusting bevel guide (Fig. 30)
The bevel guide has been factory adjusted. But if it is off, you can adjust it as the following procedure.
To adjust the bevel guide, loosen the two screws. Align the 0° line on the bevel guide with the guide on the base when the base is set to 0° angle.
To maintain product SAFETY and RELIABILITY, repairs, any other maintenance or adjustment should be performed by Makita Authorized Service Centers, always using Makita replacement parts.
OPTIONAL ACCESSORIES
CAUTION: These accessories or attachments are recommended for use with your Makita tool specified in this manual. The use of any other accessories or attachments might present a risk of injury to persons. Only use accessory or attachment for its stated purpose.
If you need any assistance for more details regarding these accessories, ask your local Makita Service Center.
- Saw blades
- Rip fence (Guide rule)
- Guide rail
- Guide rail adapter
- Rule bar
- Dust nozzle
- Hex wrench
- Makita genuine battery and charger
NOTE: Some items in the list may be included in the tool package as standard accessories. They may differ from country to country.
Noise
The typical A-weighted noise level determined according to EN60745:
- Sound pressure level (LpA): 83 dB (A)
- Sound power level (LWA): 94 dB (A)
- Uncertainty (K): 3 dB (A)
Wear ear protection.
Vibration
The vibration total value (tri-axial vector sum) determined according to EN60745:
- Work mode: cutting wood
- Vibration emission (ah,W): 2.5 m/s2 or less
- Uncertainty (K): 1.5 m/s2
- The declared vibration emission value has been measured in accordance with the standard test method and may be used for comparing one tool with another.
- The declared vibration emission value may also be used in a preliminary assessment of exposure.
WARNING:
- The vibration emission during actual use of the power tool can differ from the declared emission value depending on the ways in which the tool is used.
- Be sure to identify safety measures to protect the operator that are based on an estimation of exposure in the actual conditions of use (taking account of all parts of the operating cycle such as the times when the tool is switched off and when it is running idle in addition to the trigger time).
For European countries only
EC Declaration of Conformity
Makita declares that the following Machine(s): Designation of Machine:
Cordless Circular Saw
Model No./Type: DHS680
Conforms to the following European Directives:
2006/42/EC
They are manufactured in accordance with the following standard or standardized documents:
EN60745
The technical file in accordance with 2006/42/EC is available from:
Makita, Jan-Baptist Vinkstraat 2, 3070, Belgium




























