
Cordless Circular Saw
INSTRUCTION MANUAL
HS009G

![]()
![]() | ![]() | ![]() |
![]() | ![]() | ![]() |
![]() | ![]() | ![]() |
![]() | ![]() | ![]() |
![]() | ![]() | ![]() |
![]() | ![]() |
SPECIFICATIONS
| Model: | HS009G | |
| Blade diameter | 235 mm | |
| Max. Cutting depth | at 0° | 85 mm |
| at 45° bevel | 61 mm | |
| at 60° bevel | 44 mm | |
| No-load speed | 4,000 min”‘ | |
| Overall length | 413 mm | |
| Rated voltage | D.C. 36 V – 40 V max | |
| Net weight | 5.1 – 5.7 kg | |
- Due to our continuing program of research and development, the specifications herein are subject to change without notice.
- Specifications and battery cartridges may differ from country to country.
- The weight may differ depending on the attachment(s), including the battery cartridge. The lightest and heaviest combinations, according to EPTA-Procedure 01/2014, are shown in the table.
Applicable battery cartridge and charger
| Battery cartridge | BL4020 / BL4025 / BL4040 / BL4050F* * : Recommended battery |
| Charger | DC40RA / DC40RB / DC40RC |
- Some of the battery cartridges and chargers listed above may not be available depending on your region of residence.
WARNING: Only use the battery cartridges and chargers listed above. Use of any other battery cartridges and chargers may cause injury and/or fire.
Intended use
The tool is intended for performing lengthways and crossways straight cuts and miter cuts with angles in wood while in firm contact with the workpiece. With appropriate Makita genuine saw blades, other materials can also be sawed.
Noise
The typical A-weighted noise level is determined according to EN62841-2-5:
Sound pressure level (LpA): 94 dB(A)
Sound power level (LWA): 105 dB (A)
Uncertainty (K) : 3 dB(A)
NOTE: The declared noise emission value(s) has been measured in accordance with a standard test method and may be used for comparing one tool with another.
NOTE: The declared noise emission value(s) may also be used in a preliminary assessment of exposure.
WARNING: Wear ear protection.
WARNING: The noise emission during actual use of the power tool can differ from the declared value(s) depending on the ways in which the tool is used especially what kind of workpiece is processed.
WARNING: Be sure to identify safety measures to protect the operator that is based on an estimation of exposure in the actual conditions of use (taking account of all parts of the operating cycle such as the times when the tool is switched off and when it is running idle in addition to the trigger time).
Vibration
The vibration total value (tri-axial vector sum) deter-
mined according to EN62841-2-5:
Work mode: cutting wood
Vibration emission (ah,W): 2.5 m/s² or less
Uncertainty (K): 1.5 m/s²
Work mode: cutting metal
Vibration emission (ah,M): 2.5 m/s or less
Uncertainty (K) : 1.5 m/s²
NOTE: The declared vibration total value(s) has been measured in accordance with a standard test method and may be used for comparing one tool with another.
NOTE: The declared vibration total value(s) may also be used in a preliminary assessment of exposure.
WARNING: The vibration emission during actual use of the power tool can differ from the declared value(s) depending on the ways in which the tool is used especially what kind of workpiece is processed.
WARNING: Be sure to identify safety measures to protect the operator that is based on an estimation of exposure in the actual conditions of use (taking account of all parts of the operating cycle such as the times when the tool is switched off and when it is running idle in addition to the trigger time).
EC Declaration of Conformity
For European countries only
The EC declaration of conformity is included as Annex A to this instruction manual.
SAFETY WARNINGS
General power tool safety warnings
WARNING: Read all safety warnings, instructions, illustrations, and specifications provided with this power tool. Failure to follow all instructions listed below may result in electric shock, fire, and/or serious injury.
Save all warnings and instructions for future reference.
The term “power tool” in the warnings refers to your mains-operated (corded) power tool or battery-operated (cordless) power tool.
Cordless circular saw safety warnings
Cutting procedures
- DANGER: Keep hands away from the cutting area and the blade. Keep your second hand on the auxiliary handle, or motor housing. If both hands are holding the saw, they cannot be cut by the blade.
- Do not reach underneath the workpiece. The guard cannot protect you from the blade below the workpiece.
- Adjust the cutting depth to the thickness of the workpiece. Less than a full tooth of the blade teeth should be visible below the workpiece.
- Never hold the workpiece in your hands or across your leg while cutting. Secure the workpiece to a stable platform. It is important to support the work properly to minimize body exposure, blade binding, or loss of control.
► Fig.1 - Hold the power tool by insulated gripping surfaces, when performing an operation where the cutting tool may contact hidden wiring. Contact with a “live” wire will also make exposed metal parts of the power tool “live” and could give the operator an electric shock.
- When ripping, always use a rip fence or straight edge guide. This improves the accuracy of the cut and reduces the chance of blade binding.
- Always use blades with the correct size and shape (diamond versus round) of arbor holes. Blades that do not match the mounting hardware of the saw will run off-center, causing a loss of control.
- Never use damaged or incorrect blade washers or bolts. The blade washers and bolt were specially designed for your saw, for optimum performance and safety of operation. Kickback causes and related warnings
— kickback is a sudden reaction to a pinched, jammed, or misaligned saw blade, causing an uncontrolled saw to lift up and out of the workpiece toward the operator;
— when the blade is pinched or jammed tightly by the kerf closing down, the blade stalls, and the motor reaction drives the unit rapidly back toward the operator;
— if the blade becomes twisted or misaligned in the cut, the teeth at the back edge of the blade can dig into the top surface of the wood causing the blade to climb out of the kerf and jump back toward the operator.
Kickback is the result of saw misuse and/or incorrect operating procedures or conditions and can be avoided by taking proper precautions as given below.
- Maintain a firm grip with both hands on the saw and position your arms to resist kickback forces. Position your body to either side of the blade, but not in line with the blade. Kickback could cause the saw to jump backward, but kickback forces can be controlled by the operator, if proper precautions are taken.
- When the blade is binding, or when interrupting a cut for any reason, release the trigger and hold the saw motionless in the material until the blade comes to a complete stop. Never attempt to remove the saw from the work or pull the saw backward while the blade is in motion or kickback may occur. Investigate and take corrective actions to eliminate the cause of blade binding.
- When restarting a saw in the workpiece, center the saw blade in the kerf so that the saw teeth are not engaged in the material. If a saw blade binds, it may walk up or kick back from the workpiece as the saw is restarted.
- Support large panels to minimize the risk of blade pinching and kickback. Large panels tend to sag under their own weight. Supports must be placed under the panel on both sides, near the line of cut, and near the edge of the panel.
► Fig.2
► Fig.3 - Do not use dull or damaged blades. Unsharpened or improperly set blades produce narrow kerf causing excessive friction, blade binding, and kickback.
- Blade depth and bevel adjusting locking levers must be tight and secure before making the cut. If blade adjustment shifts while cutting, it may cause binding and kickback.
- Use extra caution when sawing into existing walls or other blind areas. The protruding blade may cut objects that can cause kickback.
- ALWAYS hold the tool firmly with both hands. NEVER place your hand, leg, or any part of your body under the tool base or behind the saw, especially when making cross-cuts. If kickback occurs, the saw could easily jump backward over your hand, leading to serious personal injury.
► Fig.4 - Never force the saw. Push the saw forward at a speed so that the blade cuts without slowing. Forcing the saw can cause uneven cuts, loss of accuracy, and possible kickback.
Lower guard function
- Check the lower guard for proper closing before each use. Do not operate the saw if the lower guard does not move freely and close instantly. Never clamp or tie the lower guard into the open position. If the saw is accidentally dropped, the lower guard may be bent. Raise the lower guard with the retracting handle and make sure it moves freely and does not touch the blade or any other part, at all angles and depths of cut.
- Check the operation of the lower guard spring. If the guard and the spring are not operating properly, they must be serviced before use. The lower guard may operate sluggishly due to damaged parts, gummy deposits, or a build-up of debris.
- The lower guard may be retracted manually only for special cuts such as “plunge cuts” and “compound cuts”. Raise the lower guard by the retracting handle and as soon as the blade enters the material, the lower guard must be released. For all other sawing, the lower guard should operate automatically.
- Always observe that the lower guard is covering the blade before placing the saw down on the bench or floor. An unprotected, coasting blade will cause the saw to walk backward, cutting whatever is in its path. Be aware of the time it takes for the blade to stop after the switch is released.
- To check the lower guard, open the lower guard by hand, then release and watch guard closure. Also, check to see that retracting handle does not touch the tool housing. Leaving the blade exposed is VERY DANGEROUS and can lead to serious personal injury.
Additional safety warnings
- Use extra caution when cutting damp wood, pressure-treated lumber, or wood-containing knots. Maintain smooth advancement of the tool without a decrease in blade speed to avoid overheating the blade tips.
- Do not attempt to remove cut material when the blade is moving. Wait until the blade stops before grasping the cut material. Blades coast after turn-off.
- Avoid cutting nails. Inspect for and remove all nails from lumber before cutting.
- Place the wider portion of the saw base on that part of the workpiece which is solidly supported, not on the section that will fall off when the cut is made. If the workpiece is short or small, clamp it down. DO NOT TRY TO HOLD SHORT PIECES BY HAND!
► Fig.5 - Before setting the tool down after completing a cut, be sure that the guard has closed and the blade has come to a complete stop.
- Never attempt to saw with the circular saw held upside down in a vise. This is extremely dangerous and can lead to serious accidents.
► Fig.6 - Some material contains chemicals that may be toxic. Take caution to prevent dust inhalation and skin contact. Follow material supplier safety data.
- Do not stop the blades by lateral pressure on the saw blade.
- Do not use any abrasive wheels.
- Only use the saw blade with the diameter that is marked on the tool or specified in the manual. The use of an incorrectly sized blade may affect the proper guarding of the blade or guard operation which could result in serious personal injury.
- Keep the blade sharp and clean. Gum and wood pitch hardened on blades slows saw and increases the potential for kickback. Keep the blade clean by first removing it from the tool, then cleaning it with gum and pitch remover, hot water or kerosene. Never use gasoline.
- Wear a dust mask and hearing protection when using the tool.
- Always use the saw blade intended for cutting the material that you are going to cut.
- Only use the saw blades that are marked with a speed equal to or higher than the speed marked on the tool.
- (For European countries only) Always use the blade which conforms to EN847-1.
- . Place the tool and the parts on a flat and stable surface. Otherwise, the tool or the parts may fall and cause an injury.
SAVE THESE INSTRUCTIONS.
WARNING: DO NOT let comfort or familiarity with the product (gained from repeated use) replace strict adherence to safety rules for the subject product. MISUSE or failure to follow the safety rules stated in this instruction manual may cause serious personal injury.
Important safety instructions for battery cartridge
- Before using the battery cartridge, read all instructions and cautionary markings on (1) battery charger, (2) battery, and (3) product using the battery.
- Do not disassemble or tamper with the battery cartridge. It may result in a fire, excessive heat, or explosion.
- If the operating time has become excessively shorter, stop operating immediately. It may result in a risk of overheating, possible burns, and even an explosion.
- If electrolyte gets into your eyes, rinse them out with clear water and seek medical attention right away. It may result in loss of your eyesight.
- Do not short the battery cartridge: (1) Do not touch the terminals with any conductive material. (2) Avoid storing battery cartridge in a container with other metal objects such as nails, coins, etc. (3) Do not expose the battery cartridge to water or rain. A battery short can cause a large current flow, overheating, possible burns and even a breakdown.
- Do not store and use the tool and battery cartridge in locations where the temperature may reach or exceed 50 °C (122 °F).
- Do not incinerate the battery cartridge even if it is severely damaged or is completely worn out. The battery cartridge can explode in a fire.
- Do not nail, cut, crush, throw, drop the battery cartridge, or hit a hard object to the battery cartridge. Such conduct may result in a fire, excessive heat, or explosion.
- Do not use a damaged battery.
- The contained lithium-ion batteries are subject to the Dangerous Goods Legislation requirements. For commercial transports e.g. by third parties, forwarding agents, special requirements on packaging and labeling must be observed. For the preparation of the item being shipped, consulting an expert for hazardous material is required. Please also observe possibly more detailed national regulations. Tape or mask off open contacts and pack up the battery in such a manner that it cannot move around in the packaging.
- When disposing of the battery cartridge, remove it from the tool and dispose of it in a safe place. Follow your local regulations relating to the disposal of batteries.
- Use the batteries only with the products specified by Makita. Installing the batteries to non-compliant products may result in a fire, excessive heat, explosion, or leak of electrolyte.
- If the tool is not used for a long period of time, the battery must be removed from the tool.
- During and after use, the battery cartridge may take on heat which can cause burns or low-temperature burns. Pay attention to the handling of hot battery cartridges.
- Do not touch the terminal of the tool immediately after use as it may get hot enough to cause burns.
- Do not allow chips, dust, or soil to stuck into the terminals, holes, and grooves of the battery cartridge. It may cause heating, catching fire, burst, and malfunction of the tool or battery cartridge, resulting in burns or personal injury.
- Unless the tool supports the use of high-voltage electrical power lines, do not use the battery cartridge near high-voltage electrical power lines. It may result in a malfunction or breakdown of the tool or battery cartridge.
- Keep the battery away from children.
CAUTION: Only use genuine Makita batteries. Use of non-genuine Makita batteries, or batteries that have been altered, may result in the battery bursting causing fires, personal injury, and damage. It will also void the Makita warranty for the Makita tool and charger.
Tips for maintaining maximum battery life
- Charge the battery cartridge before completely discharged. Always stop tool operation and charge the battery cartridge when you notice less tool power.
- Never recharge a fully charged battery cartridge. Overcharging shortens the battery service life.
- Charge the battery cartridge with room temperature at 10 °C – 40 °C (50 °F – 104 °F). Let a hot battery cartridge cool down before charging it.
- When not using the battery cartridge, remove it from the tool or the charger.
- Charge the battery cartridge if you do not use it for a long period (more than six months).
Important safety instructions for the wireless unit
- Do not disassemble or tamper with the wireless unit.
- Keep the wireless unit away from young children. If accidentally swallowed, seek medical attention immediately.
- Use the wireless unit only with Makita tools.
- Do not expose the wireless unit to rain or wet conditions.
- Do not use the wireless unit in places where the temperature exceeds 50 °C (122 °F).
- Do not operate the wireless unit in places where medical instruments, such as heart pacemakers are nearby.
- Do not operate the wireless unit in places where automated devices are nearby. If operated, automated devices may develop malfunction or error.
- Do not operate the wireless unit in places under high temperatures or places where static electricity or electrical noise could be generated.
- The wireless unit can produce electromagnetic fields (EMF) but they are not harmful to the user.
- The wireless unit is an accurate instrument. Be careful not to drop or strike the wireless unit.
- Avoid touching the terminal of the wireless unit with bare hands or metallic materials.
- Always remove the battery on the product when installing the wireless unit into it.
- When opening the lid of the slot, avoid the place where dust and water may come into the slot. Always keep the inlet of the slot clean.
- Always insert the wireless unit in the correct direction.
- Do not press the wireless activation button on the wireless unit too hard and/or press the button with an object with a sharp edge.
- Always close the lid of the slot when operating.
- Do not remove the wireless unit from the slot while the power is being supplied to the tool. Doing so may cause a malfunction of the wireless unit.
- Do not remove the sticker on the wireless unit.
- Do not put any stickers on the wireless unit.
- Do not leave the wireless unit in a place where static electricity or electrical noise could be generated.
- Do not leave the wireless unit in a place subject to high heat, such as a car sitting in the sun.
- Do not leave the wireless unit in a dusty or powdery place or in a place corrosive gas could be generated.
- A sudden change of the temperature may bedew the wireless unit. Do not use the wireless unit until the dew is completely dried.
- When cleaning the wireless unit, gently wipe with a dry soft cloth. Do not use benzine, thinner, conductive grease, or the like.
- When storing the wireless unit, keep it in the supplied case or a static-free container.
- Do not insert any devices other than Makita wireless unit into the slot on the tool.
- Do not use the tool with the lid of the slot damaged. Water, dust, and dirt coming into the slot may cause malfunction.
- Do not pull and/or twist the lid of the slot more than necessary. Restore the lid if it comes off from the tool.
- Replace the lid of the slot if it is lost or damaged.
FUNCTIONAL DESCRIPTION
CAUTION: Always be sure that the tool is switched off and the battery cartridge is removed before adjusting or checking the function of the tool.
Installing or removing the battery cartridge
CAUTION: Always switch off the tool before installing or removing of the battery cartridge.
CAUTION: Hold the tool and the battery cartridge firmly when installing or removing the battery cartridge. Failure to hold the tool and the battery cartridge firmly may cause them to slip off your hands and result in damage to the tool and battery cartridge and a personal injury.
► Fig.7: 1. Red indicator 2. Button 3. Battery cartridge
To remove the battery cartridge, slide it from the tool while sliding the button on the front of the cartridge.
To install the battery cartridge, align the tongue on the battery cartridge with the groove in the housing and slip it into place. Insert it all the way until it locks in place with a little click. If you can see the red indicator as shown in the figure, it is not locked completely.
CAUTION: Always install the battery cartridge fully until the red indicator cannot be seen. If not, it may accidentally fall out of the tool, causing injury to you or someone around you.
CAUTION: Do not install the battery cartridge forcibly. If the cartridge does not slide in easily, it is not being inserted correctly.
Tool/battery protection system
The tool is equipped with a tool/battery protection system. This system automatically cuts off power to the motor to extend tool and battery life. The tool will automatically stop during operation if the tool or battery is placed under one of the following conditions.
Overload protection
When the tool/battery is operated in a manner that causes it to draw an abnormally high current, the tool automatically stops. In this situation, turn the tool off and stop the application that caused the tool to become overloaded. Then turn the tool on to restart.
Overheat protection
When the tool/battery is overheated, the tool stops automatically. In this situation, let the tool cool down before turning the tool on again.
NOTE: When the tool is overheated, the lamp blinks.
Overdischarge protection
When the battery capacity becomes low, the tool stops automatically. If the product does not operate even when the switches are operated, remove the batteries from the tool and charge the batteries.
Protections against other causes
A protection system is also designed for other causes that could damage the tool and allows the tool to stop automatically. Take all the following steps to clear the causes, when the tool has been brought to a temporary halt or stopped in operation.
- Turn the tool off, and then turn it on again to restart.
- Charge the battery(ies) or replace it/them with recharged battery(ies).
- Let the tool and battery(ies) cool down.
If no improvement can be found by restoring the protection system, then contact your local Makita Service Center.
Indicating the remaining battery capacity
Press the check button on the battery cartridge to indicate the remaining battery capacity. The indicator lamps light up for a few seconds.
► Fig.8: 1. Indicator lamps 2. Check button
| Indicator lamps | Remaining capacity | ||
|
|
| |
| 75% to 100% | |||
| 50% to 75% | |||
| 25% to 50% | |||
| 0% to 25% | |||
| Charge the battery. | |||
![]() | The battery may have malfunctioned. | ||
NOTE: Depending on the conditions of use and the ambient temperature, the indication may differ slightly from the actual capacity.
NOTE: The first (far left) indicator lamp will blink when the battery protection system works.
Switch action
WARNING: Before installing the battery cartridge into the tool, always check to see that the switch trigger actuates properly and returns to the “OFF” position when released.
WARNING: NEVER defeat the lock-off button by taping down or some other means. A switch with a negated lock-off button may result in unintentional operation and serious personal injury.
WARNING: NEVER use the tool if it runs when you simply pull the switch trigger without pressing the lock-off button. A switch in need of repair may result in unintentional operation and serious personal injury. Return the tool to a Makita service center for proper repairs BEFORE further usage.
To prevent the switch trigger from being accidentally pulled, a lock-off button is provided. To start the tool, depress the lock-off button and pull the switch trigger. Release the switch trigger to stop.
► Fig.9: 1. Switch trigger 2. Lock-off button
NOTICE: Do not pull the switch trigger hard without pressing in the lock-off button. This can cause switch breakage.
CAUTION: The tool starts to brake the circular saw blade rotation immediately after you release the switch trigger. Hold the tool firmly to respond to the reaction of the brake when releasing the switch trigger. Sudden reactions can drop the tool off your hand and can cause a personal injury.
Adjusting the depth of cut
CAUTION: After adjusting the depth of the cut, always tighten the lever securely.
Loosen the lever on the depth guide and move the base up or down. At the desired depth of cut, secure the base by tightening the lever.
For cleaner, safer cuts set cut depth so that no more than one blade tooth projects below the workpiece. Using proper cut depth helps to reduce the potential for dangerous KICKBACKS which can cause personal injury.
► Fig.10: 1. Lever
NOTICE: If the base doesn’t slide up or down smoothly, the depth guide may have been tilted. In this case, adjust the depth guide (refer to the section about adjusting the depth guide).
Bevel cutting
CAUTION: After adjusting the bevel angle, always tighten the clamping screws securely.
Loosen the clamping screws. Set for the desired angle by tilting accordingly, then tighten the clamping screws securely.
► Fig.11: 1. Clamping screw
Positive stopper
The positive stopper is useful for setting the designated angle quickly. Turn the positive stopper so that the arrow on it points to your desired bevel angle (around 22.5°/45°/60°). Loosen the lever and then tilt the tool base until it stops. The position where the tool base stops is the angle you set with the positive stopper. Tighten the lever with the tool base at this position.
► Fig.12: 1. Positive stopper
-1°-bevel cutting
To perform -1°-bevel cutting, loosen the clamping screws and press the levers toward the direction of the arrow in the figure. Then set the bevel angle to -1° and tighten the clamping screws.
► Fig.13: 1. Lever
Sighting
For straight cuts, align the 0° position on the front of the base with your cutting line. For 45° bevel cuts, align the 45° position with it.
► Fig.14: 1. Cutting line (0° position) 2. Cutting line (45° position)
Lighting the lamp
CAUTION: Do not look in the light or see the source of light directly.
To turn on the lamp without running the tool, pull the switch trigger without pressing the lock-off button.
To turn on the lamp with the tool running, press and hold the lock-off button and pull the switch trigger.
The lamp goes out 10 seconds after releasing the switch trigger.
► Fig.15: 1. Lamp
NOTE: Use a dry cloth to wipe the dirt off the lens of the lamp. Be careful not to scratch the lens or the lamp, or it may lower the illumination.
Electric brake
This tool is equipped with an electric blade brake. If the tool consistently fails to quickly stop the circular saw blade after switch lever release, have the tool serviced at a Makita service center.
CAUTION: The blade brake system is not a substitute for a blade guard. NEVER USE A TOOL WITHOUT A FUNCTIONING BLADE GUARD. SERIOUS PERSONAL INJURY CAN RESULT.
Electronic function
The tools equipped with electronic functions are easy to operate because of the following feature(s).
Soft start feature
Soft start because of suppressed starting shock.
Constant speed control
Electronic speed control for obtaining constant speed.
Possible to get a fine finish, because the rotating speed is kept constant even under load conditions.
ASSEMBLY
CAUTION: Always be sure that the tool is switched off and the battery cartridge is removed before carrying out any work on the tool.
Hex wrench storage
When not in use, store the hex wrench as shown in the figure to keep it from being lost.
► Fig.16: 1. Hex wrench
Installing sub base
Install the sub base and tighten the clamping screws securely as shown in the figure.
Always use the tool with the sub-base unless when using the guide rail.
► Fig.17: 1. Clamping screw 2. Sub-base
Installing or removing circular saw blade
CAUTION: Be sure the circular saw blade is installed with teeth pointing up at the front of the tool.
CAUTION: Use only the Makita wrench to install or remove the circular saw blade.
- Loosen the lever on the depth guide and move the base down.
► Fig.18: 1. Lever - Install the inner flange, ring (country-specific), circular saw blade, outer flange, and hex bolt. At this time, align the direction of the arrow on the blade with
the arrow on the tool.
For tool without the ring
► Fig.19: 1. Hex bolt 2. Outer flange 3. Circular saw blade 4. Inner flange 5. Arrow on the circular saw blade 6. Arrow on the tool
For the tool with the ring
► Fig.20: 1. Hex bolt 2. Outer flange 3. Circular saw blade 4. Ring 5. Inner flange 6. Arrow on the circular saw blade 7. Arrow on the tool - Press the shaft lock fully so that the circular saw blade cannot revolve and use the hex wrench to tighten the hex bolt.
► Fig.21: 1. Shaft lock 2. Hex wrench 3. Loosen 4. Tighten
To remove the circular saw blade, follow the installation procedure in reverse.
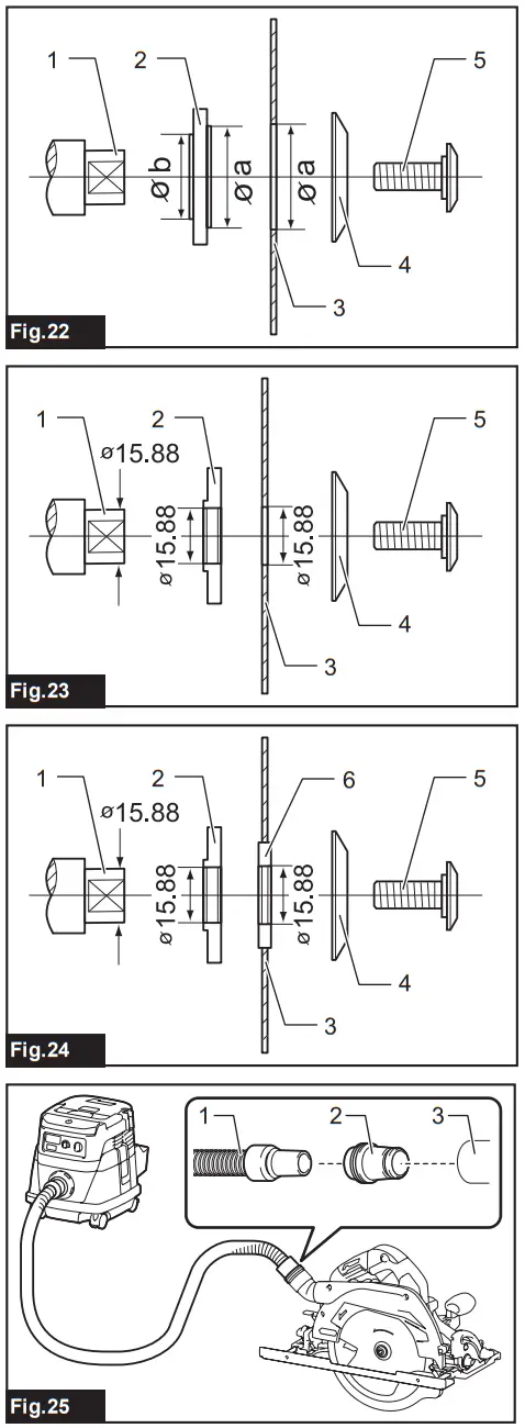
For tool with an inner flange other than 15.88 mm, hole-diameter saw blade
The inner flange has a certain diameter protrusion on one side of it and a different diameter protrusion on the other side. Choose the correct side on which protrusion fits into the saw blade hole perfectly. Mount the inner flange onto the mounting shaft so that the correct side of protrusion on the inner flange faces outward and then place the saw blade and outer flange.
► Fig.22: 1. Mounting shaft 2. Inner flange 3. Circular saw blade 4. Outer flange 5. Hex bolt
WARNING: BE SURE TO TIGHTEN THE HEX BOLT CLOCKWISE SECURELY. Also, be careful not to tighten the bolt forcibly. Slipping your hand from the hex wrench can cause a personal injury.
WARNING: Make sure that the protrusion “a” on the inner flange that is positioned outside fits into the saw blade hole “a” perfectly. Mounting the blade on the wrong side can result in dangerous vibrations.
For tool with the inner flange for a 15.88 mm hole-diameter saw blade (country-specific)
Mount the inner flange with its recessed side facing outward onto the mounting shaft and then place the circular saw blade (with the ring attached if needed), outer flange, and hex bolt.
For tool without the ring
► Fig.23: 1. Mounting shaft 2. Inner flange 3. Circular saw blade 4. Outer flange 5. Hex bolt
For the tool with the ring
► Fig.24: 1. Mounting shaft 2. Inner flange 3. Circular saw blade 4. Outer flange 5. Hex bolt 6. Ring
WARNING: BE SURE TO TIGHTEN THE HEX BOLT CLOCKWISE SECURELY. Also, be careful not to tighten the bolt forcibly. Slipping your hand from the hex wrench can cause a personal injury.
WARNING: If the ring is needed to mount the blade onto the spindle, always be sure that the correct ring for the blade’s arbor hole you intend to use is installed between the inner and the outer flanges. Use of the incorrect arbor hole ring may result in the improper mounting of the blade causing blade movement and severe vibration resulting in possible loss of control during operation and in serious personal injury.
Blade guard cleaning
When changing the circular saw blade, make sure to also clean the upper and lower blade guards of accumulated sawdust as discussed in the Maintenance section. Such efforts do not replace the need to check lower guard operation before each use.
Connecting a vacuum cleaner
Optional accessory
When you wish to perform the clean-cutting operation, connect a Makita vacuum cleaner to your tool. Connect a hose of the vacuum cleaner to the dust nozzle using the front cuff 24.
► Fig.25: 1. Hose of the vacuum cleaner 2. Front cuff 24 3. Dust nozzle
Adjusting angle of dust nozzle
The angle of the dust nozzle can be adjusted by rotating the dust nozzle.
When operating the tool without connecting a vacuum cleaner, bring the dust nozzle downward to prevent the operator from being exposed to sawdust.
When operating the tool with connecting a vacuum cleaner, bring the dust nozzle upward to keep the hose of the vacuum cleaner from getting caught in the workpiece or the guide rail.
► Fig.26: 1. Dust nozzle
OPERATION
This tool is intended to cut wood products. With appropriate Makita genuine circular saw blades, the following materials can also be sawed:
- Aluminum products
- Mineral contained plastic
Refer to our website or contact your local Makita dealer for the correct circular saw blades to be used for the material to be cut.
Do not use the tool without the sub base unless when using the guide rail.
CAUTION: When cutting plastic materials, avoid melting them by overheating the blade tip.
Checking blade guard function
Remove the battery cartridge.
Set the bevel angle to 0°, and then retract the lower guard manually to the end and release it. The lower guard is properly functioning if;
— it is retracted above the base without any hindrance and;
— it automatically returns and contacts the stopper.
► Fig.27: 1. Upper guard 2. Lower guard 3. Base 4. Stopper 5. Open 6. Close
If the lower guard is not functioning properly, check if sawdust is accumulated inside of the upper and lower guards. If the lower guard is not functioning properly even after removing dust, have your tool serviced at a Makita service center.
Cutting operation
CAUTION: Wear a dust mask when performing a cutting operation.
CAUTION: Be sure to move the tool forward in a straight line gently. Forcing or twisting the tool will result in overheating the motor and dangerous kickback, possibly causing severe injury.
NOTE: When the battery cartridge temperature is low, the tool may not work to its full capacity. At this time, for example, use the tool for a light-duty cut for a while until the battery cartridge warms up as high as room temperature. Then, the tool can work to its full capacity.
► Fig.28
Hold the tool firmly. The tool is provided with both a front grip and a rear handle. Use both to best grasp the tool. If both hands are holding the saw, they cannot be cut by the circular saw blade. Set the base on the workpiece to be cut without the circular saw blade making any contact. Then turn the tool on and wait until the circular saw blade attains full speed. Now simply move the tool forward over the workpiece surface, keeping it flat and advancing smoothly until the sawing is completed. To get clean cuts, keep your sawing line straight and your speed of advance uniform. If the cut fails to properly follow your intended cut line, do not attempt to turn or force the tool back to the cut line. Doing so may bend the circular saw blade and lead to dangerous kickback and possible serious injury. Release the switch, wait for the circular saw blade to stop, and then withdraw the tool. Realign the tool on the new cut line, and start cutting again. Attempt to avoid positioning which exposes the operator to chips and wood dust being ejected from the saw. Use eye protection to help avoid injury.
NOTE: When making miter cuts etc., sometimes the lower guard does not move easily. At that time, use the retracting lever to raise the lower guard for starting cut, and as soon as the blade enters the material, release the retracting lever.
► Fig.29: 1. Retracting lever
Sub-base (Guide rule)
CAUTION: Make sure that the sub-base (guide rule) is securely installed in the correct position before use. Improper attachment may cause dangerous kickback.
By using the sub-base as a guide rule, you can perform extra-accurate straight cuts. Loosen the clamping screws and slide the sub-base out from the tool then insert it upside down.
► Fig.30: 1. Clamping screw 2. Sub-base
Simply slide the fence of the sub-base snugly against the side of the workpiece and secure it in position with the clamping screws. It also makes repeated cuts of uniform width possible.
► Fig.31: 1. Clamping screw 2. Sub-base
Guide rail
Optional accessory
CAUTION: Always be sure that the tool is switched off and the battery cartridge is removed before loosening the adjusting screws on the tool base.
NOTICE: Remove the sub base when using the guide rail.
Place the tool on the rear end of the guide rail. Turn two adjusting screws on the tool base so that the tool slides smoothly without a clatter. Hold both the front grip and rear handle of the tool firmly. Install the battery cartridge. Turn on the tool and cut the splinter-guard along the full length with a stroke. Now the edge of the splinter-guard corresponds to the cutting edge.
► Fig.32: 1. Adjusting screws
When bevel cutting with the guide rail, use the slide lever to prevent the tool from falling over. Move the slide lever on the tool base in the direction of the arrow so that it engages the undercut groove in the guide rail.
► Fig.33: 1. Slide lever
WIRELESS ACTIVATION FUNCTION
What you can do with the wireless activation function
The wireless activation function enables clean and comfortable operation. By connecting a supported vacuum cleaner to the tool, you can run the vacuum cleaner automatically along with the switch operation of the tool.
► Fig.34
To use the wireless activation function, prepare the following items:
- A wireless unit (optional accessory)
- A vacuum cleaner that supports the wireless activation function
The overview of the wireless activation function setting is as follows. Refer to each section for detailed procedures.
- Installing the wireless unit
- Tool registration for the vacuum cleaner
- Starting the wireless activation function
Installing the wireless unit
Optional accessory
CAUTION: Place the tool on a flat and stable surface when installing the wireless unit.
NOTICE: Clean the dust and dirt on the tool before installing the wireless unit. Dust or dirt may cause malfunction if it comes into the slot of the wireless unit.
NOTICE: To prevent the malfunction caused by static, touch a static discharging material, such as a metal part of the tool, before picking up the wireless unit.
NOTICE: When installing the wireless unit, always be sure that the wireless unit is inserted in the correct direction and the lid is completely closed.
- Open the lid on the tool as shown in the figure.
► Fig.35: 1. Lid - Insert the wireless unit into the slot and then close the lid. When inserting the wireless unit, align the projections with the recessed portions on the slot.
► Fig.36: 1. Wireless unit 2. Projection 3. Lid 4. Recessed portion
When removing the wireless unit, open the lid slowly. The hooks on the back of the lid will lift the wireless unit as you pull up the lid.
► Fig.37: 1. Wireless unit 2. Hook 3. Lid After removing the wireless unit, keep it in the supplied case or a static-free container.
NOTICE: Always use the hooks on the back of the lid when removing the wireless unit. If the hooks do not catch the wireless unit, close the lid completely and open it slowly again.
Tool registration for the vacuum cleaner
NOTE: A Makita vacuum cleaner supporting the wireless activation function is required for the tool registration.
NOTE: Finish installing the wireless unit to the tool before starting the tool registration.
NOTE: During the tool registration, do not pull the switch trigger or turn on the power switch on the vacuum cleaner.
NOTE: Refer to the instruction manual of the vacuum cleaner, too.
If you wish to activate the vacuum cleaner along with the switch operation of the tool, finish the tool registration beforehand.
- Install the batteries to the vacuum cleaner and the tool.
- Set the standby switch on the vacuum cleaner to “AUTO”.
► Fig.38: 1. Stand-by switch - Press the wireless activation button on the vacuum cleaner for 3 seconds until the wireless activation lamp blinks in green. And then press the wireless activation button on the tool in the same way.
► Fig.39: 1. Wireless activation button 2. Wireless activation lamp
If the vacuum cleaner and the tool are linked successfully, the wireless activation lamps will light up in green for 2 seconds and start blinking in blue.
NOTE: The wireless activation lamps finish blinking in green after 20 seconds elapsed. Press the wireless activation button on the tool while the wireless activation lamp on the
cleaner is blinking. If the wireless activation lamp does not blink in green, push the wireless activation button briefly and hold it down again.
NOTE: When performing two or more tool registrations for one vacuum cleaner, finish the tool registration one by one.
Starting the wireless activation function
NOTE: Finish the tool registration for the vacuum cleaner prior to the wireless activation.
NOTE: Refer to the instruction manual of the vacuum cleaner, too.
After registering a tool to the vacuum cleaner, the vacuum cleaner will automatically run along with the switch operation of the tool.
- Install the wireless unit to the tool.
- Connect the hose of the vacuum cleaner with the tool.
► Fig.40 - Set the standby switch on the vacuum cleaner to “AUTO”.
► Fig.41: 1. Stand-by switch - Push the wireless activation button on the tool briefly. The wireless activation lamp will blink in blue.
► Fig.42: 1. Wireless activation button 2. Wireless activation lamp - Pull the switch trigger of the tool. Check if the vacuum cleaner runs while the switch trigger is being pulled.
To stop the wireless activation of the vacuum cleaner, push the wireless activation button on the tool.
NOTE: The wireless activation lamp on the tool will stop blinking in blue when there is no operation for 2 hours. In this case, set the standby switch on the vacuum cleaner to “AUTO” and push the wireless activation button on the tool again.
NOTE: The vacuum cleaner starts/stops with a delay.
There is a time lag when the vacuum cleaner detects a switch operation of the tool.
NOTE: The transmission distance of the wireless unit may vary depending on the location and surrounding circumstances.
NOTE: When two or more tools are registered to one vacuum cleaner, the vacuum cleaner may start running even if you do not pull the switch trigger because another user is using the wireless activation function.
Description of the wireless activation lamp status
► Fig.43: 1. Wireless activation lamp
The wireless activation lamp shows the status of the wireless activation function. Refer to the table below for the meaning of the lamp status.
| Status | Wireless activation lamp | Description | |||
| Color | Duration | ||||
| Standby | Blue | 2 hours | The wireless activation of the vacuum cleaner is available. The lamp will automatically turn off when no operation is performed for 2 hours. | ||
| When the tool is running. | The wireless activation of the vacuum cleaner is available and the tool is running. | ||||
| Tool registration | Green | 20 seconds | Ready for the tool registration. Waiting for the registration by the vacuum cleaner. | ||
| 2 seconds | The tool registration has been finished. The wireless activation lamp will start blinking in blue. | ||||
| Canceling tool registration | Red | 20 seconds | Ready for the cancellation of the tool registration. Waiting for the cancellation by the vacuum cleaner. | ||
| 2 seconds | The cancellation of the tool registration has been finished. The wireless activation lamp will start blinking in blue. | ||||
| Others | Red | 3 seconds | The power is supplied to the wireless unit and the wireless activation function is starting up. | ||
| Off | – | – | The wireless activation of the vacuum cleaner is stopped. | ||
Canceling tool registration for the vacuum cleaner
Perform the following procedure when canceling the tool registration for the vacuum cleaner.
- Install the batteries to the vacuum cleaner and the tool.
- Set the standby switch on the vacuum cleaner to “AUTO”.
► Fig.44: 1. Stand-by switch - Press the wireless activation button on the vacuum cleaner for 6 seconds. The wireless activation lamp blinks in green and then becomes red. After that, press the wireless activation button on the tool in the same way.
► Fig.45: 1. Wireless activation button 2. Wireless activation lamp
If the cancellation is performed successfully, the wireless activation lamps will light up in red for 2 seconds and start blinking in blue.
NOTE: The wireless activation lamps finish blinking in red after 20 seconds elapsed. Press the wireless activation button on the tool while the wireless activation lamp on the cleaner is blinking. If the wireless activation lamp does not blink in red, push the wireless activation button briefly and hold it down again.
Troubleshooting for the wireless activation function
Before asking for repairs, conduct your own inspection first. If you find a problem that is not explained in the manual, do not attempt to dismantle the tool. Instead, ask Makita Authorized Service Centers, always using Makita replacement parts for repairs.
| State of abnormality | Probable cause (malfunction) | Remedy |
| The wireless activation lamp does not light/blink. | The wireless unit is not installed into the tool. The wireless unit is improperly installed into the tool. | Install the wireless unit correctly. |
| The terminal of the wireless unit and/or the slot is dirty. | Gently wipe off dust and dirt on the terminal of the wireless unit and clean the slot. | |
| The wireless activation button on the tool has not been pushed. | Push the wireless activation button on the tool briefly. | |
| The standby switch on the vacuum cleaner is not set to “AUTO”. | Set the standby switch on the vacuum cleaner to “AUTO”. | |
| No power supply | Supply the power to the tool and the vacuum cleaner. | |
| Cannot finish tool registration/can-ceiling tool registration successfully. | The wireless unit is not installed into the tool. The wireless unit is improperly installed into the tool. | Install the wireless unit correctly. |
| The terminal of the wireless unit and/or the slot is dirty. | Gently wipe off dust and dirt on the terminal of the wireless unit and clean the slot. | |
| The standby switch on the vacuum cleaner is not set to “AUTO”. | Set the standby switch on the vacuum cleaner to “AUTO”. | |
| No power supply | Supply the power to the tool and the vacuum cleaner. | |
| Incorrect operation | Push the wireless activation button briefly and perform the tool registration/cancellation procedures again. | |
| The tool and vacuum cleaner are away from each other (out of the transmission range). | Get the tool and vacuum cleaner closer to each other. The maximum transmission distance is approximately 10 m however it may vary according to the circumstances. | |
| Before finishing the tool registration/cancellation; – the switch trigger on the tool is pulled or; – the power button on the vacuum cleaner is turned on. | Push the wireless activation button briefly and perform the tool registration/cancellation procedures again. | |
| The tool registration procedures for the tool or vacuum cleaner have not been finished. | Perform the tool registration procedures for both the tool and the vacuum cleaner at the same time. | |
| Radio disturbance by other appliances generates high-intensity radio waves. | Keep the tool and vacuum cleaner away from the appliances such as Wi-Fi devices and microwave ovens. | |
| The vacuum cleaner does not run along with the switch operation of the tool. | The wireless unit is not installed into the tool. The wireless unit is improperly installed into the tool. | Install the wireless unit correctly. |
| The terminal of the wireless unit and/or the slot is dirty. | Gently wipe off dust and dirt on the terminal of the wireless unit and clean the slot. | |
| The wireless activation button on the tool has not been pushed. | Push the wireless activation button briefly and make sure that the wireless activation lamp is blinking in blue. | |
| The standby switch on the vacuum cleaner is not set to “AUTO”. | Set the standby switch on the vacuum cleaner to “AUTO”. | |
| More than 10 tools are registered to the vacuum cleaner. | Perform the tool registration again. If more than 10 tools are registered to the vacuum cleaner, the tool registered earliest will be canceled automatically. | |
| The vacuum cleaner erased all tool registrations. | Perform the tool registration again. | |
| No power supply | Supply the power to the tool and the vacuum cleaner. | |
| The tool and vacuum cleaner are away from each other (out of the transmission range). | Get the tool and vacuum cleaner closer to each other. The maximum transmission distance is approximately 10 m however it may vary according to the circumstances. | |
| Radio disturbance by other appliances generates high-intensity radio waves. | Keep the tool and vacuum cleaner away from the appliances such as Wi-Fi devices and microwave ovens. | |
| The vacuum cleaner runs while the tool’s switch trigger is not pulled. | Other users are using the wireless activation of the vacuum cleaner with their tools. | Turn off the wireless activation button of the other tools or cancel the tool registration of the other tools. |
MAINTENANCE
CAUTION: Always be sure that the tool is switched off and the battery cartridge is removed before attempting to perform inspection or maintenance.
CAUTION: Clean out the upper and lower guards to ensure there is no accumulated sawdust that may impede the operation of the lower guarding system. A dirty guarding system may limit the proper operation which could result in serious personal injury. The most effective way to accomplish this cleaning is with compressed air. If the dust is being blown out of the guards, be sure the proper eye and breathing protection is used.
CAUTION: After each use, wipe off the sawdust on the tool. Fine sawdust may come inside the tool and cause a malfunction or a fire.
NOTICE: Never use gasoline, benzene, thinner, alcohol, or the like. Discoloration, deformation, or cracks may result.
To maintain product SAFETY and RELIABILITY, repairs, and any other maintenance or adjustment should be performed by Makita Authorized or Factory Service Centers, always using Makita replacement parts.
Adjusting 0°-cut or 45°-cut accuracy
NOTICE: Do not engage the levers for a -1° bevel angle when adjusting 0°-cut accuracy.
NOTICE: Do not engage the positive stopper for 22.5° or 60° bevel angle when adjusting 45°-cut accuracy.
This adjustment has been made at the factory. But if it is off, you can adjust it as the following procedure.
- Loosen the clamping screws on the front and rear of the tool so that the bevel angle can be changed. Set the positive stopper to a 45° bevel angle position if you are going to adjust 45°-cut accuracy.
► Fig.46: 1. Clamping screw 2. Positive stopper - Make the base perpendicular or 45° to the circular saw blade using a triangular rule by turning the adjusting screw with a hex wrench. You can also use a square rule to adjust the 0° angle.
► Fig.47: 1. Triangular rule
► Fig.48: 1. Adjusting screw for 0° angle 2. Adjusting screw for 45° angle - Tighten the clamping screws and then make a test cut to check if the desired angle is obtained.
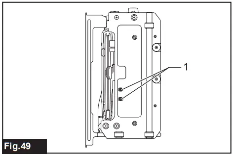
Adjusting the depth guide
If the base does not slide up or down smoothly, the depth guide may have been tilted. You can adjust the depth guide as follows:
- Make the base perpendicular, and set the depth of cut to the deepest.
- Loosen the adjusting screws for the depth guide.
The depth guide automatically adjusts its position. - Tighten the adjusting screws for the depth guide.
- Adjust the parallelism by referring to the section for parallelism.
► Fig.49: 1. Adjusting screws for the depth guide
Adjusting the parallelism
CAUTION: Keep the parallelism accurate.
Otherwise, the circular saw blade may bite into the guide rail and the damaged guide rail may cause an injury.
This adjustment has been made at the factory. But if it is off, you can adjust it as the following procedure.
- Set the tool to the maximum cutting depth.
- Make sure all levers and screws are tightened.
- Loosen the screws shown in the figure.
- While opening the lower guard, move the rear of the base so that the distance between A and B becomes equal.
► Fig.50: 1. Screw 2. Base - Tighten the screws and make a test cut to check the parallelism.
OPTIONAL ACCESSORIES
CAUTION: These accessories or attachments are recommended for use with your Makita tool specified in this manual. The use of any other accessories or attachments might present a risk of injury to persons. Only use accessory or attachment for its stated purpose.
If you need any assistance with more details regarding these accessories, ask your local Makita Service Center.
- Circular saw blade
- Sub-base
- Guide rail
- Bevel guide
- Clamp
- Sheet
- Rubber sheet
- Position sheet
- Hex wrench
- Front cuff 24
- Wireless unit
- Makita genuine battery and charger
NOTE: Some items in the list may be included in the tool package as standard accessories. They may differ from country to country.
| Makita Europe N.V. | Jan-Baptist Vinkstraat 2, 3070 Kortenberg, Belgium |
| Makita Corporation | 3-11-8, Sumiyoshi-cho, Anjo, Aichi 446-8502 Japan |





































